ISO 7571:1986
(Main)Woodworking machines — Surface planing machines with cutterblock for one-side dressing — Nomenclature and acceptance conditions
Woodworking machines — Surface planing machines with cutterblock for one-side dressing — Nomenclature and acceptance conditions
Specifies the geometrical tests for these woodworking planing machines, and gives the corresponding permissible deviations which apply to machines for general purpose use and normal accuracy. Gives also the terminologie appropriate to each part of the machine (in English and French as well as the equivalent terms in German, Spanish, Italian and Swedish). It deals only with the verification of accuracy of the machine. It does not apply to the testing of the running of the machine, nor to machine characteristics which should generally be checked before the accuracy is tested. Does not impose any practical test.
Machines à bois — Machines à dégauchir sur une face avec porte-outil cylindrique à lames — Nomenclature et conditions de réception
General Information
- Status
- Withdrawn
- Publication Date
- 19-Nov-1986
- Withdrawal Date
- 19-Nov-1986
- Technical Committee
- ISO/TC 39/SC 4 - Woodworking machines
- Drafting Committee
- ISO/TC 39/SC 4 - Woodworking machines
- Current Stage
- 9599 - Withdrawal of International Standard
- Start Date
- 02-Mar-2018
- Completion Date
- 14-Feb-2026
Relations
- Consolidated By
ISO 3377-1:2002 - Leather — Physical and mechanical tests — Determination of tear load — Part 1: Single edge tear - Effective Date
- 06-Jun-2022
Buy Documents
ISO 7571:1986 - Woodworking machines -- Surface planing machines with cutterblock for one-side dressing -- Nomenclature and acceptance conditions
ISO 7571:1986 - Machines a bois -- Machines a dégauchir sur une face avec porte-outil cylindrique a lames -- Nomenclature et conditions de réception
Get Certified
Connect with accredited certification bodies for this standard
Gozdarski inštitut Slovenije
Slovenian Forestry Institute. Forest management certification support, timber testing.
Sponsored listings
Frequently Asked Questions
ISO 7571:1986 is a standard published by the International Organization for Standardization (ISO). Its full title is "Woodworking machines — Surface planing machines with cutterblock for one-side dressing — Nomenclature and acceptance conditions". This standard covers: Specifies the geometrical tests for these woodworking planing machines, and gives the corresponding permissible deviations which apply to machines for general purpose use and normal accuracy. Gives also the terminologie appropriate to each part of the machine (in English and French as well as the equivalent terms in German, Spanish, Italian and Swedish). It deals only with the verification of accuracy of the machine. It does not apply to the testing of the running of the machine, nor to machine characteristics which should generally be checked before the accuracy is tested. Does not impose any practical test.
Specifies the geometrical tests for these woodworking planing machines, and gives the corresponding permissible deviations which apply to machines for general purpose use and normal accuracy. Gives also the terminologie appropriate to each part of the machine (in English and French as well as the equivalent terms in German, Spanish, Italian and Swedish). It deals only with the verification of accuracy of the machine. It does not apply to the testing of the running of the machine, nor to machine characteristics which should generally be checked before the accuracy is tested. Does not impose any practical test.
ISO 7571:1986 is classified under the following ICS (International Classification for Standards) categories: 01.040.79 - Wood technology (Vocabularies); 79.120.10 - Woodworking machines. The ICS classification helps identify the subject area and facilitates finding related standards.
ISO 7571:1986 has the following relationships with other standards: It is inter standard links to ISO 3377-1:2002. Understanding these relationships helps ensure you are using the most current and applicable version of the standard.
ISO 7571:1986 is available in PDF format for immediate download after purchase. The document can be added to your cart and obtained through the secure checkout process. Digital delivery ensures instant access to the complete standard document.
Standards Content (Sample)
International Standard
INTERNATIONAL ORGANIZATION FOR STANDARDIZATION.MEIKAYHAPOC(HAR OPrAHM3ALWlfl fl0 CTAH,!JAPTM3AL&lM.ORGANISATlON INTERNATIONALE DE NORMALISATION
Woodworking machines - Surface planing machines with
.
. .
cutterblock for one-side dressing - Nomenclature and
acceptance conditions
Machines & bois - Machines A d&gauchir SW une face avec porte-outil cylindrique - Nomenclature et conditions de rtkeption
First edition - 1986-11-15
Ref. No. ISO 7571-1986 (EI
UDC 674.066 : 621.91225
w
-
Descriptors : machine tools, woodworking machinety, planing machines, surface planing machines, vqxabulary, tests, measurement, accuracy.
5:
Price based on 8 pages
Foreword
ISO (the International Organization for Standardization) is a worldwide federation of
national Standards bodies (ISO member bodies). The work of preparing International
Standards is normally carried out through ISO technical committees. Esch member
body interested in a subject for which a technical committee has been established has
the right to be represented on that committee. International organizations, govern-
mental and non-governmental, in liaison with ISO, also take patt in the work.
Draft International Standards adopted by the technical committees are circulated to
the member bodies for approval before their acceptance as International Standards by
the ISO Council. They are approved in accordance with ISO procedures requiring at
least 75 % approval by the member bodies voting.
International Standard ISO 7571 was prepared by Technical Committee ISO/TC 39,
Machine tools.
Users should note that all International Standards undergo revision from time to time
and that any reference made herein to any other International Standard implies its
latest edition, unless otherwise stated.
Internationai Organkation for Standardkation, 1986 0
Printed in Switzerland
~~
INTERNATIONAL STANDARD ISO 75714986 (EI
Woodworking machines - Surface planing machines with
cutterblock for one-side dressing - Nomenclature and
acceptance conditions
1 Scope and field of application 3 Preliminary remarks
This International Standard specifies the appropriate ter-
minology for each patt of the machine and, with reference to
3.1 In this International Standard all dimensions and per-
ISO 230/1, the geometrical tests for surface planing machines missible deviations are expressed in millimetres.
with cutterblock for one-side dressing; it also gives the cor-
responding permissible deviations which apply to machines of
general purpose use and normal accuracy. 3.2 To apply this International Standard, reference should be
made to ISO 230/1, especially for installation of the machine
NOTE - In addition to terms used in two of the three official ISO
before testing, the warming up of the cutterblock and other
languages (English and French), this International Standard gives the
moving Parts, and description of measuring methods. The
equivalent terms in German, Spanish, Italian and Swedish in an annex;
measuring instruments shall not permit errors over 1/3 of the
these have been included at the request of Technical Committee
tolerantes being checked.
ISO/TC 39 and are published under the responsibility of the member
bodies for Germany, F.R. (DIN), Spain (IRANOR), Italy (UNI) and
Sweden (SIS). However, only the terms given in the official languages
3.3 The sequence in which the geometrical tests are given is
tan be considered as ISO terms.
related to the sub-assemblies of the machine and this in no way
This International Standard deals only with the verification of defines the practical Order of testing. In Order to make the
accuracy of the machine. lt does not apply to testing the mounting of instruments or gauging easier, tests may be
running of the machine (vibrations, abnormal noises, stick-slip applied in any Order.
motion of the components, etc.), nor to its characteristics
(Speeds, feeds, etc.) which should generally be checked before
testing accuracy. 3.4 lt is not always possible nor necessary to carry out all the
tests given in this International Standard.
This International Standard does not impose any practical test
for surface planing machines with cutterblock for one-side
dressing. Practical tests should be exceptions and have to be
3.5 lt is up to the user to choose, in agreement with the
stated in a previous agreement between the manufacturer and
manufacturer, those tests relating to the properties which are
the User.
of interest to him, but these tests shall be clearly stated when
ordering a machine.
This International Standard applies to those machines
designated by the number 12.211 .l in ISO 7984.
3.6 A movement is longitudinal when it takes place in the
working direction of the piece.
2 References
ISO 230/1, Acceptance Code for machine tools - Part 1:
3.7 When establishing the tolerante for a measuring
Geometrie accuracy of the machine operating under no load or
range different from that given in this International Standard
finishing conditions.
(see clause 2.311 in ISO 230/1), it should be taken into
ISO 7984, Woodworking machines - Technicaf classification consideration that the minimum value of the tolerante is
0,OI mm.
of woodworking and auxiliary machines. 1)
1) At present at the Stage of draft.
ISO 75714986 (El
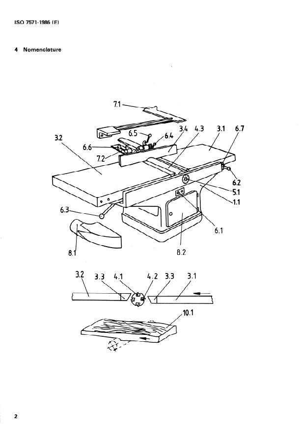
4 Nomenclature
- cr 3.6 4.3 3.1 6.7
32 . e 0
\ 66 .
82 .
Sf .
ISO 75714986 (EI
French
English
-~-
_- -.-- - ---
1 ---L
Surface planing machines
Reference Machines a degauchir sur une face
with cutterblock for one-side
avec porte-outil cylindrique a lames
dressing
I
Ossature
1 Framework
Bati
1.1 Main frame
Deplacement des pieces et/ou
Feed of workpiece and/or tools
outils
Support, maintien et guidage des
Workpiece support clamp and gu
...
,
Norme internationale
INTERNATIONAL ORGANIZATION FOR STANDARDIZATION.MEIK~YHAPO~HAR OPrAHM3AUMR l-l0 CTAH~APTM3AL(MM*ORGANISATlON INTERNATIONALE DE NORMALISATION
Machines à bois - Machines à dégauchir sur une face
avec porte-outil cylindrique à lames - Nomenclature et
conditions de réception
Woodworking machines - Surface planing machines with cutterblock for one-side dressing - Nomenclature and acceptance
conditions
Première édition - 1986-11-15
Réf. no : ISO 7571-1986 (FI
CDU 674.056 : 621.91225
Lz
Descripteurs : machine-outil, machine à bois, machine à raboter, machine à dégauchir, vocabulaire, essai, mesurage, exactitude.
Prix bas6 sur 8 pages
Avant-propos
L’ISO (Organisation internationale de normalisation) est une fédération mondiale
d’organismes nationaux de normalisation (comités membres de I’ISO). L’élaboration
des Normes internationales est confiée aux comités techniques de I’ISO. Chaque
comité membre intéressé par une étude a le droit de faire partie du comité technique
créé à cet effet. Les organisations internationales, gouvernementales et non gouverne-
mentales, en liaison avec I’ISO participent également aux travaux.
Les projets de Normes internationales adoptés par les comités techniques sont soumis
aux comités membres pour approbation, avant leur acceptation comme Normes inter-
nationales par le Conseil de I’ISO. Les Normes internationales sont approuvées confor-
mément aux procédures de I’ISO qui requiérent l’approbation de 75 % au moins des
comités membres votants.
La Norme internationale ISO 7571 a été elaboree par le comité technique ISO/TC 39,
Machines- ou titk
L’attention des utilisateurs est attirée sur le fait que toutes les Normes internationales
sont de temps en temps soumises à revision et que toute référence faite à une autre
Norme internationale dans le présent document implique qu’il s’agit, sauf indication
contraire, de la dernière édition.
0 Organisation internationale de normalisation, 1986
Imprimé en Suisse
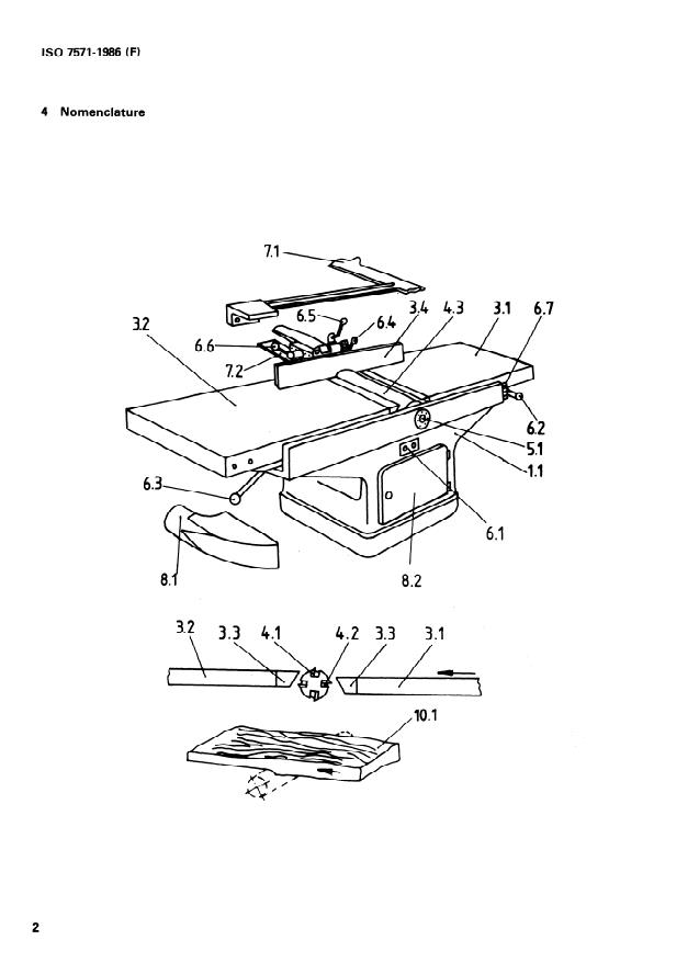
NORME INTERNATIONALE ISO 75714986 (F)
Machines à bois - Machines à dégauchir sur une face
avec porte-outil cylindrique à lames - Nomenclature et
conditions de réception
1 Objet et domaine d’application
3 Observations préliminaires
La présente Norme internationale indique la terminologie pro-
3.1 Dans la présente Norme internationale, toutes les dimen-
pre à chaque partie de la machine et, par référence à
sions et tous les écarts tolérés sont exprimés en millimètres.
I’ISO 230/1, les vérifications géométriques des machines à
dégauchir sur une face avec porte-outil cylindrique à lames,
ainsi que les écarts tolérés correspondant à des machines
3.2 Pour l’application de la présente Norme internationale, on
d’usage général et de précision normale.
doit se reporter à I’ISO x30/1, notamment en ce qui concerne
NOTE - En supplément aux termes donnés dans deux des trois lan- l’installation de la machine avant essais, la mise en température
gues officielles de I’ISO (anglais, français), la présente Norme interna-
de la broche porte-outil et des autres organes mobiles, ainsi que
tionale donne, en annexe, les termes équivalents en allemand, espa-
la description des méthodes de mesurage. Les appareils ‘de
gnol italien et suédois; ces termes ont été inclus à la demande du
mesurage ne doivent pas donner lieu à des erreurs de mesurage
Comité technique ISO/TC 39 et sont publiés sous la responsabilité des
dépassant 1/3 de la tolérance à vérifier.
comités membres de l’Allemagne, R.F. (DIN), de l’Espagne (IRANOR),
de l’Italie (UNI) et de la Suède (SIS). Toutefois, seuls les termes et défi-
nitions donnés dans les langues officielles peuvent être considérés
3.3 L’ordre dans lequel les opérations de contrôle géométri-
comme termes et définitions ISO.
que sont énumérées, correspond aux ensembles constitutifs de
La présente Norme internationale traite seulement du contrôle la machine et ne définit nullement l’ordre réel des opérations de
de la précision de la machine. Elle ne concerne ni l’examen du
mesurage. Pour des raisons de facilité des opérations de con-
fonctionnement de la machine (vibrations, bruits anormaux,
trôle et de montage des appareils de mesurage, on peut procé-
points durs dans les déplacements d’organes, etc.), ni celui de der aux vérifications dans un ordre entièrement différent.
ses caractéristiques (vitesses, avances, etc. 1, examens qui doi-
vent, en général, précéder celui de la précision.
3.4 II n’est pas toujours possible, ni nécessaire, lors de I’exa-
La présente Norme internationale ne prévoit aucune épreuve
men d’une machine, d’effectuer la totalité des essais figurant
pratique. Pour les machines à raboter sur une face avec porte-
dans la présente Norme internationale.
outil cylindrique à lames, les épreuves pratiques sont des épreu-
ves exceptionnelles et doivent resulter d’un accord préalable
entre constructeur et utilisateur.
3.5 II appartient à l’utilisateur de choisir, en accord avec le
constructeur, les seules épreuves correspondant aux organes
La présente Norme internationale s’applique aux machines
existant sur la machine ou aux propriétés qui l’intéressent et qui
désignées sous le numéro 12.211 .l de I’ISO 7984.
doivent être clairement précisées dans la commande.
2 Références
3.6 Un mouvement est longitudinal lorsqu’il a lieu dans le
sens d’avance de la pièce.
ISO 23011, Code de réception des machines-outils - Partie 1:
Précision géométrique des machines fonctionnant à vide ou
dans des conditions de finition. 3.7 Lorsque l’écart est déterminé pour une étendue de
mesurage différente de celle indiquée dans la présente Norme
ISO 7934, Machines à bois - Classification technique des internationale (voir 2.311 de I’ISO 230/1), il y a lieu de te
...








Questions, Comments and Discussion
Ask us and Technical Secretary will try to provide an answer. You can facilitate discussion about the standard in here.
Loading comments...