ISO 9265:1988
(Main)Woodworking machines - Multi-spindle boring machines - Nomenclature
Woodworking machines - Multi-spindle boring machines - Nomenclature
Specifies the nomenclature appropriate to the various parts of these multi-spindle boring machines in order to assist manufacturers and users in the identification of these parts. Given in addition to terms used in the three official ISO languages (English, French and Russian) the equivalent terms in the German, Spanish, Italian and Swedish languages.
Machines à bois — Perceuses multibroches — Nomenclature
General Information
- Status
- Published
- Publication Date
- 12-Oct-1988
- Technical Committee
- ISO/TC 39/SC 4 - Woodworking machines
- Drafting Committee
- ISO/TC 39/SC 4 - Woodworking machines
- Current Stage
- 9020 - International Standard under periodical review
- Start Date
- 15-Oct-2025
- Completion Date
- 15-Oct-2025
Overview
ISO 9265:1988 is an International Standard developed by the International Organization for Standardization (ISO) that specifies the nomenclature for multi-spindle boring machines used in woodworking. This standard helps manufacturers, users, and stakeholders in the woodworking industry to correctly identify and refer to the various components and parts of these machines. The nomenclature is provided in multiple languages including the three official ISO languages (English, French, Russian) as well as German, Spanish, Italian, and Swedish for broader international applicability.
By standardizing terminology, ISO 9265:1988 enhances communication, improves documentation quality, and ensures consistency across international markets for woodworking machine tools - specifically those classified as multi-spindle boring machines (ISO 7984 number 12.42).
Key Topics
Machine Parts Identification
The standard enumerates and defines parts such as:- Framework and mainframe
- Feed mechanisms for workpieces and tools
- Workpiece supports, clamps, and guides
- Tool-holders and boring bits
- Workheads including vertical, horizontal, single, and multi-spindle boring heads
- Controls like operating pedals and locking devices
- Safety devices and miscellaneous components including electrical and pneumatic control enclosures
Multilingual Terminology
Key terms are published not only in English, French, and Russian but also extended to German, Spanish, Italian, and Swedish. This facilitates international trade, maintenance, and training.Technical Classification Reference
ISO 9265 references ISO 7984:1988 for technical classification of woodworking machinery, linking the nomenclature directly to recognized machine categories and types.
Applications
ISO 9265:1988 is essential for anyone involved in manufacturing, operating, maintaining, or purchasing multi-spindle boring machines in the woodworking sector. Its practical applications include:
Design and Manufacturing
Assists machine tool designers and manufacturers by providing a standardized vocabulary for all parts, reducing ambiguity in technical drawings, manuals, and parts catalogs.Procurement and Maintenance
Enables users and service teams to accurately identify machine parts for maintenance, repair, and ordering replacements, improving machine uptime and service effectiveness.Training and Documentation
Provides a common language for technical training programs and user manuals, making it easier to transfer knowledge internationally and ensure worker safety.Regulatory and Quality Control
Supports compliance with industry best practices and regulatory requirements related to machinery safety and interoperability standards.
Related Standards
For comprehensive coverage of woodworking machinery, ISO 9265:1988 is closely related to:
ISO 7984:1988 - Technical classification of woodworking machines and auxiliary equipment. Defines the classification codes for woodworking machinery types, including multi-spindle boring machines.
Other ISO standards on woodworking machinery safety, terminology, and test methods which collectively enhance machine-tool harmonization and safe usage within the woodworking industry.
Keywords
woodworking machines, multi-spindle boring machines, machine tool nomenclature, woodworking machinery terminology, ISO 9265, machine parts identification, woodworking tool standards, international woodworking standards, machine classification ISO 7984, woodworking safety devices, multi-language technical standards
Frequently Asked Questions
ISO 9265:1988 is a standard published by the International Organization for Standardization (ISO). Its full title is "Woodworking machines - Multi-spindle boring machines - Nomenclature". This standard covers: Specifies the nomenclature appropriate to the various parts of these multi-spindle boring machines in order to assist manufacturers and users in the identification of these parts. Given in addition to terms used in the three official ISO languages (English, French and Russian) the equivalent terms in the German, Spanish, Italian and Swedish languages.
Specifies the nomenclature appropriate to the various parts of these multi-spindle boring machines in order to assist manufacturers and users in the identification of these parts. Given in addition to terms used in the three official ISO languages (English, French and Russian) the equivalent terms in the German, Spanish, Italian and Swedish languages.
ISO 9265:1988 is classified under the following ICS (International Classification for Standards) categories: 01.040.79 - Wood technology (Vocabularies); 79.120.10 - Woodworking machines. The ICS classification helps identify the subject area and facilitates finding related standards.
ISO 9265:1988 is available in PDF format for immediate download after purchase. The document can be added to your cart and obtained through the secure checkout process. Digital delivery ensures instant access to the complete standard document.
Standards Content (Sample)
IS0
INTERNATIONAL STANDARD
NORME INTERNATIONALE
First edition
Premikre edition
1988-10-H
__~--
--~--
---
INTERNATIONAL ORGANIZATION FOR STANDARDIZATION
ORGANISATION INTERNATIONALE DE NORMALISATION
MEXAYHAPOJJHAFI OPrAHM3A~Mfi I-IO CTAHJJAPTM3A~MM
Woodworking machines - Multi-spindle boring
machines - Nomenclature
Perceuses multibroches -
Machines 6 bois -
Nomenclature
Reference number
Num&o de refhence
IS0 9265 : 1988 (E/F)
IS0 9265 : 1988 (E/F)
Foreword
IS0 (the International Organization for Standardization) is a worldwide federation of
national standards bodies (IS0 member bodies). The work of preparing International
Standards is normally carried out through IS0 technical committees. Each member
body interested in a subject for which a technical committee has been established has
the right to be represented on that committee. International organizations, govern-
mental and non-governmental, in liaison with ISO, also take part in the work. IS0
collaborates closely with the International Electrotechnical Commission (IEC) on all
matters of electrotechnical standardization.
Draft International Standards adopted by the technical committees are circulated to
the member bodies for approval before their acceptance as International Standards by
the IS0 Council. They are approved in accordance with IS0 procedures requiring at
least 75 % approval by the member bodies voting.
International Standard IS0 9265 was prepared by Technical Committee ISO/TC 39,
Machine tools.
Annex A of this International Standard is for information only.
Avant-propos
L’ISO (Organisation internationale de normalisation) est une federation mondiale
d’organismes nationaux de normalisation (cornit& membres de I’ISO). LUaboration
des Normes internationales est en gbn&al confide aux cornit& techniques de I’ISO.
Chaque cornit membre int&esse par une &ude a le droit de faire pat-tie du cornit
technique cr& a cet effet. Les organisations internationales, gouvernementales et non
gouvernementales, en liaison avec I’ISO participent bgalement aux travaux. L’ISO col-
labore htroitement avec la Commission 4ectrotechnique internationale (CEI) en ce qui
concerne la normalisation 4lectrotechnique.
Les projets de Normes internationales adopt& par les comit& techniques sont soumis
aux cornit& membres pour approbation, avant leur acceptation comme Normes inter-
nationales par le Conseil de I’ISO. Les Normes internationales sont approuvees confor-
mement aux procedures de I’ISO qui requierent I’approbation de 75 % au moins des
comit& membres votants.
La Norme internationale IS0 9265 a et6 &aboree par le cornit technique ISO/TC 39,
Machines-outifs.
don&e uniquement B titre d’infor-
L’annexe A de la pr&ente Norme internationale est
mation.
0 International Organization for Standardization, 1988 l
@ Organisation internationale de normalisation, 1988 l
Printed in Switzerland / Imprime en Suisse
INTERNATIONAL STANDARD
IS0 9265 : 1988 (E/F)
NORME INTERNATIONALE
Machines 6 bois -
Woodworking machines -
Multi-spindle boring Perceuses multibroches -
Nomenclature
machines - Nomenclature
1 Domaine d’application
1 Scope
This International Standard specifies the nomenclature ap- La presente Norme internationale indique la nomenclature pro-
pre aux differentes parties des perceuses multibroches, afin
propriate to the various parts of multi-spindle boring machines
in order to assist manufacturers and users in the identification d’aider les constructeurs et les utilisateurs dans I’identification
de celles-ci.
of these parts.
NOTE - En complement des termes utilises dans les trois langues offi-
NOTE - In addition to terms used in the three official IS0 languages
(English, French and Russian), this International Standard gives the cielles de I’ISO (anglais, francais et russe), cette Norme internationale
donne dans les langues allemande, espagnole, italienne et suedoise les
equivalent terms in the German, Spanish, Italian and Swedish
languages; these are published under the responsibility of the member termes equivalents; ces termes sont publies sous la responsabilite des
comites membres de I’Allemagne, R.F. (DIN), de I’Espagne (AENOR),
bodies for Germany, F.R. (DIN), Spain (AENOR), Italy (UNI) and
Sweden (SIS). However, only the terms given in the official languages de I’ltalie (UNI) et de la Suede (SIS). Toutefois, seuls les termes don-
nes dans les langues officielles peuvent etre consider& comme &ant
can be considered as IS0 terms.
des termes de I’ISO.
This International Standard applies to those machines
La presente Norme internationale s’applique aux machines
designated by the number 12.42 in IS0 79841).
designees sous le numero 12.42 de I’ISO 79841).
1) IS0 7984 : 1988, Woodworking machines - Technical classifi- 1) IS0 7984 : 1988, Machines a bois - Classification technique des
cation of woodworking machines and auxiliary machines for wood- machines i) travailler le bols et des machines auxiliaries & travailier le
working. bois.
IS0 9265 : 1988 (E/F)
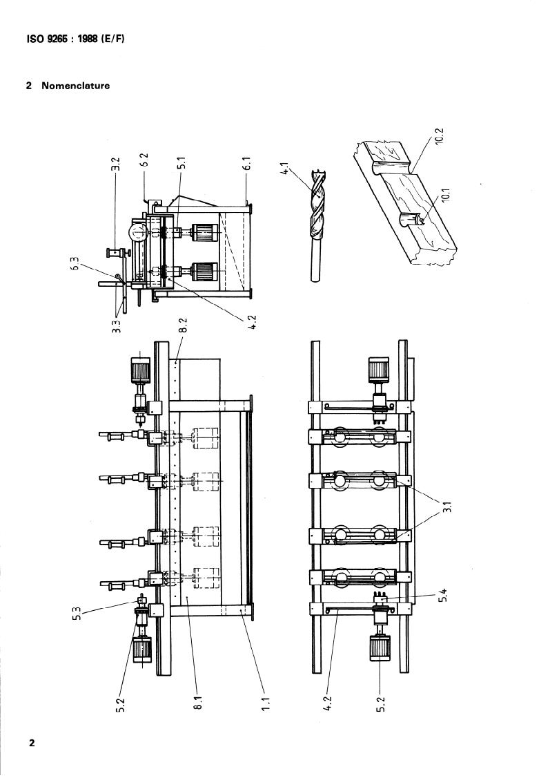
2 Nomenclature
m
m
I
a
---
1, T-l I
4 ’
;
-ylT --
m
‘F “I
-71
**ll
F
111, J-J
.
.
- -11
F
=$I--2
F’
kL-U
.
T-l-
P
-3, *I-
r
-. -+
b
-- 1,
.
I
c-
m
.A
Ln
\
.
cv.
ad
\
ln
ISO9265:1988 E/F)
French
E
...










Questions, Comments and Discussion
Ask us and Technical Secretary will try to provide an answer. You can facilitate discussion about the standard in here.
Loading comments...