ISO 7988:1988
(Main)Woodworking machines - Double-end tenoning machines - Nomenclature and acceptance conditions
Woodworking machines - Double-end tenoning machines - Nomenclature and acceptance conditions
Specifies the nomenclature appropriate to each part of the machine (in English, French and Russian and the equivalent terms in German, Spanish, Italian ans Swedish) and the geometrical and practical tests for these tenoning machines, and gives the corresponding permissible deviations which apply to machines of general purpose use and normal accuracy. It deals only with the verification of the accuracy of the machine. It does not apply to the testing of the running of the machine nor to its characteristics which should generally be checked before the accuracy is tested.
Machines à bois — Machines doubles à tenonner — Nomenclature et conditions de réception
General Information
- Status
- Published
- Publication Date
- 05-Oct-1988
- Technical Committee
- ISO/TC 39/SC 4 - Woodworking machines
- Drafting Committee
- ISO/TC 39/SC 4 - Woodworking machines
- Current Stage
- 9020 - International Standard under periodical review
- Start Date
- 15-Oct-2025
- Completion Date
- 15-Oct-2025
Overview
ISO 7988:1988 - "Woodworking machines - Double-end tenoning machines - Nomenclature and acceptance conditions" defines standardized nomenclature and acceptance tests for double-end tenoning woodworking machines. The standard specifies the English, French and Russian ISO terms and provides equivalent German, Spanish, Italian and Swedish terms. It also sets out the geometrical and practical tests and permissible deviations for machines of general-purpose use and normal accuracy, focusing exclusively on the verification of machine accuracy.
Key topics and technical requirements
- Nomenclature and terminology: Standardized names for machine parts (frames, beds, feed drives, holddowns, cutter heads, controls, safety devices) in three official ISO languages plus equivalent terms in four other languages for cross‑border documentation.
- Geometrical tests: Procedures and checks for straightness, squareness, parallelism, alignment, run‑out and camming of spindles and feed components. Example permissible deviations given in the standard include:
- Straightness/saw-cut straightness: e.g., 0.15 mm over 1 000 mm (practical test example).
- Squareness checks: e.g., 0.2 mm per 1 000 mm in selected tests.
- Run‑out and camming limits: examples given include 0.02 mm run‑out and 0.01 mm camming (measuring length examples appear in the text).
- Practical tests: Performance checks on test pieces (e.g., pre‑cut chipboard) to verify straightness and squareness of cuts under defined feed speeds and measuring lengths.
- Measurement integrity: Measuring instruments must introduce errors no greater than one‑third of the checked tolerances; all dimensions and deviations are expressed in millimetres.
- Scope limits: The standard is limited to accuracy verification. It explicitly excludes dynamic running tests (vibration, noise, speeds and feeds), which should be checked before accuracy testing.
Applications and who uses this standard
- Machine manufacturers: to specify part names, acceptance criteria and factory acceptance procedures.
- Quality and test laboratories: to perform standardized geometrical and practical acceptance tests and report results against defined permissible deviations.
- Purchasers and specifiers: to include clear acceptance conditions in procurement contracts and technical specifications.
- Inspectors, installation engineers and maintenance teams: to verify machine alignment and accuracy during commissioning and periodic re‑acceptance.
- Training and documentation: for consistent operator manuals, spare parts lists and multilingual documentation.
Related standards
- ISO 230-1 - Acceptance code for machine tools (geom. accuracy tests reference).
- ISO 2304 - Installation and measuring-method guidance (referenced for warming up, installation and measuring techniques).
- ISO 7984 - Technical classification of woodworking machines.
ISO 7988 is essential when you need consistent terminology and reliable, repeatable accuracy tests for double‑end tenoning machines used in professional woodworking and production environments.
ISO 7988:1988 - Woodworking machines -- Double-end tenoning machines -- Nomenclature and acceptance conditions
ISO 7988:1988 - Machines a bois -- Machines doubles a tenonner -- Nomenclature et conditions de réception
ISO 7988:1988 - Machines a bois -- Machines doubles a tenonner -- Nomenclature et conditions de réception
Frequently Asked Questions
ISO 7988:1988 is a standard published by the International Organization for Standardization (ISO). Its full title is "Woodworking machines - Double-end tenoning machines - Nomenclature and acceptance conditions". This standard covers: Specifies the nomenclature appropriate to each part of the machine (in English, French and Russian and the equivalent terms in German, Spanish, Italian ans Swedish) and the geometrical and practical tests for these tenoning machines, and gives the corresponding permissible deviations which apply to machines of general purpose use and normal accuracy. It deals only with the verification of the accuracy of the machine. It does not apply to the testing of the running of the machine nor to its characteristics which should generally be checked before the accuracy is tested.
Specifies the nomenclature appropriate to each part of the machine (in English, French and Russian and the equivalent terms in German, Spanish, Italian ans Swedish) and the geometrical and practical tests for these tenoning machines, and gives the corresponding permissible deviations which apply to machines of general purpose use and normal accuracy. It deals only with the verification of the accuracy of the machine. It does not apply to the testing of the running of the machine nor to its characteristics which should generally be checked before the accuracy is tested.
ISO 7988:1988 is classified under the following ICS (International Classification for Standards) categories: 01.040.79 - Wood technology (Vocabularies); 79.120.10 - Woodworking machines. The ICS classification helps identify the subject area and facilitates finding related standards.
You can purchase ISO 7988:1988 directly from iTeh Standards. The document is available in PDF format and is delivered instantly after payment. Add the standard to your cart and complete the secure checkout process. iTeh Standards is an authorized distributor of ISO standards.
Standards Content (Sample)
ISO
INTERNATIONAL STANDARD
First edition
1988-11-01
INTERNATIONAL ORGANIZATION FOR STANDARDIZATION
ORGANISATION INTERNATIONALE DE NORMALISATION
MEX,ljYHAPO,lJHAR OPrAHM3A~MR I-IO CTAH)JAPTM3A~MM
Woodworking machines - Double-end tenoning
- Nomenclature and acceptance conditions
machines
Machines doubles 2 tenonner - Nomenclature et conditions de rkception
Machines & bois -
Reference number
ISO 7988 : 1988 (El
Foreword
ISO (the International Organization for Standardization) is a worldwide federation of
national Standards bodies (ISO member bodies). The work of preparing International
Standards is normally carried out through ISO technical committees. Esch member
body interested in a subject for which a technical committee has been established has
the right to be represented on that committee. International organizations, govern-
mental and non-governmental, in liaison with ISO, also take part in the work. ISO
collaborates closely with the International Electrotechnical Commission (IEC) on all
matters of electrotechnical standardization.
Draft International Standards adopted by the technical committees are circulated to
the member bodies for approval before their acceptance as International Standards by
the ISO Council. They are approved in accordance with ISO procedures requiring at
least 75 % approval by the member bodies voting.
International Standard ISO 7988 was prepared by Technical Committee ISO/TC 39,
Machine tools.
Annex A of this International Standard is for information only.
0 International Organkation for Standardkation, 1988
Printed in Switzerland
ii
INTERNATIONAL STANDARD ISO 7988 : 1988 (E)
Woodworking machines - Double-end tenoning
machines - Nomenclature and acceptance conditions
ISO 230-1 : 1986, Acceptance Code for machine tools -
1 Scope
Part 7: Geometrie accuracy of machines operating under
no-load or finishing conditions.
This International Standard specifies the nomenclature ap-
propriate to each part of the machine and, with reference to
ISO 230-1, the geometrical and practical tests for double-end
3 Preliminary remarks
tenoning machines, and gives the corresponding permissible
deviations which apply to machines of general purpose use and
3.1 In this International Standard all dimensions and permiss-
normal accuracy.
ible deviations are expressed in millimetres.
NOTE - In addition to terms used in the three official ISO languages
3.2 To apply this International Standard, reference should be
(English, French and Russian), this International Standard gives the
made to ISO 2304, especially for installation of the machine
equivalent terms in the German, Spanish, Italian and Swedish
before testing, the warming up of the main spindle and other
languages; these are published under the responsibility of the member
moving Parts, and the description of the measuring methods.
bodies for Germany, F.R. (DIN), Spain (AENOR), Italy (UNI) and
Sweden (SIS). However, only the terms given in the official languages The measuring instruments shall not permit measurement
tan be considered as ISO terms.
errors over 1/3 of the checked tolerantes.
3.3 The sequence in which the geometrical tests are given is
This International Standard deals only with the verification of
related to the sub-assemblies of the machine, and this in no
the accuracy of the machine. lt does not apply to the testing of
way defines the practical Order of testing. In Order to make
the running of the machine (vibrations, abnormal noises, stick-
Slip motion of the components, etc.), nor to its characteristics mounting of instruments and gauging easier, tests may be
applied in any Order.
(Speeds, feeds, etc.) which should generally be checked before
the accuracy is tested.
3.4 When inspecting a machine, it is not always possible or
necessary to carry out all the tests given in this International
This International Standard applies to those machines
Standard.
designated by the number 82.2 in ISO 79841).
3.5 lt is up to the user to choose, in agreement with the
manufacturer, those tests relating to the properties which are
of interest to him, but these tests shall be clearly stated when
2 Normative reference
ordering a machine.
The following Standard contains provisions which, through
3.6 A movement is longitudinal when it takes place in the
reference in this text, constitute provisions of this International
working direction of the piece.
Standard. At the time of publication, the edition indicated was
valid. All Standards are subject to revision, and Parties to
3.7 When establishing the tolerante for a measuring range
agreements based on this International Standard are encour-
different from that given in this International Standard (see
aged to investigate the possibility of applying the most recent
subclause 2.311 in ISO 230-l), it should be taken into con-
edition of the Standard listed below. Members of IEC and ISO
sideration that the minimum value of the tolerante is 0,Ol mm.
maintain registers of currently valid International Standards.
ISO 7984 : 1988, Woodworking machines - Technical classification of woodworking machines and auxiliary machines for woodworking.
1)
ISO 7988 : 1988 (El
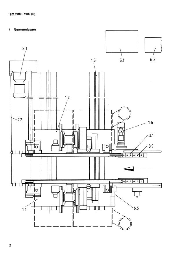
4 Nomenclature
\
.
51 .
1 _, -
-.
-
12 .
--
-P
II
‘72 .
r II
/ -1.b
iNPuLtLu p,
Ie1
I
ISO 7988 : 1988 (EI
0 0
0 0
m
0 0
-b
0 0
0 0
w
‘4
ii 2
\Ln
\o
Im
r\
1 \
\T
ti
m
I I 10.5
-
LI
-
d
e-
-
.
10 .
10.6
ISO 7988 : 1988 (El
French Russian
English
Refer-
Machine double 3
Double-end tenoning CTaHOK WlllOpe3H blti
ence
tenonner ABYXCTOpOHHHti
machine
Ossature Kapxac
1 Framework
Bati principal - montant fixe
haBHafI CTaHMHa, HenOflBWKHaFI
1.1 Main frame saddle (fixed)
Bati principal - montant mobile haBHafI CTaHIiIHa, nOgBMxHaF1
1.2 Main frame saddle (adjustable)
Banc - cremaillere ronde CTOJl - KpyrnaFt 3y6qaTaF1 per;iKa
1.3 Bed - guide-rail (front)
Banc - cremaillere plate CTOJl - nnocKaF1 3y6ciaTaf! perlKa
1.4 Bed - guide-rail (rear)
Systeme filete de deplacement nOfleperH biti XO,LjOBOlil BMHT
1.5 Traverse screw(s)
transversal
Moteur de deplacement transversal 4BwaTenb nonepeqHor0 nepeMeqeHMfl
1.6 Traverse motor
Support de presseurs superieurs
1.7 Support for top holddown pressure CynnopT BepxHero npwtwMa
assembly
Montant porte-unites
Cutter head column KOnOHtiapa6o~e~ rOJlOBKl4
1.8
Deplacement des pieces et/ou outils
2 Feed of workpiece and/or tools TloAara p(eTane6i H/H~H b4HcTpyMeHTa
Moteur d’entrainement ABMraTenb noAaw4
2.1 Feed drive
Support, maintien et guidage des
3 Workpiece support, clamp and guide Onopa, KpenneHHe H HanpaBneHHe AeTaneH
pikes
Chaine d’alimentation tianpasnfwqafl qenb
3.1 Chain feed
3.2 Top pressure belt (or chain) Chaine de pressage superieur PeMeHb (MnM qenb) BepxHero npw+wMa
Guide d’alimentation tianpasnfuoqafi qenM
3.3 Infeed fence
Guide de sortie
3.4 Outfeed support BblxOQHaFI HanpaBnfuoqaR
Poutre de pressage superieur 6anKa BepxHero npwtwMa
3.5 Top pressure beam
Levier de rouleau
3.6 Top pressure wheel assembly PyKORTKa npWKlAMHOr0 pOJlt4Ka
Entrainement du pressage superieur IlpuBoA BepxHero npwtwMa
3.7 Drive for top pressure belt (or chain)
Reglage vertical du presseur superieur
3.8 Height adjustment for top pressure BepTMKaflbHafI perynupoBKa BepxHero
npw+wMa
assembly
Feed dogs Taquets @kl KCaTOp bl
3.9
Porte-outils et outils
4 Tool-holders and tools AepIKaBKH HHCTpYMeHTa H HHCTpyMeHT
Unite d’incisage ronosKa npope3Hoti nrnnbl
4.1 Scoring Cutter
Unite de dechiquetage
4.2 Hogging head and/or trimsaw 3arMcrHaa ronoBKa
Unite de fraisage ape3epHafi ronoBKa
4.3 Vertical milling head (or cope)
Workhead and tool drives Unite de travail et son entrainement Paßorian ronoBKa H ee npb4BoAbl
5.1 Frequency changer Changeur de frequence llpeo6pasoBaTenb qacToTbl
Commandes
6 Controls YnpaBneHHe
Boite de commande
6.1 Operator’s console IlynbT ynpaBneHtifl
Armoire electrique
6.2 Electrical enclosure 3neKTpouJKacfI
lnterrupteur principal h-IaBHblh py6WlbHMK
6.3 Master switch
6.4 Frequency changer switch Commutateur de frequence qacrorH blW nepeKn tooraTen b
Electrical connection Branchement electrique 3neKTponpoBo~Ka
6.5
6.6 Compressed air connection Branchement air comprime llojqcoe~metitde cxaroro f303gyxa
Dispositifs de securite (exemples)
7 Safety devices (examples) r@e~OXpaHMTenbHble YCTpOkTBa (npMMepbl)
7.1 Sound enclosure Capot d’insonorisation uyM03aLL(MTH blti KOxyX
Fil interrupteur urgence
7.2 Emergency trip-wire npOBOP, aBapMtiHOIiI OCTaHOBKM
7.3 Infeed chain guard Protecteur Chaine alimentation 3aqMra Hanpasnfwiqeh qerw
Protecteur-presseur superieur
7.4 Top holddown drive guard 3aqMra BepxHero npwtwMa
Divers
8 Miscellaneous npoqee
8.1 Dust exhaust outlet Buse d’aspiration OTCaCblBatO~Vllil naTpy60K
(chapitre libre)
9 (clause f ree) (CBO6OAti blti pa3AeJ-I)
10 Examples of work Exemples de travail npHMepbl pa6OT bl
10.1 Tenonnage simple et double
Coping ABOtiHOe uni4 OAMHOclHOe wnoBaHMe
10.2 Angle coping Tenonnage angulaire Yrnosoe u.rMnoBatiMe
Rainurage angulaire
10.3 Angle grooving Yrnosafl npope3Ka KaHaBoK
10.4 Vertical or edge milling Dressage de chant BblpaBHPlBaHMe KpOMOK
Fraisage de chant
10.5 Edge profiling QpesepoBaHue KPOMOK
10.6 Saw cutting or trimming Tronconnage TOpqOBKa
Rainurage simple et double
10.7 Grooving, Single and double OAMHOCIHaR ww ABOtiHafi npope3Ka
KaHaBOK
5 Acceptance conditions and permissible deviations
5.1 Geometrical tests
Observations and references
Measuring
to the ISO 230-1 acceptance
Diagram Object Permissible deviation
No.
instruments
code
m
Checking of straightness
of the horizontal slides:
a) and b)
Subclause 5.22
a) lon
...
ISO
NORME INTERNATIONALE
Première édition
1988-l l-01
INTERNATIONAL ORGANIZATION FOR STANDARDIZATION
ORGANISATION INTERNATIONALE DE NORMALISATION
MEX~YHAPO~HAÇI OPI-AHM3A~Mfl Il0 CTAHflAPTM3A~MM
Machines à bois - Machines doubles à tenonner -
Nomenclature et conditions de réception
Woodworking machines -
Double-end tenoning machines - Nomencla turc and accep tance
conditions
Numéro de référence
ISO 7988 : 1988 (F)
1s0 7988 : 1988 (FI
Avant-propos
L’ISO (Organisation internationale de normalisation) est une fédération mondiale
d’organismes nationaux de normalisation (comités membres de I’ISO). L’élaboration
des Normes internationales est en général confiée aux comités techniques de I’ISO.
Chaque comité membre intéressé par une étude a le droit de faire partie du comité
technique créé à cet effet. Les organisations internationales, gouvernementales et non
gouvernementales, en liaison avec I’ISO participent également aux travaux. L’ISO col-
labore étroitement avec la Commission électrotechnique internationale (CEI) en ce qui
concerne la normalisation électrotechnique.
Les projets de Normes internationales adoptés par les comités techniques sont soumis
aux comités membres pour approbation, avant leur acceptation comme Normes inter-
nationales par le Conseil de I’ISO. Les Normes internationales sont approuvées confor-
mément aux procédures de I’ISO qui requièrent l’approbation de 75 % au moins des
comités membres votants.
La Norme internationale ISO 7988 a été élaborée par le comité technique ISO/TC 39,
Machines- ou tifs,
L’annexe A de la présente Norme internationale est donnée uniquement à titre d’infor-
mation.
0 Organisation internationale de normalisation, 1988 0
Imprimé en Suisse
ii
NORME INTERNATIONALE
ISO 7988 : 1988 (F)
Machines doubles à tenonner -
Machines à bois -
Nomenclature et conditions de réception
ISO 230-l : 1986, Code de réception des machines-outils -
1 Domaine d’application
Partie I : Prkision géométrique des machines fonctionnant à
La présente Norme internationale indique la nomenclature vide ou dans des conditions de finition.
propre à chaque partie de la machine et, par référence à
I’ISO 230-1, les vérifications géométriques et les épreuves prati-
ques des machines doubles à tenonner, ainsi que les écarts 3 Observations préliminaires
tolérés correspondant à des machines d’usage général et de
précision normale.
3.1 Dans la présente Norme internationale, toutes les dimen-
sions et tous
les écarts tolérés sont exprimés en mi Ilimètres.
En complément des termes utilisés dans les trois langues offi-
NOTE -
cielles de I’ISO (anglais, frayais et russe), cette Norme internationale 3.2 Pour l’application de la présente Norme internationale, on
donne les termes équivalents dans les langues allemande, espagnole,
doit se reporter à I’ISO 230-1, notamment en ce qui concerne
italienne et suédoise; ces termes sont publiés sous la responsabilité des
l’installation de la machine avant essais, la mise en température
Comités membres de l’Allemagne, R.F. (DIN), de l’Espagne (AENOR),
de la broche principale et des autres organes mobiles, ainsi que
de l’Italie (UNI) et de la Suède (SIS). Toutefois, seuls les termes et défi-
la description des méthodes de mesurage. Les appareils de
nitions donnés dans les langues officielles peuvent être considérés
mesurage ne doivent pas donner lieu à des erreurs de mesurage
comme étant des termes et définitions de I’ISO.
dépassant 1/3 de la tolérance à vérifier.
La présente Norme internationale traite seulement du contrôle
3.3 L’ordre dans lequel les opérations de contrôle géométri-
de la précision de la machine. Elle ne concerne ni l’examen du
que sont énumérées correspond aux ensembles constitutifs de
fonctionnement de la machine (vibrations, bruits anormaux,
la machine et ne définit nullement l’ordre réel des opérations de
points durs dans les déplacements d’organes, etc.), ni celui de
mesurage. Pour des raisons de facilité des opérations de con-
ses caractéristiques (vitesses, avances, etc. 1, examens qui doi-
trôle et de montage des appareils de mesurage, on peut procé-
vent, en général, précéder celui de la précision.
der aux vérifications dans un ordre entièrement différent.
La présente Norme internationale s’applique aux machines
3.4 II n’est pas toujours possible, ni nécessaire, lors de I’exa-
désignées sous le numéro 82.2 de I’ISO 79841).
men d’une machine, d’effectuer la totalité des essais figurant
dans la présente Norme internationale.
3.5 II appartient à l’utilisateur de choisir, en accord avec le
2 Référence normative
constructeur, les seules épreuves correspondant aux organes
existant sur la machine ou aux propriétés qui l’intéressent et qui
La norme suivante contient des dispositions qui, par suite de la
référence qui en est faite, constituent des dispositions valables doivent être clairement précisées dans la commande.
pour la présente Norme internationale. Au moment de la publi-
cation de cette norme, l’édition indiquée était en vigueur. Toute 36 . Un mouvement est longitudinal lorsqu’il a lieu dans le
norme est sujette à révision et les parties prenantes des accords sens d’avance de la pièce.
fondés sur cette Norme internationale sont invitées à recher-
cher la possibilité d’appliquer l’édition la plus récente de la 3.7 Lorsque l’écart est déterminé pour une étendue de mesu-
rage différente de celle indiquée dans la présente Norme inter-
norme indiquée ci-après. Les membres de la CEI et de I’ISO
possèdent le registre des Normes internationales en vigueur à nationale (voir 2.311 de I’ISO 2304 1, il y a lieu de tenir compte
un moment donné. de ce que la valeur minimale de l’écart à retenir est 0,Ol mm.
ISO 7984 : 1988, Machines à bois - Classification technique des machines à travailler le bois et des machines auxiliaires à travailler le bois.
1)
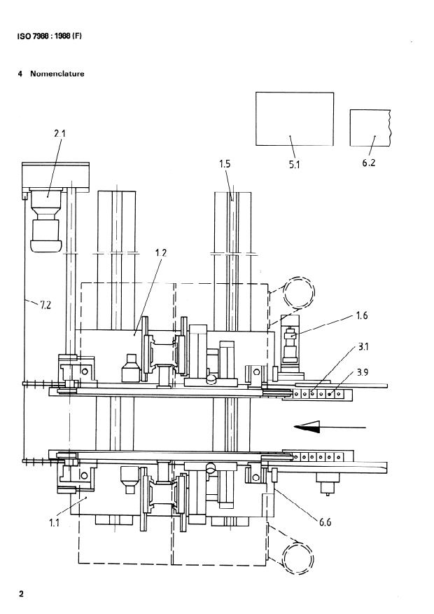
4 Nomenclature
62 .
51 .
T
I. -
r
I
I
‘-72 .
I
/ 1.b
I
-
I ’
ISO 7988 : 1988 (F)
0 0
ISO 7988 : 1988 (FI
10 . 1
.
v
I
-
-
J
ti
-
.
10 . 7
ISO 7988 : 1988 (FI
Anglais
Français Russe
Repère
Double-end tenoning ClaHOK UJWlOpe3H blti
Machine double à
machine ~ByXCTOpOHHMii
tenonner
Ossature Framework KapKaC
Main frame saddle (fixed) rnaBHaF1 CTaHMHa, HerIOABWKHaR
1.1 Bâti principal - montant fixe
rflaBHaF1 CTaHIrtHa, nOflBWKHaFi
Bâti principal - montant mobile Main frame saddle (adjustable)
1.2
Bed - guide-rail (front) CTOn - Kpyrnafi 3y6WTafi petiKa
1.3 Banc - crémaillére ronde
- guide-rail (rear) nnocKaf4 3y6qaTaR peWKa
Banc - crémaillére plate Bed CTOfl -
1.4
Traverse screw(s) flOfleperHblti XOQOBOti BMHT
1.5 Système fileté de déplacement
transversal
Traverse motor ABwaTenb noneperHor0 nepeMeqeHwi
1.6 Moteur de déplacement transversal
Support de presseurs supérieurs Support for top holddown pressure Cynnop~ BepxHero npw+wMa
1.7
assembly
Montant porte-unités Cutter head column KonOHHapa6oreW rOnoBKM
1.8
Déplacement des pièces et/ou outils Feed of workpiece and/or tools llofiaqa AeraneH H/HIIH HHcrpynmetira
Feed drive ABMraTenb noAari4
2.1 Moteur d’entraînement
3 Support, maintien et guidage des Workpiece support, clamp and guide Onopa, KpenneHHe H tianpasneHxe Aeranei3
pièces
Chain feed
3.1 Chaîne d’alimentation tianpasruwo~afl uenb
Chaîne de pressage supérieur Top pressure belt (or chain) PeMeHb (ww qenb) BepxHero npw+wMa
3.2
Guide d’alimentation Infeed fente Hanpasnfwqafl qenM
3.3
Guide de sortie Outfeed support BblXOQHaR Hanpasnfw~afi
3.4
Poutre de pressage supérieur Top pressure beam EianKa BepxHero npw+wMa
3.5
Levier de rouleau Top pressure wheel assembly PyKORTKa IlpWKMMHOrO pOnMKa
3.6
3.7 Entraînement du pressage supérieur Drive for top pressure belt (or chain) np~~oq BepxHero npumr/rMa
Height adjustment for top pressure BepTMKanbHafl peryni4poBKa BepxHero
3.8 Réglage vertical du presseur supérieur
assembly npMxMMa
Feed dogs @HKCaTOpbl
3.9 Taquets
Porte-outils et outils Tool-holders and tools &?p>r
Scoring cutter ronoBKa npope3HoM nMnbi
4.1 Unité d’incisage
Unité de déchiquetage Hogging head and/or trimsaw 3arMcTHafl ronoBKa
4.2
Vertical milling head (or tope) 0pe3epHafl ronoBKa
4.3 Unité de fraisage
Workhead and tool drives
5 Unité de travail et son entraînement Pa6oqan ronoma H ee npbmo~bi
Changeur de fréquence Frequency changer llpeo6pa30BaTenb qacToTbt
5.1
Commandes Controls Ynpaenewie
6.1 Boîte de commande Operator’s console IlynbT ynpaBneHiwi
Armoire électrique Electrical enclosure 3JleKTpol.uKac#I
6.2
Master switc h rnaBHblh py6WlbHMK
6.3 Interrupteur principal
Commutateur de fréquence Frequency changer switch YacToTH bll;i nepertn toqaTen b
6.4
6.5 Branchement électrique Electrical connection 3neKTponpoBo~Ka
Compressed air connection flo~coe~wieHi4e cXaror0 Bo3Ayxa
6.6 Branchement air comprimé
7 Dispositifs de securite (exemples) Safety devices (examples) nPeAOXpaHMTWlbH ble YCTpOkTBa (npl4Mepbl)
Capot d’insonorisation Sound enclosure wyM03alQMTH bl fi KOIKyX
7.1
7.2 Fil interrupteur urgence Emergency trip-wire flpOBOp, aBapldlHOfi OCTaHOBKM
Infeed chain guard 3aiqtiTa HanpaBnfwiqeM qenM
7.3 Protecteur chaîne alimentation
7.4 Protecteur-presseur supérieur Top holddown driv
...
ISO
NORME INTERNATIONALE
Première édition
1988-l l-01
INTERNATIONAL ORGANIZATION FOR STANDARDIZATION
ORGANISATION INTERNATIONALE DE NORMALISATION
MEX~YHAPO~HAÇI OPI-AHM3A~Mfl Il0 CTAHflAPTM3A~MM
Machines à bois - Machines doubles à tenonner -
Nomenclature et conditions de réception
Woodworking machines -
Double-end tenoning machines - Nomencla turc and accep tance
conditions
Numéro de référence
ISO 7988 : 1988 (F)
1s0 7988 : 1988 (FI
Avant-propos
L’ISO (Organisation internationale de normalisation) est une fédération mondiale
d’organismes nationaux de normalisation (comités membres de I’ISO). L’élaboration
des Normes internationales est en général confiée aux comités techniques de I’ISO.
Chaque comité membre intéressé par une étude a le droit de faire partie du comité
technique créé à cet effet. Les organisations internationales, gouvernementales et non
gouvernementales, en liaison avec I’ISO participent également aux travaux. L’ISO col-
labore étroitement avec la Commission électrotechnique internationale (CEI) en ce qui
concerne la normalisation électrotechnique.
Les projets de Normes internationales adoptés par les comités techniques sont soumis
aux comités membres pour approbation, avant leur acceptation comme Normes inter-
nationales par le Conseil de I’ISO. Les Normes internationales sont approuvées confor-
mément aux procédures de I’ISO qui requièrent l’approbation de 75 % au moins des
comités membres votants.
La Norme internationale ISO 7988 a été élaborée par le comité technique ISO/TC 39,
Machines- ou tifs,
L’annexe A de la présente Norme internationale est donnée uniquement à titre d’infor-
mation.
0 Organisation internationale de normalisation, 1988 0
Imprimé en Suisse
ii
NORME INTERNATIONALE
ISO 7988 : 1988 (F)
Machines doubles à tenonner -
Machines à bois -
Nomenclature et conditions de réception
ISO 230-l : 1986, Code de réception des machines-outils -
1 Domaine d’application
Partie I : Prkision géométrique des machines fonctionnant à
La présente Norme internationale indique la nomenclature vide ou dans des conditions de finition.
propre à chaque partie de la machine et, par référence à
I’ISO 230-1, les vérifications géométriques et les épreuves prati-
ques des machines doubles à tenonner, ainsi que les écarts 3 Observations préliminaires
tolérés correspondant à des machines d’usage général et de
précision normale.
3.1 Dans la présente Norme internationale, toutes les dimen-
sions et tous
les écarts tolérés sont exprimés en mi Ilimètres.
En complément des termes utilisés dans les trois langues offi-
NOTE -
cielles de I’ISO (anglais, frayais et russe), cette Norme internationale 3.2 Pour l’application de la présente Norme internationale, on
donne les termes équivalents dans les langues allemande, espagnole,
doit se reporter à I’ISO 230-1, notamment en ce qui concerne
italienne et suédoise; ces termes sont publiés sous la responsabilité des
l’installation de la machine avant essais, la mise en température
Comités membres de l’Allemagne, R.F. (DIN), de l’Espagne (AENOR),
de la broche principale et des autres organes mobiles, ainsi que
de l’Italie (UNI) et de la Suède (SIS). Toutefois, seuls les termes et défi-
la description des méthodes de mesurage. Les appareils de
nitions donnés dans les langues officielles peuvent être considérés
mesurage ne doivent pas donner lieu à des erreurs de mesurage
comme étant des termes et définitions de I’ISO.
dépassant 1/3 de la tolérance à vérifier.
La présente Norme internationale traite seulement du contrôle
3.3 L’ordre dans lequel les opérations de contrôle géométri-
de la précision de la machine. Elle ne concerne ni l’examen du
que sont énumérées correspond aux ensembles constitutifs de
fonctionnement de la machine (vibrations, bruits anormaux,
la machine et ne définit nullement l’ordre réel des opérations de
points durs dans les déplacements d’organes, etc.), ni celui de
mesurage. Pour des raisons de facilité des opérations de con-
ses caractéristiques (vitesses, avances, etc. 1, examens qui doi-
trôle et de montage des appareils de mesurage, on peut procé-
vent, en général, précéder celui de la précision.
der aux vérifications dans un ordre entièrement différent.
La présente Norme internationale s’applique aux machines
3.4 II n’est pas toujours possible, ni nécessaire, lors de I’exa-
désignées sous le numéro 82.2 de I’ISO 79841).
men d’une machine, d’effectuer la totalité des essais figurant
dans la présente Norme internationale.
3.5 II appartient à l’utilisateur de choisir, en accord avec le
2 Référence normative
constructeur, les seules épreuves correspondant aux organes
existant sur la machine ou aux propriétés qui l’intéressent et qui
La norme suivante contient des dispositions qui, par suite de la
référence qui en est faite, constituent des dispositions valables doivent être clairement précisées dans la commande.
pour la présente Norme internationale. Au moment de la publi-
cation de cette norme, l’édition indiquée était en vigueur. Toute 36 . Un mouvement est longitudinal lorsqu’il a lieu dans le
norme est sujette à révision et les parties prenantes des accords sens d’avance de la pièce.
fondés sur cette Norme internationale sont invitées à recher-
cher la possibilité d’appliquer l’édition la plus récente de la 3.7 Lorsque l’écart est déterminé pour une étendue de mesu-
rage différente de celle indiquée dans la présente Norme inter-
norme indiquée ci-après. Les membres de la CEI et de I’ISO
possèdent le registre des Normes internationales en vigueur à nationale (voir 2.311 de I’ISO 2304 1, il y a lieu de tenir compte
un moment donné. de ce que la valeur minimale de l’écart à retenir est 0,Ol mm.
ISO 7984 : 1988, Machines à bois - Classification technique des machines à travailler le bois et des machines auxiliaires à travailler le bois.
1)
4 Nomenclature
62 .
51 .
T
I. -
r
I
I
‘-72 .
I
/ 1.b
I
-
I ’
ISO 7988 : 1988 (F)
0 0
ISO 7988 : 1988 (FI
10 . 1
.
v
I
-
-
J
ti
-
.
10 . 7
ISO 7988 : 1988 (FI
Anglais
Français Russe
Repère
Double-end tenoning ClaHOK UJWlOpe3H blti
Machine double à
machine ~ByXCTOpOHHMii
tenonner
Ossature Framework KapKaC
Main frame saddle (fixed) rnaBHaF1 CTaHMHa, HerIOABWKHaR
1.1 Bâti principal - montant fixe
rflaBHaF1 CTaHIrtHa, nOflBWKHaFi
Bâti principal - montant mobile Main frame saddle (adjustable)
1.2
Bed - guide-rail (front) CTOn - Kpyrnafi 3y6WTafi petiKa
1.3 Banc - crémaillére ronde
- guide-rail (rear) nnocKaf4 3y6qaTaR peWKa
Banc - crémaillére plate Bed CTOfl -
1.4
Traverse screw(s) flOfleperHblti XOQOBOti BMHT
1.5 Système fileté de déplacement
transversal
Traverse motor ABwaTenb noneperHor0 nepeMeqeHwi
1.6 Moteur de déplacement transversal
Support de presseurs supérieurs Support for top holddown pressure Cynnop~ BepxHero npw+wMa
1.7
assembly
Montant porte-unités Cutter head column KonOHHapa6oreW rOnoBKM
1.8
Déplacement des pièces et/ou outils Feed of workpiece and/or tools llofiaqa AeraneH H/HIIH HHcrpynmetira
Feed drive ABMraTenb noAari4
2.1 Moteur d’entraînement
3 Support, maintien et guidage des Workpiece support, clamp and guide Onopa, KpenneHHe H tianpasneHxe Aeranei3
pièces
Chain feed
3.1 Chaîne d’alimentation tianpasruwo~afl uenb
Chaîne de pressage supérieur Top pressure belt (or chain) PeMeHb (ww qenb) BepxHero npw+wMa
3.2
Guide d’alimentation Infeed fente Hanpasnfwqafl qenM
3.3
Guide de sortie Outfeed support BblXOQHaR Hanpasnfw~afi
3.4
Poutre de pressage supérieur Top pressure beam EianKa BepxHero npw+wMa
3.5
Levier de rouleau Top pressure wheel assembly PyKORTKa IlpWKMMHOrO pOnMKa
3.6
3.7 Entraînement du pressage supérieur Drive for top pressure belt (or chain) np~~oq BepxHero npumr/rMa
Height adjustment for top pressure BepTMKanbHafl peryni4poBKa BepxHero
3.8 Réglage vertical du presseur supérieur
assembly npMxMMa
Feed dogs @HKCaTOpbl
3.9 Taquets
Porte-outils et outils Tool-holders and tools &?p>r
Scoring cutter ronoBKa npope3HoM nMnbi
4.1 Unité d’incisage
Unité de déchiquetage Hogging head and/or trimsaw 3arMcTHafl ronoBKa
4.2
Vertical milling head (or tope) 0pe3epHafl ronoBKa
4.3 Unité de fraisage
Workhead and tool drives
5 Unité de travail et son entraînement Pa6oqan ronoma H ee npbmo~bi
Changeur de fréquence Frequency changer llpeo6pa30BaTenb qacToTbt
5.1
Commandes Controls Ynpaenewie
6.1 Boîte de commande Operator’s console IlynbT ynpaBneHiwi
Armoire électrique Electrical enclosure 3JleKTpol.uKac#I
6.2
Master switc h rnaBHblh py6WlbHMK
6.3 Interrupteur principal
Commutateur de fréquence Frequency changer switch YacToTH bll;i nepertn toqaTen b
6.4
6.5 Branchement électrique Electrical connection 3neKTponpoBo~Ka
Compressed air connection flo~coe~wieHi4e cXaror0 Bo3Ayxa
6.6 Branchement air comprimé
7 Dispositifs de securite (exemples) Safety devices (examples) nPeAOXpaHMTWlbH ble YCTpOkTBa (npl4Mepbl)
Capot d’insonorisation Sound enclosure wyM03alQMTH bl fi KOIKyX
7.1
7.2 Fil interrupteur urgence Emergency trip-wire flpOBOp, aBapldlHOfi OCTaHOBKM
Infeed chain guard 3aiqtiTa HanpaBnfwiqeM qenM
7.3 Protecteur chaîne alimentation
7.4 Protecteur-presseur supérieur Top holddown driv
...


















Questions, Comments and Discussion
Ask us and Technical Secretary will try to provide an answer. You can facilitate discussion about the standard in here.
Loading comments...