ISO 7959:1987
(Main)Woodworking machines — Double edging precision circular sawing machines — Nomenclature and acceptance conditions
Woodworking machines — Double edging precision circular sawing machines — Nomenclature and acceptance conditions
Specifies the nomenclature appropriate to each part of the machine (in English, French and Russian, and the eqivalent terms in German, Spanish, Italian and Swedish) and the geometrical and practiacal tests for these sawing machines, and gives the corresponding permissible deviations which apply to machines of general purpose use and normal accuracy. It deals only with the verification of the accuracy of the machine. It does not apply to the testing of the running of the machine nor to its characteristics which should generally be checked before the accuracy is tested.
Machines à bois — Machines à scier, à déligner, multilames, de finition — Nomenclature et conditions de réception
General Information
- Status
- Withdrawn
- Publication Date
- 04-Nov-1987
- Withdrawal Date
- 04-Nov-1987
- Technical Committee
- ISO/TC 39/SC 4 - Woodworking machines
- Drafting Committee
- ISO/TC 39/SC 4 - Woodworking machines
- Current Stage
- 9599 - Withdrawal of International Standard
- Start Date
- 25-Jun-2019
- Completion Date
- 12-Feb-2026
Relations
- Effective Date
- 06-Jun-2022
ISO 7959:1987 - Woodworking machines -- Double edging precision circular sawing machines -- Nomenclature and acceptance conditions
ISO 7959:1987 - Machines a bois -- Machines a scier, a déligner, multilames, de finition -- Nomenclature et conditions de réception
ISO 7959:1987 - Machines a bois -- Machines a scier, a déligner, multilames, de finition -- Nomenclature et conditions de réception
Get Certified
Connect with accredited certification bodies for this standard
Gozdarski inštitut Slovenije
Slovenian Forestry Institute. Forest management certification support, timber testing.
Sponsored listings
Frequently Asked Questions
ISO 7959:1987 is a standard published by the International Organization for Standardization (ISO). Its full title is "Woodworking machines — Double edging precision circular sawing machines — Nomenclature and acceptance conditions". This standard covers: Specifies the nomenclature appropriate to each part of the machine (in English, French and Russian, and the eqivalent terms in German, Spanish, Italian and Swedish) and the geometrical and practiacal tests for these sawing machines, and gives the corresponding permissible deviations which apply to machines of general purpose use and normal accuracy. It deals only with the verification of the accuracy of the machine. It does not apply to the testing of the running of the machine nor to its characteristics which should generally be checked before the accuracy is tested.
Specifies the nomenclature appropriate to each part of the machine (in English, French and Russian, and the eqivalent terms in German, Spanish, Italian and Swedish) and the geometrical and practiacal tests for these sawing machines, and gives the corresponding permissible deviations which apply to machines of general purpose use and normal accuracy. It deals only with the verification of the accuracy of the machine. It does not apply to the testing of the running of the machine nor to its characteristics which should generally be checked before the accuracy is tested.
ISO 7959:1987 is classified under the following ICS (International Classification for Standards) categories: 01.040.79 - Wood technology (Vocabularies); 79.120.10 - Woodworking machines. The ICS classification helps identify the subject area and facilitates finding related standards.
ISO 7959:1987 has the following relationships with other standards: It is inter standard links to ISO 659:1998. Understanding these relationships helps ensure you are using the most current and applicable version of the standard.
ISO 7959:1987 is available in PDF format for immediate download after purchase. The document can be added to your cart and obtained through the secure checkout process. Digital delivery ensures instant access to the complete standard document.
Standards Content (Sample)
ISO
INTERNATIONAL STANDARD
First edition
~ 1987-11-15
INTERNATIONAL ORGANIZATION FOR STANDARDIZATION
ORGANISATION INTERNATIONALE DE NORMALISATION
MEX~YHAPO,LJHAR OPTAHM3A~Mfl fl0 CTAH~APTM3A~MM
Woodworking machines - Double edging precision
circular sawing machines -
Nomenclature and acceptance
conditions
Machines 3 bois - Machines 2 stier, AJ deligner, multilames, de finition - Nomenclature et
conditions de rkep tion
Reference number
ISO 7959 : 1987 (E)
Foreword
ISO (the International Organization for Standardization) is a worldwide federation of
national Standards bodies (ISO member bodies). The work of preparing International
Standards is normally carried out through ISO technical committees. Esch member
body interested in a subject for which a technical committee has been established has
the right to be represented on that committee. International organizations, govern-
mental and non-governmental, in liaison with ISO, also take part in the work.
Draft International Standards adopted by the technical committees are circulated to
the member bodies for approval before their acceptance as International Standards by
the ISO Council. They are approved in accordance with ISO procedures requiring at
least 75 % approval by the member bodies voting.
International Standard ISO 7959 was prepared by Technical Committee ISO/TC 39,
Machine tools.
Users should note that all International Standards undergo revision from time to time
and that any reference made herein to any other International Standard implies its
latest edition, unless otherwise stated.
International Organkation for Standardkation, 1987
Printed in Switzerland
INTERNATIONAL STANDARD ISO 7959 : 1987 (E)
Woodworking machines - Double edging precision
circular sawing machines - Nomenclature and acceptance
conditions
1 Scope and field of application 3 Preliminary remarks
This International Standard specifies the nomenclature
3.1 In this International Standard all dimensions and permiss-
appropriate to each part of the machine and, with reference to
ible deviations are expressed in millimetres.
ISO 230-1, the geometrical and practical tests for double
edging precision circular sawing machines, and gives the cor-
responding permissible deviations which apply to machines of
3.2 To apply this International Standard, reference should be
general purpose use and normal accuracy.
made to ISO 230-1, especially for installation of the machine
before testing, the warming up of the main spindle and other
NOTE - In addition to terms used in the three official ISO languages
moving Parts, and the description of the measuring methods.
(English, French and Russian), this International Standard gives the
The measuring instruments shall not permit measurement
equivalent terms in the German, Spanish, Italian and Swedish
errors over 1/3 of the checked tolerantes.
languages in an annex; these have been included at the request of
Technical Committee ISO/TC 39 and are published under the responsi-
bility of the member bodies for Germany, F.R. (DIN), Spain (IRANOR),
Italy (UNI) and Sweden (SIS). However, only the terms given in the 3.3 The sequence in which the geometrical tests are given is
official languages tan be considered as ISO terms. related to the sub-assemblies of the machine, and this in no
way defines the practical Order of testing. In Order to make
This International Standard deals only with the verification of
mounting of instruments and gauging easier, tests may be
the accuracy of the machine. lt does not apply to the testing of
applied in any Order.
the running of the machine (vibrations, abnormal noises, stick-
Slip motion of the components, etc.), nor to its characteristics
3.4 When inspecting a machine, it is not always possible or
(Speeds, feeds, etc.) which should generally be checked before
necessary to carry out all the tests given in this International
the accuracy is tested.
Standard.
This International Standard applies to those machines
designated by the number 12.132.34 in ISO 7934.
3.5 lt is up to the user to choose, in agreement with the
manufacturer, those tests relating to the properties which are
The annex does not form an integral part of this International
of interest to him, but these tests shall be clearly stated when
Standard.
ordering a machine.
2 References
3.6 A movement is longitudinal when it takes place in the
ISO 230-1, Acceptance Code for machine tools - Part 7 :
working direction of the piece.
Geometrie accuracy of machines operating under no-load or
finishing conditions.
3.7 When establishing the tolerante for a measuring range
different from that given in this International Standard (sec
I S 0 7984, Woodworking machines - Technical classifica tion
subclause 2.311 in ISO 230-l), it should be taken into con-
of woodworking machines and auxiliary machines for wood-
working. sideration that the minimum value of the tolerante is 0,Ol mm.
ISO 7959 : 1987 (El
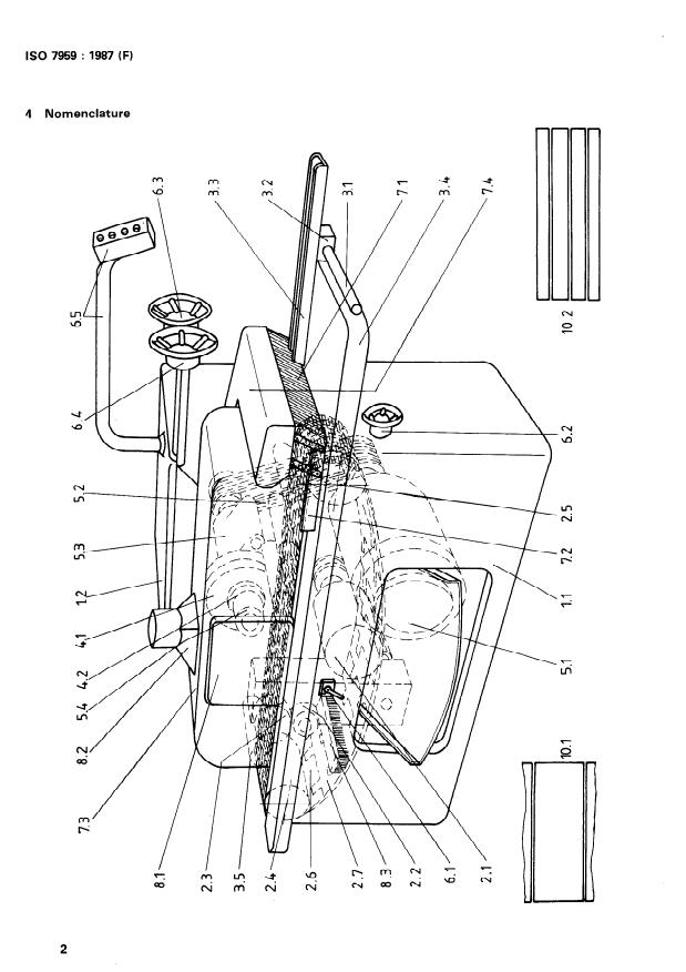
4 Nomenclature
m
Ln
--I
ISO7959 :1987 (El
French Russian
English
Refer-
Machines a stier, 6 deligner,
Double edging precision CTZiHKH KpyrJlOnLlflbHblt?
ence
multilames, de finition MHOrO~l+lCKOBble KPOMKO-06pe3H ble
circular sawing machines
Ossature Kapxac
1 Framework
Bati principal rJIaBHaFi CTaHI4Ha
1.1 Main frame
Bati auxiliaire BCnOMOraTeflbHaFl CTaHMHa
1.2 Over-arm
Deplacement des pieces et/ou lloflara AeTaneii HhJlH HHCTPyMeHTa
2 Feed of workpiece and/or tools
outils
Moteur d’amenage ABwaTenb noAarr/r
2.1 Feed motor
Boite de vitesses Kopo6KaCKOpOCTeti
2.2 Feed gear
Feed chain drive gearing Pignon d’entrainement du tapis Chaine LlJecTepHfl npi4Bojqa noflatoqeti u,envr
2.3
Arbre d’entrainement du tapis Chaine 6apa6aH nogatoiqeti uenr4
2.4 Feed chain drive Sprocket
Feed chain idler pulley Poulie de renvoi du tapis Chaine LUKIAB KoHTpnpHBoAa nop,aiotqeti qenui
2.5
Tapis c haine
2.6 lloflatoujafl qenb
Feed chain
Maillon de Chaine 3BeHO qenu
2.7 Feed chain link
Support, maintien et guidage
3 Workpiece support, clamp and Onopa, KpenneHr4e w HanpasneHue
des pieces
guide AeTaneH
Axe porte-guide t-ianpaBnwotqaFi U]TaHra
3.1 Fence bar
Fence body Fixation du guide KpenneHme HanpaBnwotqeti wTaHrH
3.2
Guide tianpasnatotqafi nHHetiKa
3.3 Fence
3.4 Infeed table Ta ble d’entree BXOAHO~~ cTon
Rouleau presseur npi4xi4M~Oti pont4K
3.5 Pressure roller
Porte-outils et outils AepNG9BKkl HHCTPyMeHTa
4 Tool-holders and tools
H HHCTPyMeHT
4.1 Sawblade Lame de scie nVlJlbHbl1;1 ,4iACK
Bague entretoise
4.2 Spacer PacnopHafl rwb3a
Unite de travail et son entrainement PaGoraH l-OIlOBKa H npklBO/J HHCTPyMeHTa
5 Workhead and tool drives
5.1 Saw motor Moteur de sciage flBuraTenb
Courroie I~~VIBO~HOLI peMeHb
5.2 V-belt drive
5.3 Saw spindle bearing Palier de brache de scie nO#.WInHVIK tunHHflenfi
Brache de scie LLltwHflenb nMnbHor0 gucKa
5.4 Saw spindle
Commandes Ynpasnebw4e
6 Controls
Commutateur general
6.1 Control gear OCHOBHOW nepeKn toqaa-renb
6.2 Commande de I’avance PerynHpoBKa noAaw
Feed Speed adjustment
6.3 Top pressure rise and fall adjustment Commande de reglage vertical du bati PerynupoBKa nepeMeqeHi4fl no BepTMKanM
superieur
6.4 Spindle rise and fall adjustment Commande de reglage du palier BepTuKanbHafl peryni4poBKa tunuH~enfi
Tableau de commande sur bras nyJI bT ynpaBneHmFi Ha KpOHUJTetiHe
6.5 Arm-mounted control Panel
7 Dispositifs de securite (exemples) !-@eJjOXpaHHTt?JlbH ble YCTpOtiCTBa
Safety
...
ISO
NORME INTERNATIONALE 7959
Première édition
1987-11-15
INTERNATIONAL ORGANIZATION FOR STANDARDIZATION
ORGANISATION INTERNATIONALE DE NORMALISATION
MEXflYHAPOflHAFI OPI-AHM3A~MR Il0 CTAHflAPTM3A~MM
Machines à bois - Machines à scier, à déligner,
Nomenclature et conditions
multilames, de finition -
de réception
Woodworking machines - Double edging precision circular sawing machines -
Nomencla turc and accep tance conditions
Numéro de référence
ISO 7959 : 1987 (F)
Avant-propos
L’ISO (Organisation internationale de normalisation) est une fédération mondiale
d’organismes nationaux de normalisation (comités membres de I’ISO). L’élaboration
des Normes internationales est normalement confiée aux comités techniques de I’ISO.
Chaque comité membre intéressé par une étude a le droit de faire partie du comité
technique créé à cet effet. Les organisations internationales, gouvernementales et non
gouvernementales, en liaison avec I’ISO participent également aux travaux.
Les projets de Normes internationales adoptés par les comités techniques sont soumis
aux comités membres pour approbation, avant leur acceptation comme Normes inter-
nationales par le Conseil de I’ISO. Les Normes internationales sont approuvées confor-
mément aux procédures de I’ISO qui requièrent l’approbation de 75 % au moins des
comités membres votants.
La Norme internationale ISO 7959 a été élaborée par le comité technique ISO/TC 39,
Ma chines- outils.
L’attention des utilisateurs est attirée sur le fait que toutes les Normes internationales
sont de temps en temps soumises à révision et que toute référence faite à une autre
Norme internationale dans le présent document implique qu’il s’agit, sauf indication
contraire, de la dernière édition.
Organisation internationale de normalisation, 1987
Imprimé en Suisse
NORME INTERNATIONALE
ISO 7959 : 1987 (F)
Machines à bois - Machines à scier, à déligner,
multilames, de finition - Nomenclature et conditions
de réception
1 Objet et domaine d’application
3 Observations préliminaires
La présente Norme internationale indique la nomenclature
3.1 Dans la présente Norme internationale, toutes les dimen-
propre à chaque partie de la machine et, par référence à
sions et tous les écarts tolérés sont exprimés en millimètres.
I’ISO 239-1, les vérifications géométriques et les épreuves prati-
ques des machines à scier, à déligner, multilames, de finition,
3.2 Pour l’application de la présente Norme internationale, il y
ainsi que les écarts tolérés correspondant à des machines
a lieu de se reporter à I’ISO 230-1, notamment en ce qui con-
d’usage général et de précision normale.
cerne l’installation de la machine avant essais, la mise en tem-
- En supplément aux termes donnés dans les trois langues offi- pérature de la broche principale et des autres organes mobiles,
NOTE
cielles de I’ISO (anglais, frayais et russe), la présente Norme inter- ainsi que la description des méthodes de mesurage. Les appa-
nationale donne, en annexe, les termes équivalents en allemand, espa-
reils de mesurage ne doivent pas donner lieu à des erreurs de
gnol, italien et suédois; ces termes ont été inclus à la demande du comité
mesurage dépassant 1/3 de la tolérance à vérifier.
technique ISO/TC 39 et sont publiés sous la responsabilite des comités
membres de l’Allemagne, R.F. (DIN), de l’Espagne (IRANOR), de l’Italie
3.3 L’ordre dans lequel les opérations de contrôle géométri-
(UNI) et de la Suède (SIS). Toutefois, seuls les termes donnés dans les
langues officielles peuvent être considérés comme termes ISO. que sont énumérées correspond aux ensembles constitutifs de
la machine et ne définit nullement l’ordre réel des opérations de
La présente Norme internationale traite seulement du contrôle
mesurage. Pour des raisons de facilité des opérations de con-
de la précision de la machine. Elle ne concerne ni l’examen du
trôle et de montage des appareils de mesurage, on peut procé-
fonctionnement de la machine (vibrations, bruits anormaux,
der aux vérifications dans un ordre entièrement différent.
points durs dans les déplacements d’organes, etc.), ni celui de
ses caractéristiques (vitesses, avances, etc. 1, examens qui
3.4 II n’est pas toujours possible, ni nécessaire, lors de I’exa-
devraient, en général, précéder celui de la précision.
men d’une machine, d’effectuer la totalité des essais figurant
dans la présente Norme internationale.
La présente Norme internationale s’applique aux machines
désignées sous le numéro 12.132.34 de I’ISO 7994.
3.5 II appartient à l’utilisateur de choisir, en accord avec le
L’annexe ne fait pas partie intégrante de la présente Norme
constructeur, les seules épreuves correspondant aux organes
internationale.
existant sur la machine ou aux propriétés qui l’intéressent et qui
doivent être clairement précisées dans la commande.
2 Références
3.6 Un mouvement est longitudinal lorsqu’il a lieu dans le
sens d’avance de la pièce.
ISO 230-1, Code de réception des machines-outils - Partie 1:
P&ision géométrique des machines fonctionnant à vide ou
dans des conditions de finition. 3.7 Lorsque l’écart est déterminé pour une étendue de mesu-
rage différente de celle indiquée dans la présente Norme inter-
ISO 7984, Machines à bois - Classification technique des
nationale (voir paragraphe 2.311 de I’ISO 230-I), il y a lieu de
machines à travailler le bois et des machines auxiliaires à travail-
tenir compte de ce que la valeur minimale de l’écart à retenir est
ler le bois.
0,Ol mm.
ISO 7959 : 1987 (F)
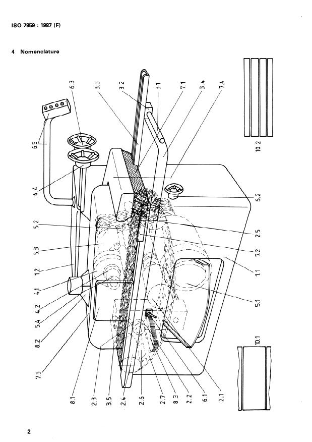
4 Nomenclature
cv
/
.
/
m
li
ISO 7959 : 1987 (FI
Russe
Anglais
Francais
Repère
Double edging precision CTâHKH KpyrJlOflWlbHble
Machines à scier, à déligner,
MHOrO~HCKOBble KPOMK096pe3H ble
circular sawing machines
multilames, de finition
Kapxac
Framework
1 Ossature
Main frame i-flaBHaFl CTaHMHa
1.1 Bâti principal
BCflOMOraTenbHafl CTaHMHa
Over-arm
1.2 Bâti auxiliaire
lloaaria AeraneGi H/H~H wmpyn4ewa
2 Déplacement des pièces et/ou Feed of workpiece and/or tools
outils
Feed motor ABMraTenb noAaw4
2.1 Moteur d’amenage
KopoGKa CKOpOCTeti
Feed gear
2.2 Boîte de vitesses
Feed chain drive gearing UlecTepHfl npviBoAa noflamqeti qenu
2.3 Pignon d’entraînement du tapis chaîne
6apa6aH noAarorqeti qenr4
Feed chain drive sprocket
2.4 Arbre d’entraînement du tapis chaîne
Feed chain idler pulley UJKMB KoHTpnpMBoAa noAaioqeti qenM
2.5 Poulie de renvoi du tapis chaîne
Tapis chaîne Feed chain IloAaioqafl qen b
2.6
a
Feed chain link 3BeHO Qel-Wl
2.7 Maillon de chaîne
Support, maintien et guidage Workpiece support, clamp and Onopa, KpenneHHe H Hanpasnetib4e
des pièces guide AeTaneH
Fente bar Hanpaanatoqafr unatira
3.1 Axe porte-guide
Fixation du guide Fente body KpenneHue Hanpasnfuoiqeti uTaHri
3.2
Fente t-ianpasnatowafl ntdHeiiiKa
3.3 Guide
3.4 Table d’entrée Infeed table BXORHOGI CTO~
Pressure roller llp~xi4~~0M ponMK
3.5 Rouleau presseur
4 Porte-outils et outils Tool-holders and tools AepIKaBKl4 HHCTPyMeHTa
H HHCTPYMeHT
4.1 Lame de scie Sawblade i%lnbHblti AMCK
4.2 Bague entretoise Spacer PacnopHafi rvin b3a
Unité de travail et son entraînement Workhead and tool drives PaGoraa f-OIlOBKa H npblBO8 HHCTPyMeHTa
5.1 Moteur de sciage Saw motor ABwaTenb
Courroie V-belt drive llp~B0~~0M peMeHb
5.2
5.3 Palier de broche de scie Saw spindle bearing nOAUJMnHMK unwHflenfl
5.4 Broche de scie Saw spindle UlntiHfienb nvwbHor0 AwcKa
6 Commandes Controls Ynpasnewde
Commutateur général Control gear OCHOBHOIA nepeKn toc(aTenb
6.1
6.2 Commande de l’avance Feed speed adjustment Peryni4poBKa nogaw
Commande de réglage vertical du bâti
6.3 Top pressure rise and fall adjustment PerynupoBKa nepeMeiqeHMR no BepTuKanM
supérieur
6.4 Commande de réglage du palier Spindle rise and fall adjustment TMKanbHaFI perynM poBKa unMHflenfl
BeP
6.5 Tableau de commande sur bras Arm-mounted control pane1 bT ynpaBneHwi Ha KpOHUlTetiHe
nYn
7 Dispositifs de sécurité (exemples) Safety devices (examples) i=lpe~OXpaHblTeJlbHble YCTpOiiCTBa
(npMMepbl)
7.1 Linguets anti-recul Anti-kickback f ingers npOTMBOB03BpaTHble UlflOHKM
7.2 Protecteur latéral Side guard plate
60KoBaR 3aqMTHafi nnaHKa
7.3 Capot supérieur Upper housing BepxHW KO>KyX
7.4 Capot anti-recul Anti-kickb
...
ISO
NORME INTERNATIONALE 7959
Première édition
1987-11-15
INTERNATIONAL ORGANIZATION FOR STANDARDIZATION
ORGANISATION INTERNATIONALE DE NORMALISATION
MEXflYHAPOflHAFI OPI-AHM3A~MR Il0 CTAHflAPTM3A~MM
Machines à bois - Machines à scier, à déligner,
Nomenclature et conditions
multilames, de finition -
de réception
Woodworking machines - Double edging precision circular sawing machines -
Nomencla turc and accep tance conditions
Numéro de référence
ISO 7959 : 1987 (F)
Avant-propos
L’ISO (Organisation internationale de normalisation) est une fédération mondiale
d’organismes nationaux de normalisation (comités membres de I’ISO). L’élaboration
des Normes internationales est normalement confiée aux comités techniques de I’ISO.
Chaque comité membre intéressé par une étude a le droit de faire partie du comité
technique créé à cet effet. Les organisations internationales, gouvernementales et non
gouvernementales, en liaison avec I’ISO participent également aux travaux.
Les projets de Normes internationales adoptés par les comités techniques sont soumis
aux comités membres pour approbation, avant leur acceptation comme Normes inter-
nationales par le Conseil de I’ISO. Les Normes internationales sont approuvées confor-
mément aux procédures de I’ISO qui requièrent l’approbation de 75 % au moins des
comités membres votants.
La Norme internationale ISO 7959 a été élaborée par le comité technique ISO/TC 39,
Ma chines- outils.
L’attention des utilisateurs est attirée sur le fait que toutes les Normes internationales
sont de temps en temps soumises à révision et que toute référence faite à une autre
Norme internationale dans le présent document implique qu’il s’agit, sauf indication
contraire, de la dernière édition.
Organisation internationale de normalisation, 1987
Imprimé en Suisse
NORME INTERNATIONALE
ISO 7959 : 1987 (F)
Machines à bois - Machines à scier, à déligner,
multilames, de finition - Nomenclature et conditions
de réception
1 Objet et domaine d’application
3 Observations préliminaires
La présente Norme internationale indique la nomenclature
3.1 Dans la présente Norme internationale, toutes les dimen-
propre à chaque partie de la machine et, par référence à
sions et tous les écarts tolérés sont exprimés en millimètres.
I’ISO 239-1, les vérifications géométriques et les épreuves prati-
ques des machines à scier, à déligner, multilames, de finition,
3.2 Pour l’application de la présente Norme internationale, il y
ainsi que les écarts tolérés correspondant à des machines
a lieu de se reporter à I’ISO 230-1, notamment en ce qui con-
d’usage général et de précision normale.
cerne l’installation de la machine avant essais, la mise en tem-
- En supplément aux termes donnés dans les trois langues offi- pérature de la broche principale et des autres organes mobiles,
NOTE
cielles de I’ISO (anglais, frayais et russe), la présente Norme inter- ainsi que la description des méthodes de mesurage. Les appa-
nationale donne, en annexe, les termes équivalents en allemand, espa-
reils de mesurage ne doivent pas donner lieu à des erreurs de
gnol, italien et suédois; ces termes ont été inclus à la demande du comité
mesurage dépassant 1/3 de la tolérance à vérifier.
technique ISO/TC 39 et sont publiés sous la responsabilite des comités
membres de l’Allemagne, R.F. (DIN), de l’Espagne (IRANOR), de l’Italie
3.3 L’ordre dans lequel les opérations de contrôle géométri-
(UNI) et de la Suède (SIS). Toutefois, seuls les termes donnés dans les
langues officielles peuvent être considérés comme termes ISO. que sont énumérées correspond aux ensembles constitutifs de
la machine et ne définit nullement l’ordre réel des opérations de
La présente Norme internationale traite seulement du contrôle
mesurage. Pour des raisons de facilité des opérations de con-
de la précision de la machine. Elle ne concerne ni l’examen du
trôle et de montage des appareils de mesurage, on peut procé-
fonctionnement de la machine (vibrations, bruits anormaux,
der aux vérifications dans un ordre entièrement différent.
points durs dans les déplacements d’organes, etc.), ni celui de
ses caractéristiques (vitesses, avances, etc. 1, examens qui
3.4 II n’est pas toujours possible, ni nécessaire, lors de I’exa-
devraient, en général, précéder celui de la précision.
men d’une machine, d’effectuer la totalité des essais figurant
dans la présente Norme internationale.
La présente Norme internationale s’applique aux machines
désignées sous le numéro 12.132.34 de I’ISO 7994.
3.5 II appartient à l’utilisateur de choisir, en accord avec le
L’annexe ne fait pas partie intégrante de la présente Norme
constructeur, les seules épreuves correspondant aux organes
internationale.
existant sur la machine ou aux propriétés qui l’intéressent et qui
doivent être clairement précisées dans la commande.
2 Références
3.6 Un mouvement est longitudinal lorsqu’il a lieu dans le
sens d’avance de la pièce.
ISO 230-1, Code de réception des machines-outils - Partie 1:
P&ision géométrique des machines fonctionnant à vide ou
dans des conditions de finition. 3.7 Lorsque l’écart est déterminé pour une étendue de mesu-
rage différente de celle indiquée dans la présente Norme inter-
ISO 7984, Machines à bois - Classification technique des
nationale (voir paragraphe 2.311 de I’ISO 230-I), il y a lieu de
machines à travailler le bois et des machines auxiliaires à travail-
tenir compte de ce que la valeur minimale de l’écart à retenir est
ler le bois.
0,Ol mm.
ISO 7959 : 1987 (F)
4 Nomenclature
cv
/
.
/
m
li
ISO 7959 : 1987 (FI
Russe
Anglais
Francais
Repère
Double edging precision CTâHKH KpyrJlOflWlbHble
Machines à scier, à déligner,
MHOrO~HCKOBble KPOMK096pe3H ble
circular sawing machines
multilames, de finition
Kapxac
Framework
1 Ossature
Main frame i-flaBHaFl CTaHMHa
1.1 Bâti principal
BCflOMOraTenbHafl CTaHMHa
Over-arm
1.2 Bâti auxiliaire
lloaaria AeraneGi H/H~H wmpyn4ewa
2 Déplacement des pièces et/ou Feed of workpiece and/or tools
outils
Feed motor ABMraTenb noAaw4
2.1 Moteur d’amenage
KopoGKa CKOpOCTeti
Feed gear
2.2 Boîte de vitesses
Feed chain drive gearing UlecTepHfl npviBoAa noflamqeti qenu
2.3 Pignon d’entraînement du tapis chaîne
6apa6aH noAarorqeti qenr4
Feed chain drive sprocket
2.4 Arbre d’entraînement du tapis chaîne
Feed chain idler pulley UJKMB KoHTpnpMBoAa noAaioqeti qenM
2.5 Poulie de renvoi du tapis chaîne
Tapis chaîne Feed chain IloAaioqafl qen b
2.6
a
Feed chain link 3BeHO Qel-Wl
2.7 Maillon de chaîne
Support, maintien et guidage Workpiece support, clamp and Onopa, KpenneHHe H Hanpasnetib4e
des pièces guide AeTaneH
Fente bar Hanpaanatoqafr unatira
3.1 Axe porte-guide
Fixation du guide Fente body KpenneHue Hanpasnfuoiqeti uTaHri
3.2
Fente t-ianpasnatowafl ntdHeiiiKa
3.3 Guide
3.4 Table d’entrée Infeed table BXORHOGI CTO~
Pressure roller llp~xi4~~0M ponMK
3.5 Rouleau presseur
4 Porte-outils et outils Tool-holders and tools AepIKaBKl4 HHCTPyMeHTa
H HHCTPYMeHT
4.1 Lame de scie Sawblade i%lnbHblti AMCK
4.2 Bague entretoise Spacer PacnopHafi rvin b3a
Unité de travail et son entraînement Workhead and tool drives PaGoraa f-OIlOBKa H npblBO8 HHCTPyMeHTa
5.1 Moteur de sciage Saw motor ABwaTenb
Courroie V-belt drive llp~B0~~0M peMeHb
5.2
5.3 Palier de broche de scie Saw spindle bearing nOAUJMnHMK unwHflenfl
5.4 Broche de scie Saw spindle UlntiHfienb nvwbHor0 AwcKa
6 Commandes Controls Ynpasnewde
Commutateur général Control gear OCHOBHOIA nepeKn toc(aTenb
6.1
6.2 Commande de l’avance Feed speed adjustment Peryni4poBKa nogaw
Commande de réglage vertical du bâti
6.3 Top pressure rise and fall adjustment PerynupoBKa nepeMeiqeHMR no BepTuKanM
supérieur
6.4 Commande de réglage du palier Spindle rise and fall adjustment TMKanbHaFI perynM poBKa unMHflenfl
BeP
6.5 Tableau de commande sur bras Arm-mounted control pane1 bT ynpaBneHwi Ha KpOHUlTetiHe
nYn
7 Dispositifs de sécurité (exemples) Safety devices (examples) i=lpe~OXpaHblTeJlbHble YCTpOiiCTBa
(npMMepbl)
7.1 Linguets anti-recul Anti-kickback f ingers npOTMBOB03BpaTHble UlflOHKM
7.2 Protecteur latéral Side guard plate
60KoBaR 3aqMTHafi nnaHKa
7.3 Capot supérieur Upper housing BepxHW KO>KyX
7.4 Capot anti-recul Anti-kickb
...












Questions, Comments and Discussion
Ask us and Technical Secretary will try to provide an answer. You can facilitate discussion about the standard in here.
Loading comments...