ASTM D92-18
(Test Method)Standard Test Method for Flash and Fire Points by Cleveland Open Cup Tester
Standard Test Method for Flash and Fire Points by Cleveland Open Cup Tester
SIGNIFICANCE AND USE
5.1 The flash point is one measure of the tendency of the test specimen to form a flammable mixture with air under controlled laboratory conditions. It is only one of a number of properties that should be considered in assessing the overall flammability hazard of a material.
5.2 Flash point is used in shipping and safety regulations to define flammable and combustible materials. Consult the particular regulation involved for precise definitions of these classifications.
5.3 Flash point can indicate the possible presence of highly volatile and flammable materials in a relatively nonvolatile or nonflammable material. For example, an abnormally low flash point on a test specimen of engine oil can indicate gasoline contamination.
5.4 This test method shall be used to measure and describe the properties of materials, products, or assemblies in response to heat and a test flame under controlled laboratory conditions and shall not be used to describe or appraise the fire hazard or fire risk of materials, products, or assemblies under actual fire conditions. However, results of this test method may be used as elements of a fire risk assessment that takes into account all of the factors that are pertinent to an assessment of the fire hazard of a particular end use.
5.5 The fire point is one measure of the tendency of the test specimen to support combustion.
SCOPE
1.1 This test method describes the determination of the flash point and fire point of petroleum products by a manual Cleveland open cup apparatus or an automated Cleveland open cup apparatus.
Note 1: The precisions for fire point were not determined in the current interlaboratory program. Fire point is a parameter that is not commonly specified, although in some cases, knowledge of this flammability temperature may be desired.
1.2 This test method is applicable to all petroleum products with flash points above 79 °C (175 °F) and below 400 °C (752 °F) except fuel oils.
Note 2: This test method may occasionally be specified for the determination of the fire point of a fuel oil. For the determination of the flash points of fuel oils, use Test Method D93. Test Method D93 should also be used when it is desired to determine the possible presence of small but significant concentrations of lower flash point substances that may escape detection by Test Method D92. Test Method D1310 can be employed if the flash point is known to be below 79 °C (175 °F).
1.3 The values stated in SI units are to be regarded as the standard.
1.3.1 Exception—The values given in parentheses are for information only.
1.4 WARNING—Mercury has been designated by many regulatory agencies as a hazardous substance that can cause serious medical issues. Mercury, or its vapor, has been demonstrated to be hazardous to health and corrosive to materials. Use Caution when handling mercury and mercury-containing products. See the applicable product Safety Data Sheet (SDS) for additional information. The potential exists that selling mercury or mercury-containing products, or both, is prohibited by local or national law. Users must determine legality of sales in their location.
1.5 This standard does not purport to address all of the safety concerns, if any, associated with its use. It is the responsibility of the user of this standard to establish appropriate safety, health, and environmental practices and determine the applicability of regulatory limitations prior to use. For specific warning statements, see 6.4, 7.1, 11.1.3, and 11.2.4.
1.6 This international standard was developed in accordance with internationally recognized principles on standardization established in the Decision on Principles for the Development of International Standards, Guides and Recommendations issued by the World Trade Organization Technical Barriers to Trade (TBT) Committee.
General Information
- Status
- Published
- Publication Date
- 30-Jun-2018
- Technical Committee
- D02 - Petroleum Products, Liquid Fuels, and Lubricants
- Drafting Committee
- D02.08 - Volatility
Relations
- Effective Date
- 01-Aug-2020
- Effective Date
- 01-Jun-2018
- Effective Date
- 15-Jul-2013
- Effective Date
- 15-Jul-2013
- Effective Date
- 01-Jun-2013
- Effective Date
- 01-May-2013
- Effective Date
- 01-Nov-2012
- Refers
ASTM D4057-06(2011) - Standard Practice for Manual Sampling of Petroleum and Petroleum Products - Effective Date
- 01-Jun-2011
- Effective Date
- 15-Feb-2010
- Effective Date
- 15-Oct-2008
- Effective Date
- 01-Nov-2007
- Effective Date
- 01-Jun-2007
- Effective Date
- 01-Jun-2007
- Effective Date
- 01-May-2007
- Effective Date
- 01-Feb-2007
Overview
ASTM D92-18: Standard Test Method for Flash and Fire Points by Cleveland Open Cup Tester is an internationally recognized standard developed by ASTM International. This document outlines laboratory procedures for determining the flash and fire points of petroleum products using a manual or automated Cleveland Open Cup (COC) apparatus. The flash point of a material indicates the lowest temperature at which its vapors can ignite in air, while the fire point identifies the temperature at which vapors continue to burn for at least five seconds.
This standard is primarily applied to petroleum products with flash points above 79 °C (175 °F) and below 400 °C (752 °F), though it excludes most fuel oils. The test results are critical for shipping, storage, safety regulations, and overall assessment of flammable and combustible materials.
Key Topics
- Flash Point Measurement: The flash point is a key indicator of a material’s flammability risk. Using the Cleveland Open Cup method provides standardized, reproducible results for regulatory and safety purposes.
- Fire Point Measurement: The fire point measures the ability of a material's vapors to support continuous combustion, providing additional insight into fire risk.
- Scope and Applicability: This method applies to lubricants, bitumen, and other high-flash petroleum products, but not typically to fuel oils or products with flash points below 79 °C.
- Test Apparatus: The Cleveland Open Cup tester is specified, available in both manual and automated versions. Apparatus condition, calibration, and proper use are essential for accurate results.
- Safety and Regulatory Compliance: Results from ASTM D92-18 are used in compliance with international safety standards and hazardous materials transportation regulations.
- Sample Preparation and Handling: Proper sampling methods are crucial to avoid contamination or loss of volatile components, ensuring valid test outcomes.
Applications
ASTM D92-18 is widely used in the petroleum industry, as well as by regulatory agencies and transportation authorities. Practical applications include:
- Shipping and Transportation: Determination of flash point is required for correct labeling, shipping classification, and compliance with international and national regulations for hazardous materials.
- Quality Control in Manufacturing: Refineries and lubricant manufacturers rely on flash and fire point determinations to verify product quality and detect contamination by more volatile substances.
- Fire Hazard Assessment: Flash and fire point results are important elements in fire hazard and risk assessment for storage and handling of petroleum products.
- Safety Data Sheets (SDS): Chemical manufacturers include ASTM D92-18 results as part of required hazard communication documentation.
- Incident Investigation: Abnormally low flash points can reveal contamination or improper blending in lubricating oils or other refined products.
Related Standards
- ASTM D93: Standard Test Methods for Flash Point by Pensky-Martens Closed Cup Tester - commonly used for fuel oils and products with lower flash points.
- ASTM D1310: Test Method for Flash Point and Fire Point by Tag Open-Cup Apparatus - for products below 79 °C (175 °F).
- ASTM D140, D4057, D4177, E300: Standards covering correct sampling practices for petroleum and industrial chemicals.
- ASTM E1: Specification for ASTM liquid-in-glass thermometers, applicable for temperature measurement in this method.
- ISO Guide 34/35: International requirements for reference material producers and certification, supporting apparatus calibration and method reproducibility.
Keywords: ASTM D92, flash point, fire point, Cleveland Open Cup, petroleum products, flammability, combustible materials, safety standards, hazardous materials transportation, laboratory testing, regulatory compliance.
Buy Documents
ASTM D92-18 - Standard Test Method for Flash and Fire Points by Cleveland Open Cup Tester
REDLINE ASTM D92-18 - Standard Test Method for Flash and Fire Points by Cleveland Open Cup Tester
Get Certified
Connect with accredited certification bodies for this standard

ABS Quality Evaluations Inc.
American Bureau of Shipping quality certification.

Element Materials Technology
Materials testing and product certification.

NSF International
Global independent organization facilitating standards development and certification.
Sponsored listings
Frequently Asked Questions
ASTM D92-18 is a standard published by ASTM International. Its full title is "Standard Test Method for Flash and Fire Points by Cleveland Open Cup Tester". This standard covers: SIGNIFICANCE AND USE 5.1 The flash point is one measure of the tendency of the test specimen to form a flammable mixture with air under controlled laboratory conditions. It is only one of a number of properties that should be considered in assessing the overall flammability hazard of a material. 5.2 Flash point is used in shipping and safety regulations to define flammable and combustible materials. Consult the particular regulation involved for precise definitions of these classifications. 5.3 Flash point can indicate the possible presence of highly volatile and flammable materials in a relatively nonvolatile or nonflammable material. For example, an abnormally low flash point on a test specimen of engine oil can indicate gasoline contamination. 5.4 This test method shall be used to measure and describe the properties of materials, products, or assemblies in response to heat and a test flame under controlled laboratory conditions and shall not be used to describe or appraise the fire hazard or fire risk of materials, products, or assemblies under actual fire conditions. However, results of this test method may be used as elements of a fire risk assessment that takes into account all of the factors that are pertinent to an assessment of the fire hazard of a particular end use. 5.5 The fire point is one measure of the tendency of the test specimen to support combustion. SCOPE 1.1 This test method describes the determination of the flash point and fire point of petroleum products by a manual Cleveland open cup apparatus or an automated Cleveland open cup apparatus. Note 1: The precisions for fire point were not determined in the current interlaboratory program. Fire point is a parameter that is not commonly specified, although in some cases, knowledge of this flammability temperature may be desired. 1.2 This test method is applicable to all petroleum products with flash points above 79 °C (175 °F) and below 400 °C (752 °F) except fuel oils. Note 2: This test method may occasionally be specified for the determination of the fire point of a fuel oil. For the determination of the flash points of fuel oils, use Test Method D93. Test Method D93 should also be used when it is desired to determine the possible presence of small but significant concentrations of lower flash point substances that may escape detection by Test Method D92. Test Method D1310 can be employed if the flash point is known to be below 79 °C (175 °F). 1.3 The values stated in SI units are to be regarded as the standard. 1.3.1 Exception—The values given in parentheses are for information only. 1.4 WARNING—Mercury has been designated by many regulatory agencies as a hazardous substance that can cause serious medical issues. Mercury, or its vapor, has been demonstrated to be hazardous to health and corrosive to materials. Use Caution when handling mercury and mercury-containing products. See the applicable product Safety Data Sheet (SDS) for additional information. The potential exists that selling mercury or mercury-containing products, or both, is prohibited by local or national law. Users must determine legality of sales in their location. 1.5 This standard does not purport to address all of the safety concerns, if any, associated with its use. It is the responsibility of the user of this standard to establish appropriate safety, health, and environmental practices and determine the applicability of regulatory limitations prior to use. For specific warning statements, see 6.4, 7.1, 11.1.3, and 11.2.4. 1.6 This international standard was developed in accordance with internationally recognized principles on standardization established in the Decision on Principles for the Development of International Standards, Guides and Recommendations issued by the World Trade Organization Technical Barriers to Trade (TBT) Committee.
SIGNIFICANCE AND USE 5.1 The flash point is one measure of the tendency of the test specimen to form a flammable mixture with air under controlled laboratory conditions. It is only one of a number of properties that should be considered in assessing the overall flammability hazard of a material. 5.2 Flash point is used in shipping and safety regulations to define flammable and combustible materials. Consult the particular regulation involved for precise definitions of these classifications. 5.3 Flash point can indicate the possible presence of highly volatile and flammable materials in a relatively nonvolatile or nonflammable material. For example, an abnormally low flash point on a test specimen of engine oil can indicate gasoline contamination. 5.4 This test method shall be used to measure and describe the properties of materials, products, or assemblies in response to heat and a test flame under controlled laboratory conditions and shall not be used to describe or appraise the fire hazard or fire risk of materials, products, or assemblies under actual fire conditions. However, results of this test method may be used as elements of a fire risk assessment that takes into account all of the factors that are pertinent to an assessment of the fire hazard of a particular end use. 5.5 The fire point is one measure of the tendency of the test specimen to support combustion. SCOPE 1.1 This test method describes the determination of the flash point and fire point of petroleum products by a manual Cleveland open cup apparatus or an automated Cleveland open cup apparatus. Note 1: The precisions for fire point were not determined in the current interlaboratory program. Fire point is a parameter that is not commonly specified, although in some cases, knowledge of this flammability temperature may be desired. 1.2 This test method is applicable to all petroleum products with flash points above 79 °C (175 °F) and below 400 °C (752 °F) except fuel oils. Note 2: This test method may occasionally be specified for the determination of the fire point of a fuel oil. For the determination of the flash points of fuel oils, use Test Method D93. Test Method D93 should also be used when it is desired to determine the possible presence of small but significant concentrations of lower flash point substances that may escape detection by Test Method D92. Test Method D1310 can be employed if the flash point is known to be below 79 °C (175 °F). 1.3 The values stated in SI units are to be regarded as the standard. 1.3.1 Exception—The values given in parentheses are for information only. 1.4 WARNING—Mercury has been designated by many regulatory agencies as a hazardous substance that can cause serious medical issues. Mercury, or its vapor, has been demonstrated to be hazardous to health and corrosive to materials. Use Caution when handling mercury and mercury-containing products. See the applicable product Safety Data Sheet (SDS) for additional information. The potential exists that selling mercury or mercury-containing products, or both, is prohibited by local or national law. Users must determine legality of sales in their location. 1.5 This standard does not purport to address all of the safety concerns, if any, associated with its use. It is the responsibility of the user of this standard to establish appropriate safety, health, and environmental practices and determine the applicability of regulatory limitations prior to use. For specific warning statements, see 6.4, 7.1, 11.1.3, and 11.2.4. 1.6 This international standard was developed in accordance with internationally recognized principles on standardization established in the Decision on Principles for the Development of International Standards, Guides and Recommendations issued by the World Trade Organization Technical Barriers to Trade (TBT) Committee.
ASTM D92-18 is classified under the following ICS (International Classification for Standards) categories: 13.220.40 - Ignitability and burning behaviour of materials and products; 75.080 - Petroleum products in general. The ICS classification helps identify the subject area and facilitates finding related standards.
ASTM D92-18 has the following relationships with other standards: It is inter standard links to ASTM D93-20, ASTM D4206-96(2018), ASTM D93-13, ASTM D93-13e1, ASTM D4206-96(2013), ASTM E1-13, ASTM D93-12, ASTM D4057-06(2011), ASTM D93-10, ASTM D93-08, ASTM E1-07, ASTM D4206-96(2007), ASTM D1310-01(2007), ASTM D93-07, ASTM D140-01(2007). Understanding these relationships helps ensure you are using the most current and applicable version of the standard.
ASTM D92-18 is available in PDF format for immediate download after purchase. The document can be added to your cart and obtained through the secure checkout process. Digital delivery ensures instant access to the complete standard document.
Standards Content (Sample)
This international standard was developed in accordance with internationally recognized principles on standardization established in the Decision on Principles for the
Development of International Standards, Guides and Recommendations issued by the World Trade Organization Technical Barriers to Trade (TBT) Committee.
Designation: D92 − 18 American Association State
Highway and Transportation Officials Standard
AASHTO No.: T48
DIN 51 376
Standard Test Method for
Flash and Fire Points by Cleveland Open Cup Tester
ThisstandardisissuedunderthefixeddesignationD92;thenumberimmediatelyfollowingthedesignationindicatestheyearoforiginal
adoption or, in the case of revision, the year of last revision.Anumber in parentheses indicates the year of last reapproval.Asuperscript
epsilon (´) indicates an editorial change since the last revision or reapproval.
This standard has been approved for use by agencies of the U.S. Department of Defense.
INTRODUCTION
This flash point and fire point test method is a dynamic method and depends on definite rates of
temperature increases to control the precision of the test method. Its primary use is for viscous
materials having flash point of 79 °C (175 °F) and above. It is also used to determine fire point, which
is a temperature above the flash point, at which the test specimen will support combustion for a
minimum of 5 s. Do not confuse this test method with Test Method D4206, which is a sustained
burning test, open cup type, at a specific temperature of 49 °C (120 °F).
Flash point values are a function of the apparatus design, the condition of the apparatus used, and
the operational procedure carried out. Flash point can therefore only be defined in terms of a standard
test method, and no general valid correlation can be guaranteed between results obtained by different
test methods, or with test apparatus different from that specified.
1. Scope* 1.3 The values stated in SI units are to be regarded as the
standard.
1.1 Thistestmethoddescribesthedeterminationoftheflash
1.3.1 Exception—The values given in parentheses are for
point and fire point of petroleum products by a manual
information only.
Cleveland open cup apparatus or an automated Cleveland open
cup apparatus.
1.4 WARNING—Mercury has been designated by many
regulatory agencies as a hazardous substance that can cause
NOTE 1—The precisions for fire point were not determined in the
serious medical issues. Mercury, or its vapor, has been dem-
current interlaboratory program. Fire point is a parameter that is not
commonly specified, although in some cases, knowledge of this flamma- onstrated to be hazardous to health and corrosive to materials.
bility temperature may be desired.
Use Caution when handling mercury and mercury-containing
products. See the applicable product Safety Data Sheet (SDS)
1.2 This test method is applicable to all petroleum products
for additional information. The potential exists that selling
with flash points above 79 °C (175 °F) and below 400 °C
mercury or mercury-containing products, or both, is prohibited
(752 °F) except fuel oils.
by local or national law. Users must determine legality of sales
NOTE 2—This test method may occasionally be specified for the
in their location.
determination of the fire point of a fuel oil. For the determination of the
flash points of fuel oils, use Test Method D93. Test Method D93 should
1.5 This standard does not purport to address all of the
also be used when it is desired to determine the possible presence of small
safety concerns, if any, associated with its use. It is the
but significant concentrations of lower flash point substances that may
responsibility of the user of this standard to establish appro-
escape detection by Test Method D92. Test Method D1310 can be
priate safety, health, and environmental practices and deter-
employed if the flash point is known to be below 79 °C (175 °F).
mine the applicability of regulatory limitations prior to use.
For specific warning statements, see 6.4, 7.1, 11.1.3, and
11.2.4.
This test method is under the joint jurisdiction of ASTM Committee D02 on
1.6 This international standard was developed in accor-
Petroleum Products, Liquid Fuels, and Lubricants and is the direct responsibility of
dance with internationally recognized principles on standard-
Subcommittee D02.08 on Volatility. In the IP, this test method is under the
jurisdiction of the Standardization Committee. This test method was adopted as a
ization established in the Decision on Principles for the
joint ASTM-IP standard in 1965.
Development of International Standards, Guides and Recom-
Current edition approved July 1, 2018. Published August 2018. Originally
mendations issued by the World Trade Organization Technical
approved in 1921. Last previous edition approved in 2016 as D92 – 16b. DOI:
10.1520/D0092-18. Barriers to Trade (TBT) Committee.
*A Summary of Changes section appears at the end of this standard
Copyright © ASTM International, 100 Barr Harbor Drive, PO Box C700, West Conshohocken, PA 19428-2959. United States
D92−18
2. Referenced Documents 4. Summary of Test Method
2.1 ASTM Standards: 4.1 Approximately 70 mL of test specimen is filled into a
D93 Test Methods for Flash Point by Pensky-Martens test cup. The temperature of the test specimen is increased
Closed Cup Tester rapidly at first and then at a slower constant rate as the flash
D140 Practice for Sampling Bituminous Materials point is approached. At specified intervals, a test flame is
D1310 TestMethodforFlashPointandFirePointofLiquids passed across the cup. The flash point is the lowest liquid
by Tag Open-Cup Apparatus temperature at which application of the test flame causes the
D4057 Practice for Manual Sampling of Petroleum and vapors of the test specimen of the sample to ignite. To
Petroleum Products determine the fire point, the test is continued until the appli-
D4177 Practice for Automatic Sampling of Petroleum and cation of the test flame causes the test specimen to ignite and
Petroleum Products sustain burning for a minimum of 5 s.
D4206 Test Method for Sustained Burning of Liquid Mix-
5. Significance and Use
tures Using the Small Scale Open-Cup Apparatus
5.1 Theflashpointisonemeasureofthetendencyofthetest
E1 Specification for ASTM Liquid-in-Glass Thermometers
specimen to form a flammable mixture with air under con-
E300 Practice for Sampling Industrial Chemicals
trolled laboratory conditions. It is only one of a number of
2.2 Energy Institute Standard:
properties that should be considered in assessing the overall
Specifications for IP Standard Thermometers
flammability hazard of a material.
2.3 ISO Standards:
5.2 Flash point is used in shipping and safety regulations to
Guide 34 General requirements for the competence of refer-
define flammable and combustible materials. Consult the
ence material producers
particular regulation involved for precise definitions of these
Guide 35 Reference materials—General and statistical prin-
classifications.
ciples for certification
5.3 Flash point can indicate the possible presence of highly
3. Terminology
volatile and flammable materials in a relatively nonvolatile or
3.1 Definitions: nonflammable material. For example, an abnormally low flash
3.1.1 dynamic, adj—in petroleum products, the condition point on a test specimen of engine oil can indicate gasoline
where the vapor above the test specimen and the test specimen contamination.
are not in temperature equilibrium at the time that the ignition
5.4 This test method shall be used to measure and describe
source is applied.
the properties of materials, products, or assemblies in response
3.1.1.1 Discussion—This is primarily caused by the heating
to heat and a test flame under controlled laboratory conditions
of the test specimen at the constant prescribed rate with the
and shall not be used to describe or appraise the fire hazard or
vapor temperature lagging behind the test specimen tempera-
fire risk of materials, products, or assemblies under actual fire
ture.
conditions.However,resultsofthistestmethodmaybeusedas
3.1.2 fire point, n—in flash point test methods, the lowest
elements of a fire risk assessment that takes into account all of
temperature of the test specimen, adjusted to account for
the factors that are pertinent to an assessment of the fire hazard
variations in atmospheric pressure from 101.3 kPa, at which
of a particular end use.
application of an ignition source causes the vapors of the test
5.5 The fire point is one measure of the tendency of the test
specimen to ignite and sustain burning for a minimum of 5 s
specimen to support combustion.
under specified conditions of test.
6. Apparatus
3.1.3 flash point, n—in flash point test methods, the lowest
temperature of the test specimen, adjusted to account for 6.1 Cleveland Open Cup Apparatus (manual)—This appa-
variations in atmospheric pressure from 101.3 kPa, at which
ratus consists of the test cup, heating plate, test flame
application of an ignition source causes the vapors of the test applicator,heater,andsupportsdescribedindetailintheAnnex
specimen to ignite under specified conditions of test.
A1. The assembled manual apparatus, heating plate, and cup
are illustrated in Figs. 1-3, respectively. Dimensions are listed
with the figures.
For referenced ASTM standards, visit the ASTM website, www.astm.org, or
6.2 Cleveland Open Cup Apparatus (automated)—This ap-
contact ASTM Customer Service at service@astm.org. For Annual Book of ASTM
paratus is an automated flash point instrument that shall
Standards volume information, refer to the standard’s Document Summary page on
the ASTM website.
perform the test in accordance with Section 11 Procedure. The
Available from Energy Institute, 61 New Cavendish St., London, W1G 7AR,
apparatus shall use the test cup with the dimensions as
U.K., http://www.energyinst.org.
4 described in Annex A1 and the application of the test flame
Available fromAmerican National Standards Institute (ANSI), 25 W. 43rd St.,
4th Floor, New York, NY 10036, http://www.ansi.org. shall be as described in Annex A1.
D92−18
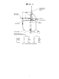
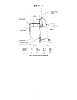
FIG. 1 Cleveland Open Cup Apparatus
D92−18
millimetres inches
min max min max
A 6 7 0.236 0.276
B 0.5 1.0 0.020 0.039
C 6 7 0.236 0.276
D—Diameter 55 56 2.165 2.205
E—Diameter 69.5 70.5 2.736 2.776
F—Diameter 146 159 5.748 6.260
FIG. 2 Heating Plate
FIG. 3 Cleveland Open Cup
6.3 Temperature Measuring Device—Athermometer having
Thermometer Number
Temperature Range ASTM IP
the range as shown below and conforming to the requirements
−6 °C to +400 °C 11C 28C
prescribed in Specification E1 or in the Specifications for IP
20 °F to 760 °F 11F
Standard Thermometers, or an electronic temperature measur-
6.4 Test Flame—Natural gas (methane) flame and bottled
ing device, such as a resistance thermometer or thermocouple.
gas(butane,propane)flamehavebeenfoundacceptableforuse
The device shall exhibit the same temperature response as the
as the ignition source. The gas flame device is described in
mercury thermometers.
D92−18
detail in Annex A1.(Warning—Gas pressure supplied to the 9. Preparation of Apparatus
apparatusmustnotbeallowedtoexceed3kPa(12in.)ofwater
9.1 Support the manual or automated apparatus on a level
pressure.)
steady surface, such as a table.
9.2 Tests are to be performed in a draft-free room or
7. Reagents and Materials
compartment. Tests made in a laboratory hood or in any
7.1 Cleaning Solvents—Use suitable technical grade solvent
location where drafts occur are not to be relied upon.
capable of cleaning out the test specimen from the test cup and
NOTE 6—A draft shield is recommended to prevent drafts from
drying the test cup. Some commonly used solvents are toluene
disturbing the vapors above the test cup. This shield should cover at least
and acetone. (Warning—Toluene, acetone, and many solvents
three sides of the test cup vicinity. Some apparatus may already include a
are flammable. Health hazard. Dispose of solvents and waste
built-in draft shield.
material in accordance with local regulations.) NOTE 7—With some samples whose vapors or products of pyrolysis are
objectionable, it is permissible to place the apparatus along with a shield
into a hood, the draft of which is adjusted so that the vapors may be
8. Sampling
withdrawn without causing air currents over the test cup during the final
56 °C (100 °F) rise in temperature prior to the flash point.
8.1 Obtain a sample in accordance with the instructions
given in Practices D140, D4057, D4177 or E300.
9.3 Wash the test cup with the cleaning solvent to remove
any test specimen or traces of gum or residue remaining from
8.2 At least 70 mLof sample is required for each test. Refer
a previous test. If any deposits of carbon are present, they
to Practice D4057.
should be removed with a material such as a very fine grade of
8.3 Erroneously high flash points may be obtained if pre-
steel wool. Ensure that the test cup is completely clean and dry
cautions are not taken to avoid the loss of volatile material. Do
before using again. If necessary, flush the test cup with cold
not open containers unnecessarily; this will prevent loss of
water and dry for a few minutes over an open flame or a hot
volatile material and possible introduction of moisture. Do not
plate to remove the last traces of solvent and water. Cool the
make a transfer of the sample unless the sample temperature is
test cup to at least 56 °C (100 °F) below the expected flash
at least 56 °C (100 °F) below the expected flash point. When
point before using.
possible, flash point should be the first test performed on a
9.4 Support the temperature measuring device in a vertical
sample and the sample should be stored at low temperature.
position with the bottom of the device located
NOTE 3—Typical sample storage temperature is normal room tempera- 1 1
6.4 mm 6 0.5 mm ( ⁄4 in. 6 ⁄50 in.) up from the bottom of the
ture or lower.
inside of the test cup and located at a point halfway between
8.4 Do not store samples in gas-permeable containers since
the center and the side of the test cup on a diameter perpen-
volatile material may diffuse through the walls of the enclo-
dicular to the arc (or line) of the sweep of the test flame and on
sure. Samples in leaky containers are suspect and not a source
thesideoppositetothetestflameapplicatormountingposition.
of valid results.
It is permissible for electronic temperature measuring devices
to be mounted in a non-vertical position provided that perfor-
8.5 Lighthydrocarbonsmaybepresentintheformofgases,
mance is in accordance with the requirements given in 6.3.
such as propane or butane, and may not be detected by testing
because of losses during sampling and filling of the test cup.
NOTE8—TheimmersionlineengravedontheASTMorIPthermometer
5 1
This is especially evident on heavy residuums or asphalts from will be 2 mm 6 0.5 mm ( ⁄64 in. 6 ⁄50 in.) below the level of the rim of
the cup when the thermometer is properly positioned.
solvent extraction processes.
NOTE 9—Some automated apparatus is capable of positioning the
8.6 Samples of very viscous materials can be warmed until
temperature measuring device automatically. Refer to the manufacturer’s
instructions for proper installation and adjustment.
they are reasonably fluid before they are tested. However, no
sample shall be heated more than is absolutely necessary. It
9.5 Prepare the manual apparatus or the automated appara-
shall never be heated above a temperature of 56 °C (100 °F)
tus for operation according to the manufacturer’s instructions
below its expected flash point. When the sample has been
for calibrating, checking, and operating the equipment.
heated above this temperature, allow the sample to cool until it
10. Calibration and Standardization
is at least 56 °C (100 °F) below the expected flash point before
transferring.
10.1 Adjust the automated flash point detection system,
when used, according to the manufacturer’s instructions.
NOTE 4—Typically, the sample containers for these types of samples
will remain closed during the warming process.
10.2 Calibrate the temperature measuring device according
to the manufacturer’s instructions.
8.7 Samples containing dissolved or free water can be
dehydrated with calcium chloride or by filtering through a
10.3 Verify the performance of the manual apparatus or the
qualitative filter paper or a loose plug of dry absorbent cotton.
automated apparatus at least once per year by determining the
Samplesofveryviscousmaterialscanbewarmeduntiltheyare
flash point of a certified reference material (CRM), such as
reasonably fluid before they are filtered, but they shall not be
those listed in Annex A2, which is reasonably close to the
heated for prolonged periods or above a temperature of 56 °C
expected temperature range of the samples to be tested. The
(100 °F) below its expected flash point.
material shall be tested according to the procedure of this test
method and the observed flash point obtained in 11.1.10 or
NOTE5—Ifthesampleissuspectedofcontainingvolatilecontaminants,
the treatment described in 8.6 and 8.7 should be omitted. 11.2.5 shall be corrected for barometric pressure (see Section
D92−18
12).The flash point obtained shall be within the limits stated in manual apparatus, before heating the test cup and specimen, to
Table A2.1 for the identified CRM or within the limits pass the test flame across the specimen in the test cup to check
calculated for an unlisted CRM (see Annex A2). for the presence of unexpected volatile material.) (Warning—
The operator shall exercise care and take appropriate safety
10.4 Once the performance of the apparatus has been
precautions during the performance of this test method. The
verified, the flash point of secondary working standards
temperatures attained during this test, up to 400 °C (752 °F),
(SWSs) can be determined along with their control limits.
are considered hazardous.)
These secondary materials can then be utilized for more
frequent performance checks (see Annex A2).
NOTE 12—Some further preliminary test flame applications during the
initial heating phase may be useful in detecting whether unexpected
NOTE 10—The verification fluid is a material with a predetermined,
volatile material is present in the sample. A typical interval is at the
interlaboratory tested, flash point temperature that is used to verify proper
beginning of the initial heating phase and then every 10 °C up to the
operation of the apparatus. Calibration is undertaken by the operator
standard test flame application temperature. See 11.1.5.
according to the apparatus manufacturer’s instructions should the result of
the verification be outside the stated reproducibility. 11.1.4 Applyheatinitiallyatsucharatethatthetemperature
as indicated by the temperature measuring device increases
10.5 When the flash point obtained is not within the limits
5 °C to 17 °C (9 °F to 30 °F)/min. When the test specimen
stated in 10.3 or 10.4, check the condition and operation of the
temperature is approximately 56 °C (100 °F) below the
apparatus to ensure conformity with the details listed in Annex
expected flash point, decrease the heat so that the rate of
A1, especially in regard to the position of the temperature
temperature rise during the last 28 °C (50 °F) before the flash
measuring device, the application of the test flame, and the
point is 5 °C to 6 °C (9 °F to 11 °F)/min.
heating rate. After adjustment of the apparatus, repeat the test
with a fresh test specimen (see 10.3) with special attention to
NOTE 13—With low flash point material or with highly viscous
the procedural details prescribed in Section 11. material, it is advised to use the 5 °C/min to 6 °C/min heating rate from
the start of the test to the end.
11. Procedure
11.1.5 Apply the test flame when the temperature of the test
11.1 Manual Apparatus:
specimen is approximately 28 °C below the expected flash
11.1.1 Fill the test cup with the sample so that the top of the
point and each time thereafter at a temperature reading that is
meniscusofthetestspecimenislevelwiththefillingmark,and
a multiple of 2 °C. Pass the test flame across the center of the
position the test cup on the center of the heating plate. The
test cup at right angles to the diameter, which passes through
temperature of the test cup and the sample shall not exceed
the temperature measuring device. With a smooth, continuous
56 °C (100 °F) below the expected flash point. If too much test
motion,applythetestflameeitherinastraightlineoralongthe
specimen has been added to the cup, remove the excess using
circumferenceofacirclehavingaradiusofatleast150mm 6
a syringe or similar device for withdrawal of fluid. However, if
1 mm (6.00 in. 6 0.039 in.). The center of the test flame shall
there is test specimen on the outside of the test cup, empty,
move in a horizontal plane not more than 2 mm ( ⁄64 in.) above
clean, and refill it. Destroy any air bubbles or foam on the
the plane of the upper edge of the test cup and passing in one
surface of the test specimen with a sharp knife or other suitable
direction only. At the time of the next test flame application,
device and maintain the required level of test specimen. If a
pass the test flame in the opposite direction of the preceding
foam persists during the final stages of the test, terminate the
application.Thetimeconsumedinpassingthetestflameacross
test and disregard any results.
the test cup in each case shall be approximately 1 s 6 0.1 s.
NOTE 11—Initially the test cup may be filled below the filling mark to
NOTE 14—Some automated apparatus pass the test flame in one single
allow for thermal expansion of the sample.
direction.Apparatus that operate in this manner will typically shut off the
test flame gas after each application, return to the starting position without
11.1.2 Solidmaterialshallnotbeaddedtothetestcup.Solid
creating a draft near and over the test cup, and the test flame will be
or viscous samples shall
...
This document is not an ASTM standard and is intended only to provide the user of an ASTM standard an indication of what changes have been made to the previous version. Because
it may not be technically possible to adequately depict all changes accurately, ASTM recommends that users consult prior editions as appropriate. In all cases only the current version
of the standard as published by ASTM is to be considered the official document.
Designation: D92 − 16b D92 − 18 American Association State
Highway and Transportation Officials Standard
AASHTO No.: T48
DIN 51 376
Standard Test Method for
Flash and Fire Points by Cleveland Open Cup Tester
This standard is issued under the fixed designation D92; the number immediately following the designation indicates the year of original
adoption or, in the case of revision, the year of last revision. A number in parentheses indicates the year of last reapproval. A superscript
epsilon (´) indicates an editorial change since the last revision or reapproval.
This standard has been approved for use by agencies of the U.S. Department of Defense.
INTRODUCTION
This flash point and fire point test method is a dynamic method and depends on definite rates of
temperature increases to control the precision of the test method. Its primary use is for viscous
materials having flash point of 79 °C (175 °F) and above. It is also used to determine fire point, which
is a temperature above the flash point, at which the test specimen will support combustion for a
minimum of 5 s. Do not confuse this test method with Test Method D4206, which is a sustained
burning test, open cup type, at a specific temperature of 49 °C (120 °F).
Flash point values are a function of the apparatus design, the condition of the apparatus used, and
the operational procedure carried out. Flash point can therefore only be defined in terms of a standard
test method, and no general valid correlation can be guaranteed between results obtained by different
test methods, or with test apparatus different from that specified.
1. Scope*
1.1 This test method describes the determination of the flash point and fire point of petroleum products by a manual Cleveland
open cup apparatus or an automated Cleveland open cup apparatus.
NOTE 1—The precisions for fire point were not determined in the current interlaboratory program. Fire point is a parameter that is not commonly
specified, although in some cases, knowledge of this flammability temperature may be desired.
1.2 This test method is applicable to all petroleum products with flash points above 79 °C (175 °F) and below 400 °C (752 °F)
except fuel oils.
NOTE 2—This test method may occasionally be specified for the determination of the fire point of a fuel oil. For the determination of the flash points
of fuel oils, use Test Method D93. Test Method D93 should also be used when it is desired to determine the possible presence of small but significant
concentrations of lower flash point substances that may escape detection by Test Method D92. Test Method D1310 can be employed if the flash point
is known to be below 79 °C (175 °F).
1.3 The values stated in SI units are to be regarded as the standard.
1.3.1 Exception—The values given in parentheses are for information only.
1.4 WARNING—Mercury has been designated by many regulatory agencies as a hazardous materialsubstance that can cause
central nervous system, kidney and liver damage. serious medical issues. Mercury, or its vapor, may has been demonstrated to be
hazardous to health and corrosive to materials. Caution should be taken Use Caution when handling mercury and mercury
containing mercury-containing products. See the applicable product Material Safety Data Sheet (MSDS) for details and EPA’s
website—http://www.epa.gov/mercury/faq.htm—for additional information. Users should be aware (SDS) for additional informa-
tion. The potential exists that selling mercury and/or mercury containing products in your state or country may be prohibited by
law.or mercury-containing products, or both, is prohibited by local or national law. Users must determine legality of sales in their
location.
This test method is under the joint jurisdiction of ASTM Committee D02 on Petroleum Products, Liquid Fuels, and Lubricants and is the direct responsibility of
Subcommittee D02.08 on Volatility. In the IP, this test method is under the jurisdiction of the Standardization Committee. This test method was adopted as a joint ASTM-IP
standard in 1965.
Current edition approved Dec. 1, 2016July 1, 2018. Published February 2017August 2018. Originally approved in 1921. Last previous edition approved in 2016 as D92
– 16a.16b. DOI: 10.1520/D0092-16B.10.1520/D0092-18.
*A Summary of Changes section appears at the end of this standard
Copyright © ASTM International, 100 Barr Harbor Drive, PO Box C700, West Conshohocken, PA 19428-2959. United States
D92 − 18
1.5 This standard does not purport to address all of the safety concerns, if any, associated with its use. It is the responsibility
of the user of this standard to establish appropriate safety safety, health, and healthenvironmental practices and determine the
applicability of regulatory limitations prior to use. For specific warning statements, see 6.4, 7.1, 11.1.3, and 11.2.4.
1.6 This international standard was developed in accordance with internationally recognized principles on standardization
established in the Decision on Principles for the Development of International Standards, Guides and Recommendations issued
by the World Trade Organization Technical Barriers to Trade (TBT) Committee.
2. Referenced Documents
2.1 ASTM Standards:
D93
D140 Practice for Sampling Bituminous Materials
D1310 Test Method for Flash Point and Fire Point of Liquids by Tag Open-Cup Apparatus
D4057 Practice for Manual Sampling of Petroleum and Petroleum Products
D4177 Practice for Automatic Sampling of Petroleum and Petroleum Products
D4206 Test Method for Sustained Burning of Liquid Mixtures Using the Small Scale Open-Cup Apparatus
E1 Specification for ASTM Liquid-in-Glass Thermometers
E300 Practice for Sampling Industrial Chemicals
2.2 Energy Institute Standard:
Specifications for IP Standard Thermometers
2.3 ISO Standards:
Guide 34 General requirements for the competence of reference material producers
Guide 35 Reference materials—General and statistical principles for certification
3. Terminology
3.1 Definitions:
3.1.1 dynamic, adj—in petroleum products, the condition where the vapor above the test specimen and the test specimen are not
in temperature equilibrium at the time that the ignition source is applied.
3.1.1.1 Discussion—
This is primarily caused by the heating of the test specimen at the constant prescribed rate with the vapor temperature lagging
behind the test specimen temperature.
3.1.2 fire point, n—in flash point test methods, the lowest temperature of the test specimen, adjusted to account for variations
in atmospheric pressure from 101.3 kPa, at which application of an ignition source causes the vapors of the test specimen to ignite
and sustain burning for a minimum of 5 s under specified conditions of test.
3.1.3 flash point, n—in flash point test methods, the lowest temperature of the test specimen, adjusted to account for variations
in atmospheric pressure from 101.3 kPa, at which application of an ignition source causes the vapors of the test specimen to ignite
under specified conditions of test.
4. Summary of Test Method
4.1 Approximately 70 mL of test specimen is filled into a test cup. The temperature of the test specimen is increased rapidly
at first and then at a slower constant rate as the flash point is approached. At specified intervals, a test flame is passed across the
cup. The flash point is the lowest liquid temperature at which application of the test flame causes the vapors of the test specimen
of the sample to ignite. To determine the fire point, the test is continued until the application of the test flame causes the test
specimen to ignite and sustain burning for a minimum of 5 s.
5. Significance and Use
5.1 The flash point is one measure of the tendency of the test specimen to form a flammable mixture with air under controlled
laboratory conditions. It is only one of a number of properties that should be considered in assessing the overall flammability
hazard of a material.
5.2 Flash point is used in shipping and safety regulations to define flammable and combustible materials. Consult the particular
regulation involved for precise definitions of these classifications.
For referenced ASTM standards, visit the ASTM website, www.astm.org, or contact ASTM Customer Service at service@astm.org. For Annual Book of ASTM Standards
volume information, refer to the standard’s Document Summary page on the ASTM website.
Available from Energy Institute, 61 New Cavendish St., London, W1G 7AR, U.K., http://www.energyinst.org.
Available from American National Standards Institute (ANSI), 25 W. 43rd St., 4th Floor, New York, NY 10036, http://www.ansi.org.
D92 − 18
5.3 Flash point can indicate the possible presence of highly volatile and flammable materials in a relatively nonvolatile or
nonflammable material. For example, an abnormally low flash point on a test specimen of engine oil can indicate gasoline
contamination.
5.4 This test method shall be used to measure and describe the properties of materials, products, or assemblies in response to
heat and a test flame under controlled laboratory conditions and shall not be used to describe or appraise the fire hazard or fire risk
of materials, products, or assemblies under actual fire conditions. However, results of this test method may be used as elements
of a fire risk assessment that takes into account all of the factors that are pertinent to an assessment of the fire hazard of a particular
end use.
5.5 The fire point is one measure of the tendency of the test specimen to support combustion.
6. Apparatus
6.1 Cleveland Open Cup Apparatus (manual)—This apparatus consists of the test cup, heating plate, test flame applicator,
heater, and supports described in detail in the Annex A1. The assembled manual apparatus, heating plate, and cup are illustrated
in Figs. 1-3, respectively. Dimensions are listed with the figures.
6.2 Cleveland Open Cup Apparatus (automated)—This apparatus is an automated flash point instrument that shall perform the
test in accordance with Section 11 Procedure. The apparatus shall use the test cup with the dimensions as described in Annex A1
and the application of the test flame shall be as described in Annex A1.
D92 − 18
FIG. 1 Cleveland Open Cup Apparatus
D92 − 18
millimetres inches
min max min max
A 6 7 0.236 0.276
B 0.5 1.0 0.020 0.039
C 6 7 0.236 0.276
D—Diameter 55 56 2.165 2.205
E—Diameter 69.5 70.5 2.736 2.776
F—Diameter 146 159 5.748 6.260
FIG. 2 Heating Plate
FIG. 3 Cleveland Open Cup
6.3 Temperature Measuring Device—A thermometer having the range as shown below and conforming to the requirements
prescribed in Specification E1 or in the Specifications for IP Standard Thermometers, or an electronic temperature measuring
device, such as a resistance thermometer or thermocouple. The device shall exhibit the same temperature response as the mercury
thermometers.
Thermometer Number
Temperature Range ASTM IP
−6 °C to +400 °C 11C 28C
20 °F to 760 °F 11F
6.4 Test Flame—Natural gas (methane) flame and bottled gas (butane, propane) flame have been found acceptable for use as
the ignition source. The gas flame device is described in detail in Annex A1. (Warning—Warning—Gas pressure supplied to the
apparatus must not be allowed to exceed 3 kPa (12 in.) of water pressure.)
D92 − 18
7. Reagents and Materials
7.1 Cleaning Solvents—Use suitable technical grade solvent capable of cleaning out the test specimen from the test cup and
drying the test cup. Some commonly used solvents are toluene and acetone. (Warning—Warning—Toluene, acetone, and many
solvents are flammable. Health hazard. Dispose of solvents and waste material in accordance with local regulations.)
8. Sampling
8.1 Obtain a sample in accordance with the instructions given in Practices D140, D4057, D4177 or E300.
8.2 At least 70 mL of sample is required for each test. Refer to Practice D4057.
8.3 Erroneously high flash points may be obtained if precautions are not taken to avoid the loss of volatile material. Do not open
containers unnecessarily; this will prevent loss of volatile material and possible introduction of moisture. Do not make a transfer
of the sample unless the sample temperature is at least 56 °C (100 °F) below the expected flash point. When possible, flash point
should be the first test performed on a sample and the sample should be stored at low temperature.
NOTE 3—Typical sample storage temperature is normal room temperature or lower.
8.4 Do not store samples in gas-permeable containers since volatile material may diffuse through the walls of the enclosure.
Samples in leaky containers are suspect and not a source of valid results.
8.5 Light hydrocarbons may be present in the form of gases, such as propane or butane, and may not be detected by testing
because of losses during sampling and filling of the test cup. This is especially evident on heavy residuums or asphalts from solvent
extraction processes.
8.6 Samples of very viscous materials can be warmed until they are reasonably fluid before they are tested. However, no sample
shall be heated more than is absolutely necessary. It shall never be heated above a temperature of 56 °C (100 °F) below its expected
flash point. When the sample has been heated above this temperature, allow the sample to cool until it is at least 56 °C (100 °F)
below the expected flash point before transferring.
NOTE 4—Typically, the sample containers for these types of samples will remain closed during the warming process.
8.7 Samples containing dissolved or free water can be dehydrated with calcium chloride or by filtering through a qualitative
filter paper or a loose plug of dry absorbent cotton. Samples of very viscous materials can be warmed until they are reasonably
fluid before they are filtered, but they shall not be heated for prolonged periods or above a temperature of 56 °C (100 °F) below
its expected flash point.
NOTE 5—If the sample is suspected of containing volatile contaminants, the treatment described in 8.6 and 8.7 should be omitted.
9. Preparation of Apparatus
9.1 Support the manual or automated apparatus on a level steady surface, such as a table.
9.2 Tests are to be performed in a draft-free room or compartment. Tests made in a laboratory hood or in any location where
drafts occur are not to be relied upon.
NOTE 6—A draft shield is recommended to prevent drafts from disturbing the vapors above the test cup. This shield should cover at least three sides
of the test cup vicinity. Some apparatus may already include a built-in draft shield.
NOTE 7—With some samples whose vapors or products of pyrolysis are objectionable, it is permissible to place the apparatus along with a shield into
a hood, the draft of which is adjusted so that the vapors may be withdrawn without causing air currents over the test cup during the final 56 °C (100 °F)
rise in temperature prior to the flash point.
9.3 Wash the test cup with the cleaning solvent to remove any test specimen or traces of gum or residue remaining from a
previous test. If any deposits of carbon are present, they should be removed with a material such as a very fine grade of steel wool.
Ensure that the test cup is completely clean and dry before using again. If necessary, flush the test cup with cold water and dry
for a few minutes over an open flame or a hot plate to remove the last traces of solvent and water. Cool the test cup to at least
56 °C (100 °F) below the expected flash point before using.
9.4 Support the temperature measuring device in a vertical position with the bottom of the device located
1 1
6.4 mm 6 0.1 mm6.4 mm 6 0.5 mm ( ⁄4 in. 6 ⁄50 in.) up from the bottom of the inside of the test cup and located at a point
halfway between the center and the side of the test cup on a diameter perpendicular to the arc (or line) of the sweep of the test
flame and on the side opposite to the test flame applicator mounting position. It is permissible for electronic temperature measuring
devices to be mounted in a non-vertical position provided that performance is in accordance with the requirements given in 6.3.
5 1
NOTE 8—The immersion line engraved on the ASTM or IP thermometer will be 2 mm 6 0.10.5 mm ( ⁄64 in. 6 ⁄50 in.) below the level of the rim of
the cup when the thermometer is properly positioned.
NOTE 9—Some automated apparatus is capable of positioning the temperature measuring device automatically. Refer to the manufacturer’s instructions
for proper installation and adjustment.
9.5 Prepare the manual apparatus or the automated apparatus for operation according to the manufacturer’s instructions for
calibrating, checking, and operating the equipment.
D92 − 18
10. Calibration and Standardization
10.1 Adjust the automated flash point detection system, when used, according to the manufacturer’s instructions.
10.2 Calibrate the temperature measuring device according to the manufacturer’s instructions.
10.3 Verify the performance of the manual apparatus or the automated apparatus at least once per year by determining the flash
point of a certified reference material (CRM), such as those listed in Annex A2, which is reasonably close to the expected
temperature range of the samples to be tested. The material shall be tested according to the procedure of this test method and the
observed flash point obtained in 11.1.10 or 11.2.5 shall be corrected for barometric pressure (see Section 12). The flash point
obtained shall be within the limits stated in Table A2.1 for the identified CRM or within the limits calculated for an unlisted CRM
(see Annex A2).
10.4 Once the performance of the apparatus has been verified, the flash point of secondary working standards (SWSs) can be
determined along with their control limits. These secondary materials can then be utilized for more frequent performance checks
(see Annex A2).
NOTE 10—The verification fluid is a material with a predetermined, interlaboratory tested, flash point temperature that is used to verify proper operation
of the apparatus. Calibration is undertaken by the operator according to the apparatus manufacturer’s instructions should the result of the verification be
outside the stated reproducibility.
10.5 When the flash point obtained is not within the limits stated in 10.3 or 10.4, check the condition and operation of the
apparatus to ensure conformity with the details listed in Annex A1, especially in regard to the position of the temperature
measuring device, the application of the test flame, and the heating rate. After adjustment of the apparatus, repeat the test with a
fresh test specimen (see 10.3) with special attention to the procedural details prescribed in Section 11.
11. Procedure
11.1 Manual Apparatus:
11.1.1 Fill the test cup with the sample so that the top of the meniscus of the test specimen is level with the filling mark, and
position the test cup on the center of the heating plate. The temperature of the test cup and the sample shall not exceed 56 °C (100
°F) below the expected flash point. If too much test specimen has been added to the cup, remove the excess using a syringe or
similar device for withdrawal of fluid. However, if there is test specimen on the outside of the test cup, empty, clean, and refill
it. Destroy any air bubbles or foam on the surface of the test specimen with a sharp knife or other suitable device and maintain
the required level of test specimen. If a foam persists during the final stages of the test, terminate the test and disregard any results.
NOTE 11—Initially the test cup may be filled below the filling mark to allow for thermal expansion of the sample.
11.1.2 Solid material shall not be added to the test cup. Solid or viscous samples shall be heated until they are fluid before being
poured into the test cup; however, the temperature of the sample during heating shall not exceed 56 °C (100 °F) below the expected
flash point.
1 3
11.1.3 Light the test flame and adjust it to a diameter of 3.2 mm to 4.8 mm ( ⁄8 in. to ⁄16 in.) or to the size of the comparison
bead, if one is mounted on the apparatus (see Annex A1). (Warning—Gas pressure supplied to the apparatus must not be allowed
to exceed 3 kPa (12 in.) of water pressure.) (Warning—Exercise care when using a gas test flame. If it should be extinguished
it will not ignite the vapors in the test cup, and the gas for the test flame that then enters the vapor space can influence the result.)
(Warning—The operator shall exercise care and take appropriate safety precautions during the initial application of the test flame
since test specimens containing low-flash material can give an abnormally strong flash when the test flame is first applied.)
(Warning—As a safety practice, it is strongly advised, when using automated or manual apparatus, before heating the test cup and
specimen, to pass the test flame across the specimen in the test cup to check for the presence of unexpected volatile material.)
(Warning—The operator shall exercise care and take appropriate safety precautions during the performance of this test method.
The temperatures attained during this test, up to 400 °C (752 °F), are considered hazardous.)
NOTE 12—Some further preliminary test flame applications during the initial heating phase may be useful in detecting whether unexpected volatile
material is present in the sample. A typical interval is at the beginning of the initial heating phase and then every 10 °C up to the standard test flame
application temperature. See 11.1.5.
11.1.4 Apply heat initially at such a rate that the temperature as indicated by the temperature measuring device increases 5 °C
to 17 °C (9 °F to 30 °F)/min. When the test specimen temperature is approximately 56 °C (100 °F) below the expected flash point,
decrease the heat so that the rate of temperature rise during the last 28 °C (50 °F) before the flash point is 5 °C to 6 °C (9 °F to
11 °F)/min.
NOTE 13—With low flash point material or with highly viscous material, it is advised to use the 5 °C/min to 6 °C/min heating rate from the start of
the test to the end.
11.1.5 Apply the test flame when the temperature of the test specimen is approximately 28 °C below the expected flash point
and each time thereafter at a temperature reading that is a multiple of 2 °C. Pass the test flame across the center of the test cup
at right angles to the diameter, which pass
...








Questions, Comments and Discussion
Ask us and Technical Secretary will try to provide an answer. You can facilitate discussion about the standard in here.
Loading comments...