ASTM F1866-23
(Specification)Standard Specification for Poly (Vinyl Chloride) (PVC) Plastic Schedule 40 Drainage and DWV Fabricated Fittings
Standard Specification for Poly (Vinyl Chloride) (PVC) Plastic Schedule 40 Drainage and DWV Fabricated Fittings
ABSTRACT
This specification covers requirements and test methods for fabricated poly(vinyl chloride) (PVC) plastic schedule 40 drainage and DWV fittings. These fabricated fittings are manufactured from pipe, or from a combination of pipe and injection molded parts. Resistance to bending test, leak test, and solvent weld bond area test shall be performed to meet the requirements prescribed. The spigot diameter, spigot length, wall thickness, socket diameter, and socket length shall be tested to meet the requirements prescribed.
SCOPE
1.1 This specification covers requirements and test methods for fabricated poly(vinyl chloride) (PVC) plastic schedule 40 drainage and DWV fittings to be used with piping manufactured in accordance with Specifications D2665 or F891. These fabricated fittings are manufactured from pipe, or from a combination of pipe and injection molded parts.
1.2 The requirements of this specification are to provide fabricated PVC fittings suitable for drainage and venting of sanitary waste systems, storm water systems, and certain other liquid wastes. Fittings shall have solvent cement joints, gasket joints or a combination thereof.
1.3 The text of this specification references notes, footnotes, and appendixes that provide explanatory material. These notes and footnotes (excluding those in tables and figures) shall not be considered as requirements of the specification.
1.4 The values stated in inch-pound units are to be regarded as the standard. The values given in parentheses are provided for information only.
1.5 The following safety hazards caveat pertains only to the test method portion, Section 10, of this specification. This standard does not purport to address all of the safety concerns, if any, associated with its use. It is the responsibility of the user of this standard to establish appropriate safety, health, and environmental practices and determine the applicability of regulatory limitations prior to use.
1.6 This international standard was developed in accordance with internationally recognized principles on standardization established in the Decision on Principles for the Development of International Standards, Guides and Recommendations issued by the World Trade Organization Technical Barriers to Trade (TBT) Committee.
General Information
- Status
- Published
- Publication Date
- 31-Mar-2023
- Technical Committee
- F17 - Plastic Piping Systems
- Drafting Committee
- F17.63 - DWV
Relations
- Effective Date
- 01-Apr-2024
- Effective Date
- 01-Apr-2024
- Effective Date
- 01-Sep-2023
- Effective Date
- 01-Aug-2020
- Effective Date
- 01-Aug-2020
- Effective Date
- 01-Aug-2020
- Effective Date
- 01-Apr-2020
- Effective Date
- 15-Jan-2020
- Effective Date
- 01-Jan-2019
- Effective Date
- 01-Aug-2018
- Refers
ASTM D1600-18 - Standard Terminology for Abbreviated Terms Relating to Plastics (Withdrawn 2024) - Effective Date
- 01-Jan-2018
- Effective Date
- 01-Aug-2017
- Effective Date
- 01-Feb-2017
- Effective Date
- 15-Nov-2016
- Effective Date
- 01-Aug-2016
Overview
ASTM F1866-23 is the standard specification developed by ASTM International for fabricated Poly (Vinyl Chloride) (PVC) plastic Schedule 40 drainage and drain, waste, and vent (DWV) fittings. This standard covers requirements and test methods for fabricated PVC fittings that are used for sanitary waste, stormwater, and liquid waste drainage systems in conjunction with piping manufactured to ASTM D2665 or F891. The fittings covered by this standard may be produced from PVC pipe, or from a combination of pipe and injection molded parts, and are joined using solvent cement, gaskets, or a combination of both. Compliance with this standard ensures fittings possess the appropriate mechanical, physical, and dimensional properties for reliable performance in drainage and vent systems.
Key Topics
- Scope and Application: Outlines requirements for fabricated PVC schedule 40 drainage and DWV fittings used in plumbing and wastewater systems.
- Material Requirements: Specifies use of PVC compounds (meeting ASTM D1784) and compliant gaskets (per ASTM F477 or F913).
- Joint Types: Allows both solvent cement and gasketed joints, setting requirements for bond area and joint integrity.
- Dimensional Standards: Details tolerances for spigot diameter, spigot length, wall thickness, socket diameter, and socket depth to ensure compatibility and leak-free assembly.
- Test Methods: Includes resistance to bending, leak testing, and bond area verification to validate structural performance.
- Quality Assurance: States product marking, inspection, retest, certification, and proper packaging requirements.
Applications
ASTM F1866-23 fittings are fundamental to the construction and maintenance of modern sanitary waste, stormwater, and liquid waste drain systems. They are designed for use with schedule 40 PVC pipe as specified in ASTM D2665 or F891. Practical applications include:
- Residential and Commercial Buildings: Used in plumbing systems for drainage, waste, and vent applications.
- Stormwater Management: Enables diversion and conveyance of stormwater in civil engineering projects.
- Industrial and Institutional Facilities: Facilitates the safe removal of liquid waste and venting in large-scale infrastructure.
- Retrofitting and Repairs: Provides a standardized solution for replacing or expanding existing PVC drainage networks.
Fittings manufactured and tested to ASTM F1866-23 ensure compatibility with standard schedule 40 pipe sizes and deliver leak resistance, structural integrity, and long service life.
Related Standards
When using or specifying ASTM F1866-23 fabricated PVC fittings, it is important to consider additional related ASTM standards for piping systems:
- ASTM D2665: Specification for PVC plastic drain, waste, and vent pipe and fittings
- ASTM F891: Coextruded PVC plastic pipe with a cellular core
- ASTM D1784: Rigid PVC compounds for pipes and fittings
- ASTM D2564: Solvent cements for PVC piping systems
- ASTM F477/F913: Elastomeric seals (gaskets) for joining plastic pipe
- ASTM D3212: Joints for drain and sewer plastic pipes using flexible elastomeric seals
- ASTM D2855: Practice for making solvent cement joints with tapered sockets
Each of these standards contributes to a reliable and consistent PVC drainage and DWV system, supporting quality, safety, and regulatory compliance within the construction and plumbing industries.
Keywords: ASTM F1866-23, PVC fittings, Schedule 40, drainage fittings, DWV fittings, fabricated PVC, plumbing standards, gasketed joints, solvent cement, ASTM standards, pipe fittings.
Buy Documents
ASTM F1866-23 - Standard Specification for Poly (Vinyl Chloride) (PVC) Plastic Schedule 40 Drainage and DWV Fabricated Fittings
REDLINE ASTM F1866-23 - Standard Specification for Poly (Vinyl Chloride) (PVC) Plastic Schedule 40 Drainage and DWV Fabricated Fittings
Get Certified
Connect with accredited certification bodies for this standard
Institut za varilstvo d.o.o. (Welding Institute)
Slovenia's leading welding institute since 1952. ISO 3834, EN 1090, pressure equipment certification, NDT personnel, welder qualification. Only IIW Au
Sponsored listings
Frequently Asked Questions
ASTM F1866-23 is a technical specification published by ASTM International. Its full title is "Standard Specification for Poly (Vinyl Chloride) (PVC) Plastic Schedule 40 Drainage and DWV Fabricated Fittings". This standard covers: ABSTRACT This specification covers requirements and test methods for fabricated poly(vinyl chloride) (PVC) plastic schedule 40 drainage and DWV fittings. These fabricated fittings are manufactured from pipe, or from a combination of pipe and injection molded parts. Resistance to bending test, leak test, and solvent weld bond area test shall be performed to meet the requirements prescribed. The spigot diameter, spigot length, wall thickness, socket diameter, and socket length shall be tested to meet the requirements prescribed. SCOPE 1.1 This specification covers requirements and test methods for fabricated poly(vinyl chloride) (PVC) plastic schedule 40 drainage and DWV fittings to be used with piping manufactured in accordance with Specifications D2665 or F891. These fabricated fittings are manufactured from pipe, or from a combination of pipe and injection molded parts. 1.2 The requirements of this specification are to provide fabricated PVC fittings suitable for drainage and venting of sanitary waste systems, storm water systems, and certain other liquid wastes. Fittings shall have solvent cement joints, gasket joints or a combination thereof. 1.3 The text of this specification references notes, footnotes, and appendixes that provide explanatory material. These notes and footnotes (excluding those in tables and figures) shall not be considered as requirements of the specification. 1.4 The values stated in inch-pound units are to be regarded as the standard. The values given in parentheses are provided for information only. 1.5 The following safety hazards caveat pertains only to the test method portion, Section 10, of this specification. This standard does not purport to address all of the safety concerns, if any, associated with its use. It is the responsibility of the user of this standard to establish appropriate safety, health, and environmental practices and determine the applicability of regulatory limitations prior to use. 1.6 This international standard was developed in accordance with internationally recognized principles on standardization established in the Decision on Principles for the Development of International Standards, Guides and Recommendations issued by the World Trade Organization Technical Barriers to Trade (TBT) Committee.
ABSTRACT This specification covers requirements and test methods for fabricated poly(vinyl chloride) (PVC) plastic schedule 40 drainage and DWV fittings. These fabricated fittings are manufactured from pipe, or from a combination of pipe and injection molded parts. Resistance to bending test, leak test, and solvent weld bond area test shall be performed to meet the requirements prescribed. The spigot diameter, spigot length, wall thickness, socket diameter, and socket length shall be tested to meet the requirements prescribed. SCOPE 1.1 This specification covers requirements and test methods for fabricated poly(vinyl chloride) (PVC) plastic schedule 40 drainage and DWV fittings to be used with piping manufactured in accordance with Specifications D2665 or F891. These fabricated fittings are manufactured from pipe, or from a combination of pipe and injection molded parts. 1.2 The requirements of this specification are to provide fabricated PVC fittings suitable for drainage and venting of sanitary waste systems, storm water systems, and certain other liquid wastes. Fittings shall have solvent cement joints, gasket joints or a combination thereof. 1.3 The text of this specification references notes, footnotes, and appendixes that provide explanatory material. These notes and footnotes (excluding those in tables and figures) shall not be considered as requirements of the specification. 1.4 The values stated in inch-pound units are to be regarded as the standard. The values given in parentheses are provided for information only. 1.5 The following safety hazards caveat pertains only to the test method portion, Section 10, of this specification. This standard does not purport to address all of the safety concerns, if any, associated with its use. It is the responsibility of the user of this standard to establish appropriate safety, health, and environmental practices and determine the applicability of regulatory limitations prior to use. 1.6 This international standard was developed in accordance with internationally recognized principles on standardization established in the Decision on Principles for the Development of International Standards, Guides and Recommendations issued by the World Trade Organization Technical Barriers to Trade (TBT) Committee.
ASTM F1866-23 is classified under the following ICS (International Classification for Standards) categories: 23.040.05 - Pipeline and its parts for external sewage systems; 23.040.45 - Plastics fittings. The ICS classification helps identify the subject area and facilitates finding related standards.
ASTM F1866-23 has the following relationships with other standards: It is inter standard links to ASTM F891-24, ASTM D2665-24, ASTM F891-23, ASTM D2665-20, ASTM D2855-20, ASTM D2564-20, ASTM F412-20, ASTM D1784-20, ASTM F412-19, ASTM D2564-12(2018), ASTM D1600-18, ASTM F412-17a, ASTM F412-17, ASTM F412-16a, ASTM F891-16. Understanding these relationships helps ensure you are using the most current and applicable version of the standard.
ASTM F1866-23 is available in PDF format for immediate download after purchase. The document can be added to your cart and obtained through the secure checkout process. Digital delivery ensures instant access to the complete standard document.
Standards Content (Sample)
This international standard was developed in accordance with internationally recognized principles on standardization established in the Decision on Principles for the
Development of International Standards, Guides and Recommendations issued by the World Trade Organization Technical Barriers to Trade (TBT) Committee.
Designation: F1866 − 23 An American National Standard
Standard Specification for
Poly (Vinyl Chloride) (PVC) Plastic Schedule 40 Drainage
and DWV Fabricated Fittings
This standard is issued under the fixed designation F1866; the number immediately following the designation indicates the year of
original adoption or, in the case of revision, the year of last revision. A number in parentheses indicates the year of last reapproval. A
superscript epsilon (´) indicates an editorial change since the last revision or reapproval.
1. Scope* 2. Referenced Documents
1.1 This specification covers requirements and test methods
2.1 ASTM Standards:
for fabricated poly(vinyl chloride) (PVC) plastic schedule 40
D618 Practice for Conditioning Plastics for Testing
drainage and DWV fittings to be used with piping manufac-
D1600 Terminology for Abbreviated Terms Relating to Plas-
tured in accordance with Specifications D2665 or F891. These
tics
fabricated fittings are manufactured from pipe, or from a
D1784 Classification System and Basis for Specification for
combination of pipe and injection molded parts.
Rigid Poly(Vinyl Chloride) (PVC) Compounds and Chlo-
1.2 The requirements of this specification are to provide
rinated Poly(Vinyl Chloride) (CPVC) Compounds
fabricated PVC fittings suitable for drainage and venting of
D1785 Specification for Poly(Vinyl Chloride) (PVC) Plastic
sanitary waste systems, storm water systems, and certain other
Pipe, Schedules 40, 80, and 120
liquid wastes. Fittings shall have solvent cement joints, gasket
D2122 Test Method for Determining Dimensions of Ther-
joints or a combination thereof.
moplastic Pipe and Fittings
D2564 Specification for Solvent Cements for Poly(Vinyl
1.3 The text of this specification references notes, footnotes,
Chloride) (PVC) Plastic Piping Systems
and appendixes that provide explanatory material. These notes
D2665 Specification for Poly(Vinyl Chloride) (PVC) Plastic
and footnotes (excluding those in tables and figures) shall not
Drain, Waste, and Vent Pipe and Fittings
be considered as requirements of the specification.
D2855 Practice for the Two-Step (Primer and Solvent Ce-
1.4 The values stated in inch-pound units are to be regarded
ment) Method of Joining Poly (Vinyl Chloride) (PVC) or
as the standard. The values given in parentheses are provided
Chlorinated Poly (Vinyl Chloride) (CPVC) Pipe and
for information only.
Piping Components with Tapered Sockets
1.5 The following safety hazards caveat pertains only to the
D3212 Specification for Joints for Drain and Sewer Plastic
test method portion, Section 10, of this specification. This
Pipes Using Flexible Elastomeric Seals
standard does not purport to address all of the safety concerns,
F412 Terminology Relating to Plastic Piping Systems
if any, associated with its use. It is the responsibility of the user
F477 Specification for Elastomeric Seals (Gaskets) for Join-
of this standard to establish appropriate safety, health, and
ing Plastic Pipe
environmental practices and determine the applicability of
F656 Specification for Primers for Use in Solvent Cement
regulatory limitations prior to use.
Joints of Poly(Vinyl Chloride) (PVC) Plastic Pipe and
1.6 This international standard was developed in accor-
Fittings
dance with internationally recognized principles on standard-
F891 Specification for Coextruded Poly(Vinyl Chloride)
ization established in the Decision on Principles for the
(PVC) Plastic Pipe With a Cellular Core
Development of International Standards, Guides and Recom-
F913 Specification for Thermoplastic Elastomeric Seals
mendations issued by the World Trade Organization Technical
(Gaskets) for Joining Plastic Pipe
Barriers to Trade (TBT) Committee.
This standard is under the jurisdiction of Committee F17 on Plastic Piping
Systems and is the direct responsibility of Subcommittee F17.63 on DWV. For referenced ASTM standards, visit the ASTM website, www.astm.org, or
Current edition approved April 1, 2023. Published April 2023. Originally contact ASTM Customer Service at service@astm.org. For Annual Book of ASTM
approved in 1998. Last previous edition approved in 2018 as F1866–18. DOI: Standards volume information, refer to the standard’s Document Summary page on
10.1520/F1866-23. the ASTM website.
*A Summary of Changes section appears at the end of this standard
Copyright © ASTM International, 100 Barr Harbor Drive, PO Box C700, West Conshohocken, PA 19428-2959. United States
F1866 − 23
3. Terminology fitting manufacturer’s recommendations. All surfaces of the
joint that contact the gasket shall be smooth and free of
3.1 Definitions—Definitions are in accordance with Termi-
imperfections, ridges, fractures or cracks that could affect the
nology F412, and abbreviations are in accordance with Termi-
seal.
nology D1600, unless otherwise specified.
6. Dimensions and Permissible Variations
4. Materials and Manufacture
6.1 Spigot Diameter—The outside diameter and out-of-
4.1 Basic Materials—The molded components for fabri-
roundness of the fitting spigot shall meet the requirements of
cated fittings shall be made of virgin or rework PVC com-
Table 1 when measured in accordance with 10.1.1
pounds meeting or exceeding the requirements of Class 12454
6.2 Spigot Length—The spigot length shall meet the require-
as defined in Classification D1784.
ments as given in Table 1 when measured in accordance with
4.1.1 The pipe shall be made of PVC that meets the
10.1.2.
requirements of the Materials Section of Specification D1785
or D2665.
6.3 Wall Thickness—The minimum wall thickness of the
fitting shall meet the requirements of Table 1 when measured in
4.2 Gaskets—Elastomeric seals (gaskets) shall comply with
accordance with 10.1.3. In the case of fittings fabricated from
the requirements of Specification F477 or F913.
pipe sections, the thickness of the wall in the bell and branch
4.3 Lubricant—The lubricant used for field assembly shall
area shall be considered satisfactory if it was formed from pipe
be the type recommended by the manufacturer of the fitting.
meeting those requirements.
Prolonged exposure to the lubricant shall not damage the
6.4 Solvent Cement Sockets:
gasket, pipe, or fitting.
6.4.1 Socket Diameter—The inside diameter of the fitting
5. General Requirements
socket shall meet the requirements as specified in Table 2 when
measured in accordance with 10.1.4.
5.1 Fabrication Joint Material —The fabrication joint ma-
6.4.2 Socket Depths—The socket depth shall meet the re-
terial or reinforcing overlays shall be of the type, strength, and
quirements as given in Table 2 when measured in accordance
properties suitable for intended fabrication. It is the decision of
with 10.1.5.
the manufacturer as to what material will be used. The PVC
primer shall meet the requirements of Specification F656. The
6.5 Gasket Joint Sockets—The minimum depth and maxi-
PVC solvent cement shall meet the requirements of Specifica- mum projection for gasket sockets, show in Fig. 1, shall meet
tion D2564.
the dimensional values given in Table 3. Measurements shall
be made in accordance with Test Method D2122. All other
5.2 Heat Fusion Welds—Fittings assembled using the heat
dimensions shall be in accordance with the manufacturer’s
fusion welding process shall meet all of the requirements of
specifications.
this specification.
5.3 Pipe Performance—Pipe that is used to fabricate fittings 7. Properties
shall meet all of the schedule 40 requirements of Specification
7.1 Resistance to Bending—Fabricated fittings shall be
D1785 or D2665.
tested in accordance with 10.2. The bond shall not show any
5.4 Waterway—Fabricated fittings shall be constructed so
sign of cracking, splitting, or separation as seen by the naked
that pipe ends of branches do not project into the waterway of eye.
the fitting body.
7.2 Leak Test—After completing the Resistance to Bending
5.5 Gasketed Joint System—The joint shall display no test, the fabrication joint shall be checked for leakage in
leakage when tested in accordance with the requirements of accordance with 10.3. Fittings subjected to these tests shall be
Specification D3212 when assembled in accordance with the discarded.
TABLE 1 Pipe/Fitting Dimensions
Average O.D.
Nominal Minimum Maximum Out-of-Roundness, in. Min. Wall Thickness, in. Min. Spigot Length, in.
Pipe Size in. (mm) in. (mm) (mm) (mm) (mm)
1 ⁄2 1.894 (48.11) 1.906 (48.41) 0.024 (0.61) 0.145 (3.68) 1.500 (38.10)
2 2.369 (60.18) 2.381 (60.48) 0.024 (0.61) 0.154 (3.91) 2.000 (50.8)
3 3.492 (88.70) 3.508 (89.10) 0.030 (0.76) 0.216 (5.49) 3.000 (76.2)
4 4.491 (114.07) 4.509 (114.53) 0.030 (0.76) 0.237 (6.02) 4.000 (101.60)
6 6.614 (168.00) 6.636 (168.55) 0.050 (1.27) 0.280 (7.11) 6.000 (152.40)
8 8.610 (218.69) 8.640 (219.46) 0.150 (3.81) 0.322 (8.18) 6.000 (152.40)
10 10.735 (272.67) 10.765 (273.43) 0.150 (3.81) 0.365 (9.27) 7.500 (190.50)
12 12.735 (323.47) 12.765 (324.23) 0.150 (3.81) 0.406 (10.31) 8.500 (215.90)
14 13.985 (355.22) 14.015 (355.98) 0.200 (5.08) 0.437 (11.10) 9.000 (228.60)
16 15.981 (405.92) 16.019 (406.88) 0.320 (8.13) 0.500 (12.70) 10.000 (254.00)
18 17.981 (456.72) 18.019 (457.68) 0.360 (9.14) 0.562 (14.27) 12.000 (304.80)
20 19.977 (507.42) 20.023 (508.58) 0.400 (10.16) 0.593 (15.06) 12.000 (304.80)
24 23.969 (608.81) 24.031 (610.39) 0.480 (12.19) 0.687 (17.45) 14.000 (355.60)
F1866 − 23
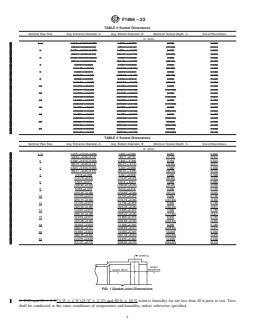
TABLE 2 Socket Dimensions
Nominal Pipe Size Avg. Entrance Diameter, A Avg. Bottom Diameter, B Min
...
This document is not an ASTM standard and is intended only to provide the user of an ASTM standard an indication of what changes have been made to the previous version. Because
it may not be technically possible to adequately depict all changes accurately, ASTM recommends that users consult prior editions as appropriate. In all cases only the current version
of the standard as published by ASTM is to be considered the official document.
Designation: F1866 − 18 F1866 − 23 An American National Standard
Standard Specification for
Poly (Vinyl Chloride) (PVC) Plastic Schedule 40 Drainage
and DWV Fabricated Fittings
This standard is issued under the fixed designation F1866; the number immediately following the designation indicates the year of
original adoption or, in the case of revision, the year of last revision. A number in parentheses indicates the year of last reapproval. A
superscript epsilon (´) indicates an editorial change since the last revision or reapproval.
1. Scope*
1.1 This specification covers requirements and test methods for fabricated poly(vinyl chloride) (PVC) plastic schedule 40 drainage
and DWV fittings to be used with piping manufactured in accordance with Specifications D2665 or F891. These fabricated fittings
are manufactured from pipe, or from a combination of pipe and injection molded parts.
1.2 The requirements of this specification are to provide fabricated PVC fittings suitable for drainage and venting of sanitary waste
systems, storm water systems, and certain other liquid wastes. Fittings shall have solvent cement joints, gasket joints or a
combination thereof.
1.3 The text of this specification references notes, footnotes, and appendixes that provide explanatory material. These notes and
footnotes (excluding those in tables and figures) shall not be considered as requirements of the specification.
1.4 The values stated in inch-pound units are to be regarded as the standard. The values given in parentheses are provided for
information only.
1.5 The following safety hazards caveat pertains only to the test method portion, Section 10, of this specification. This standard
does not purport to address all of the safety concerns, if any, associated with its use. It is the responsibility of the user of this
standard to establish appropriate safety, health, and environmental practices and determine the applicability of regulatory
limitations prior to use.
1.6 This international standard was developed in accordance with internationally recognized principles on standardization
established in the Decision on Principles for the Development of International Standards, Guides and Recommendations issued
by the World Trade Organization Technical Barriers to Trade (TBT) Committee.
2. Referenced Documents
2.1 ASTM Standards:
D618 Practice for Conditioning Plastics for Testing
D1600 Terminology for Abbreviated Terms Relating to Plastics
D1784 Classification System and Basis for Specification for Rigid Poly(Vinyl Chloride) (PVC) Compounds and Chlorinated
Poly(Vinyl Chloride) (CPVC) Compounds
D1785 Specification for Poly(Vinyl Chloride) (PVC) Plastic Pipe, Schedules 40, 80, and 120
D2122 Test Method for Determining Dimensions of Thermoplastic Pipe and Fittings
This standard is under the jurisdiction of Committee F17 on Plastic Piping Systems and is the direct responsibility of Subcommittee F17.63 on DWV.
Current edition approved Feb. 1, 2018April 1, 2023. Published March 2018April 2023. Originally approved in 1998. Last previous edition approved in 20172018 as
F1866–13(2017).F1866–18. DOI: 10.1520/F1866-18.10.1520/F1866-23.
For referenced ASTM standards, visit the ASTM website, www.astm.org, or contact ASTM Customer Service at service@astm.org. For Annual Book of ASTM Standards
volume information, refer to the standard’s Document Summary page on the ASTM website.
*A Summary of Changes section appears at the end of this standard
Copyright © ASTM International, 100 Barr Harbor Drive, PO Box C700, West Conshohocken, PA 19428-2959. United States
F1866 − 23
D2564 Specification for Solvent Cements for Poly(Vinyl Chloride) (PVC) Plastic Piping Systems
D2665 Specification for Poly(Vinyl Chloride) (PVC) Plastic Drain, Waste, and Vent Pipe and Fittings
D2855 Practice for the Two-Step (Primer and Solvent Cement) Method of Joining Poly (Vinyl Chloride) (PVC) or Chlorinated
Poly (Vinyl Chloride) (CPVC) Pipe and Piping Components with Tapered Sockets
D3212 Specification for Joints for Drain and Sewer Plastic Pipes Using Flexible Elastomeric Seals
F412 Terminology Relating to Plastic Piping Systems
F477 Specification for Elastomeric Seals (Gaskets) for Joining Plastic Pipe
F656 Specification for Primers for Use in Solvent Cement Joints of Poly(Vinyl Chloride) (PVC) Plastic Pipe and Fittings
F891 Specification for Coextruded Poly(Vinyl Chloride) (PVC) Plastic Pipe With a Cellular Core
F913 Specification for Thermoplastic Elastomeric Seals (Gaskets) for Joining Plastic Pipe
3. Terminology
3.1 Definitions—Definitions are in accordance with Terminology F412, and abbreviations are in accordance with Terminology
D1600, unless otherwise specified.
4. Materials and Manufacture
4.1 Basic Materials—The molded components for fabricated fittings shall be made of virgin or rework PVC compounds meeting
or exceeding the requirements of Class 12454 as defined in SpecificationClassification D1784.
4.1.1 The pipe shall be made of PVC that meets the requirements of the Materials Section of Specification D1785 or D2665.
4.2 Gaskets—Elastomeric seals (gaskets) shall comply with the requirements of Specification F477 or F913.
4.3 Lubricant—The lubricant used for field assembly shall be the type recommended by the manufacturer of the fitting. Prolonged
exposure to the lubricant shall not damage the gasket, pipe, or fitting.
5. General Requirements
5.1 Fabrication Joint Material —The fabrication joint material or reinforcing overlays shall be of the type, strength, and properties
suitable for intended fabrication. It is the decision of the manufacturer as to what material will be used. The PVC primer shall meet
the requirements of Specification F656. The PVC solvent cement shall meet the requirements of Specification D2564.
5.2 Heat Fusion Welds—Fittings assembled using the heat fusion welding process shall meet all of the requirements of this
specification.
5.3 Pipe Performance—Pipe that is used to fabricate fittings shall meet all of the schedule 40 requirements of Specification D1785
or D2665.
5.4 Waterway—Fabricated fittings shall be constructed so that pipe ends of branches do not project into the waterway of the fitting
body.
5.5 Gasketed Joint System—The joint shall display no leakage when tested in accordance with the requirements of Specification
D3212 when assembled in accordance with the fitting manufacturer’s recommendations. All surfaces of the joint that contact the
gasket shall be smooth and free of imperfections, ridges, fractures or cracks that could affect the seal.
6. Dimensions and Permissible Variations
6.1 Spigot Diameter—The outside diameter and out-of-roundness of the fitting spigot shall meet the requirements of Table 1 when
measured in accordance with 10.1.1
6.2 Spigot Length—The spigot length shall meet the requirements as given in Table 1 when measured in accordance with 10.1.2.
6.3 Wall Thickness—The minimum wall thickness of the fitting shall meet the requirements of Table 1 when measured in
F1866 − 23
TABLE 1 Pipe/Fitting Dimensions
Average O.D.
Nominal Minimum Maximum Out-of-Roundness, in. Min. Wall Thickness, in. Min. Spigot Length, in.
Pipe Size in. (mm) in. (mm) (mm) (mm) (mm)
1 ⁄2 1.894 (48.11) 1.906 (48.41) 0.024 (0.61) 0.145 (3.68) 1.500 (38.10)
2 2.369 (60.18) 2.381 (60.48) 0.024 (0.61) 0.154 (3.91) 2.000 (50.8)
3 3.492 (88.70) 3.508 (89.10) 0.030 (0.76) 0.216 (5.49) 3.000 (76.2)
4 4.491 (114.07) 4.509 (114.53) 0.030 (0.76) 0.237 (6.02) 4.000 (101.60)
6 6.614 (168.00) 6.636 (168.55) 0.050 (1.27) 0.280 (7.11) 6.000 (152.40)
8 8.610 (218.69) 8.640 (219.46) 0.150 (3.81) 0.322 (8.18) 6.000 (152.40)
10 10.735 (272.67) 10.765 (273.43) 0.150 (3.81) 0.365 (9.27) 7.500 (190.50)
12 12.735 (323.47) 12.765 (324.23) 0.150 (3.81) 0.406 (10.31) 8.500 (215.90)
14 13.985 (355.22) 14.015 (355.98) 0.200 (5.08) 0.437 (11.10) 9.000 (228.60)
16 15.981 (405.92) 16.019 (406.88) 0.320 (8.13) 0.500 (12.70) 10.000 (254.00)
18 17.981 (456.72) 18.019 (457.68) 0.360 (9.14) 0.562 (14.27) 12.000 (304.80)
20 19.977 (507.42) 20.023 (508.58) 0.400 (10.16) 0.593 (15.06) 12.000 (304.80)
24 23.969 (608.81) 24.031 (610.39) 0.480 (12.19) 0.687 (17.45) 14.000 (355.60)
accordance with 10.1.3. In the case of fittings fabricated from pipe sections, the thickness of the wall in the bell and branch area
shall be considered satisfactory if it was formed from pipe meeting those requirements.
6.4 Solvent Cement Sockets:
6.4.1 Socket Diameter—The inside diameter of the fitting socket shall meet the requirements as specified in Table 2 when
measured in accordance with 10.1.4.
6.4.2 Socket Depths—The socket depth shall meet the requirements as given in Table 2 when measured in accordance with 10.1.5.
6.5 Gasket Joint Sockets—The minimum depth and maximum projection for gasket sockets, show in Fig. 1, shall meet the
dimensional values given in Table 3. Measurements shall be made in accordance with Test Method D2122. All other dimensions
shall be in accordance with the manufacturer’s specifications.
7. Properties
7.1 Resistance to Bending—Fabricated fittings shall be tested in accordance with 10.2. The bond shall not show any sign of
cracking, splitting, or separation as seen by the naked eye.
7.2 Leak Test—After completing the Resistance to Bending test, the fabrication joint shall be checked for leakage in accordance
with 10.3. Fittings subjected to these tests shall be discarded.
7.3 Solvent Weld Bond Area—The bond area for the manufacturer’s solvent welds shall be in accordance with the manufacturer’s
standard design dimensions and tolerances, and the insertion bond depth shall be not less than 0.75 in. all around the perimeter.
Joints shall be made in accordance with Practice D2855.
8. Workmanship, Finish, and Appearance
8.1 The fittings shall be homogeneous throughout, and free from visible cracks, holes, foreign inclusions, or other defects.
Scratches deeper than 10 % of the wall thickness shall be considered unacceptable. The fittings shall be uniform in color, opacity,
density, and other physical properties.
9. Sample and Conditioning
9.1 Sampling—The selection of fitting samples shall be as agreed upon between the purchaser and the manufacturer. In case of
no prior agreement, samples selected by the testing laboratory s
...








Questions, Comments and Discussion
Ask us and Technical Secretary will try to provide an answer. You can facilitate discussion about the standard in here.
Loading comments...