ISO 6511:1982
(Main)Building construction — Modular coordination — Modular floor plane for vertical dimensions
Building construction — Modular coordination — Modular floor plane for vertical dimensions
Defines three positions of the modular floor plane as reference plane for vertical modular dimensions in building design and gives rules for the position of the floor in relation to this plane. Applies to the construction of buildings of all types designed in accordance with the principles and rules of modular coordination as laid down in ISO 2848.
Construction immobilière — Coordination modulaire — Plan modulaire du plancher pour les dimensions verticales
General Information
- Status
- Published
- Publication Date
- 31-Jan-1982
- Technical Committee
- ISO/TC 59 - Buildings and civil engineering works
- Drafting Committee
- ISO/TC 59 - Buildings and civil engineering works
- Current Stage
- 9060 - Close of review
- Completion Date
- 02-Sep-2029
Overview
ISO 6511:1982 is an international standard established by the International Organization for Standardization (ISO) focusing on modular coordination in building construction. Specifically, it addresses the modular floor plane for vertical dimensions, defining three key positions of the modular floor plane used as a reference for vertical modular measurements within building design. This standard ensures consistent vertical dimension coordination in construction projects adhering to modular principles as set in ISO 2848.
The standard applies broadly to all building types and provides clear rules for the vertical positioning of floors relative to the reference modular floor plane, facilitating improved dimensional coordination and structural planning.
Key Topics
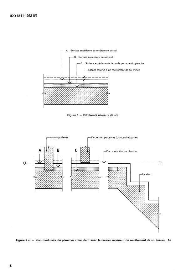
Modular Floor Plane Definition
The modular floor plane is a horizontal reference plane that is continuous throughout each floor level of a building. It may coincide with one of three positions:- The upper surface of the finished floor covering
- The upper surface of the raw (unfinished) floor
- The upper surface of the floor's load-bearing part
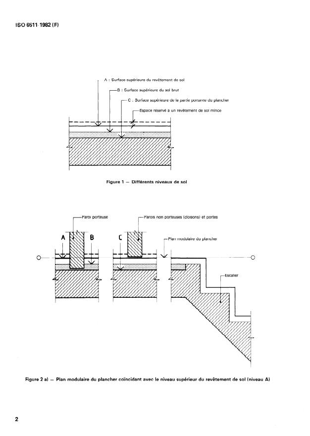
Vertical Dimension Coordination
ISO 6511 defines how vertical dimensions in modular construction should be referenced to this modular floor plane, providing a uniform basis for building height and level measurements.Application of Modular Coordination Principles
The standard aligns with the principles and rules outlined in ISO 2848, which governs modular coordination in building design. It ensures that vertical dimensions correspond systematically to this modular framework, reducing inconsistencies and improving construction accuracy.Floor Positioning Rules
The standard outlines rules for how the actual floor structure should be positioned relative to the modular floor plane. These rules support consistency in design and construction by accounting for variations in floor materials and structural elements.
Applications
Architectural and Structural Design
Architects and engineers use ISO 6511 to standardize floor height references across different building projects, facilitating clear communication and integration of design components.Modular Building Systems
The standard is essential in modular construction systems where components are prefabricated and assembled on site. It supports precise vertical dimensioning, which is crucial for modular coordination and compatibility.Coordination Across Disciplines
By providing a common vertical reference plane, ISO 6511 enhances collaboration between disciplines such as architecture, structural engineering, HVAC, and interior design, all of whom rely on accurate vertical dimensions.Construction Quality Control
Construction managers and surveyors employ the modular floor plane to verify that floors are built according to specified tolerances and modular dimensions, ensuring structural integrity and compliance.
Related Standards
ISO 2848: Modular Coordination - Principles and Rules
This foundational standard sets out the modular coordination principles that ISO 6511 extends into vertical dimensioning, including module sizes and overall coordination frameworks.ISO 1791: Modular Coordination - Vocabulary
ISO 6511 references this standard for consistent terminology related to modular coordination, ensuring clarity and uniform understanding across international projects.
Benefits of ISO 6511:1982
- Improved dimensional consistency in vertical building measurements
- Enhanced integration with modular architectural systems
- Reduced construction errors and rework due to clear reference planes
- Facilitated international collaboration through standardized definitions
- Support for flexible design accommodating floor finish variations
Keywords: ISO 6511, modular coordination, modular floor plane, vertical dimensions, building construction standards, ISO 2848, modular building design, floor height reference, modular construction, dimensional coordination
Buy Documents
ISO 6511:1982 - Building construction -- Modular coordination -- Modular floor plane for vertical dimensions
ISO 6511:1982 - Construction immobiliere -- Coordination modulaire -- Plan modulaire du plancher pour les dimensions verticales
ISO 6511:1982 - Construction immobiliere -- Coordination modulaire -- Plan modulaire du plancher pour les dimensions verticales
Get Certified
Connect with accredited certification bodies for this standard

ICC Evaluation Service
Building products evaluation and certification.

QAI Laboratories
Building and construction product testing and certification.

Aboma Certification B.V.
Specialized in construction, metal, and transport sectors.
Sponsored listings
Frequently Asked Questions
ISO 6511:1982 is a standard published by the International Organization for Standardization (ISO). Its full title is "Building construction — Modular coordination — Modular floor plane for vertical dimensions". This standard covers: Defines three positions of the modular floor plane as reference plane for vertical modular dimensions in building design and gives rules for the position of the floor in relation to this plane. Applies to the construction of buildings of all types designed in accordance with the principles and rules of modular coordination as laid down in ISO 2848.
Defines three positions of the modular floor plane as reference plane for vertical modular dimensions in building design and gives rules for the position of the floor in relation to this plane. Applies to the construction of buildings of all types designed in accordance with the principles and rules of modular coordination as laid down in ISO 2848.
ISO 6511:1982 is classified under the following ICS (International Classification for Standards) categories: 91.060.30 - Ceilings. Floors. Stairs. The ICS classification helps identify the subject area and facilitates finding related standards.
ISO 6511:1982 is available in PDF format for immediate download after purchase. The document can be added to your cart and obtained through the secure checkout process. Digital delivery ensures instant access to the complete standard document.
Standards Content (Sample)
International Standard
INTERNATIONAL ORGANIZATION FOR STANDARDIZATION*MEWYHAPOAHAR OPrAHM3Al#lR fl0 CTAH~APTM3ALWWl.ORGANISATlON INTERNATIONALE DE NORMALISATION
Building construction - Modular Coordination - Modular
floor plane for vertical dimensions
- Plan modulaire du planher pour les dimensions verticales
Cons truc tion immobili&e - Coordination modulaire
First edition - 1982-02-15
Ref. No. ISO 65114982 (E)
UDC 721.013
Descriptors : buildings, dimensional Coordination, modular structures, reference Plans, dimensions.
Price based on 3 pages
Foreword
ISO (the International Organization for Standardization) is a worldwide federation of
national Standards institutes (ISO member bodies). The work of developing Inter-
national Standards is carried out through ISO technical committees. Every member
body interested in a subject for which a technical committee has been set up has the
right to be represented on that committee. International organizations, governmental
and non-governmental, in liaison with ISO, also take part in the work.
Draft International Standards adopted by the technical committees are circulated to
the member bodies for approval before their acceptance as International Standards by
the ISO Council.
International Standard ISO 6511 was developed by Technical Committee ISO/TC 59,
Building construction, and was circulated to the member bodies in December 1978.
lt has been approved by the member bodies of the following countries :
Australia Greece New Zealand
Belgium Hungary Norway
Bulgaria India Poland
Canada I reland Romania
China Israel South Africa, Rep. of
Cyprus Italy Spain
Czechoslovakia Japan Sweden
Denmark Korea, Rep. of Switzerland
Finland Libyan Arab Jamahiriya Thailand
France Mexico Turkey
Germany, F. R. Netherlands United Kingdom
The member body of the following country expressed disapproval of the document on
technical grounds
0 International Organkation for Standardkation, 1982
Printed in Switzerland
INTERNATIONAL STANDARD ISO 6511-1982 (EI
Building construction - Modular Coordination - Modular
floor plane for vertical dimensions
2 References
0 lntroduction
In Order to apply modular Coordination to vertical dimensions in ISO 1791, Building construction - Modular Coordination -
building construction, it is necessary to define a reference plane Vocabulary.
from which such modular dimensions may be taken. This
ISO 2848, Building construction - Modular Coordination -
reference plane is called the modular floor plane. In this Interna-
Principles and rules.
tional Standard, the modular floor plane is defined in such a
way as to be continuous all over each storey of a building,
regardless of the fact that the level of the upper surface of floo
...
Norme internationale 6511
INTERNATIONAL ORGANIZATION FOR STANDARDIZATIONWlE~YHAPO~HAR OPrAHM3ALlMR fIO CTAH~APTM3A~MMWRGANISATION INTERNATIONALE DE NORMALISATION
Construction immobilière - Coordination modulaire -
Plan modulaire du plancher pour les dimensions verticales
Building cons truc tion - Modular coordination - Modular floor plane for vertical dimensions
Première édition - 1982-02-15
CDU 721.013 Réf. no : ISO 65114982 (FI
Descripteurs : bâtiment, coordination dimensionnelie, structure modulaire, plan de référence, dimension.
Prix basé sur 3 pages
Avant-propos
L’ISO (Organisation internationale de normalisation) est une fédération mondiale
d’organismes nationaux de normalisation (comités membres de I’ISO). L’élaboration
des Normes internationales est confiée aux comités techniques de I’ISO. Chaque
comité membre intéressé par une étude a le droit de faire partie du comité technique
correspondant. Les organisations internationales, gouvernementales et non gouverne-
mentales, en liaison avec I’ISO, participent également aux travaux.
Les projets de Normes internationales adoptés par les comités techniques sont soumis
aux comités membres pour approbation, avant leur acceptation comme Normes inter-
nationales par le Conseil de I’ISO.
La Norme internationale ISO 6511 a été élaborée par le comité technique ISO/TC 59,
Construction immoblière, et a été soumise aux comités membres en décembre 1978.
Les comités membres des pays suivants l’ont approuvée :
Afrique du Sud, Rép. d’ Finlande Norvège
Allemagne, R. F. France Nouvelle-Zélande
Australie Grèce Pays- Bas
Belgique Hongrie Pologne
Bulgarie Inde Roumanie
Royaume-Uni
Canada Irlande
Chine Israël Suède
- .
Italie Sursse
Chypre
Corée, Rép. de Jamahiriya arabe libyenne Tchécoslova quie
Danemark Japon Thaïlande
Espagne Mexique Turquie
Le comité membre du pays suivant l’a désapprouvée pour des raisons techniques :
Autriche
0 Organisation internationale de normalisation, 1982
Imprimé en Suisse
NORME INTERNATIONALE ISO 65114982 (F)
Construction immobilière - Coordination modulaire -
Plan modulaire du plancher pour les dimensions verticales
0 Introduction 2 Références
ISO 1791, Coordination modulaire - Vocabulaire.
Pour l’application de la coordination modulaire aux dimensions
verticales dans la construction immobilière, il est nécessaire de
ISO 2848, Coordination modulaire - Principes et règles.
déterminer un plan de référence auquel les dimensions modu-
laires peuvent être rattachées. Ce plan de référence est appelé
le «plan modulaire du plancher)). Dans la présente Norme inter-
3 Définition
nationale, ce plan modulaire du plancher est déterminé de telle
manière qu’il soit continu sur toute l’étendue de chaque étage
La définition suivante est applicable dans le cadre de la présente
d’un bâtiment, quoique le niveau
...
Norme internationale 6511
INTERNATIONAL ORGANIZATION FOR STANDARDIZATIONWlE~YHAPO~HAR OPrAHM3ALlMR fIO CTAH~APTM3A~MMWRGANISATION INTERNATIONALE DE NORMALISATION
Construction immobilière - Coordination modulaire -
Plan modulaire du plancher pour les dimensions verticales
Building cons truc tion - Modular coordination - Modular floor plane for vertical dimensions
Première édition - 1982-02-15
CDU 721.013 Réf. no : ISO 65114982 (FI
Descripteurs : bâtiment, coordination dimensionnelie, structure modulaire, plan de référence, dimension.
Prix basé sur 3 pages
Avant-propos
L’ISO (Organisation internationale de normalisation) est une fédération mondiale
d’organismes nationaux de normalisation (comités membres de I’ISO). L’élaboration
des Normes internationales est confiée aux comités techniques de I’ISO. Chaque
comité membre intéressé par une étude a le droit de faire partie du comité technique
correspondant. Les organisations internationales, gouvernementales et non gouverne-
mentales, en liaison avec I’ISO, participent également aux travaux.
Les projets de Normes internationales adoptés par les comités techniques sont soumis
aux comités membres pour approbation, avant leur acceptation comme Normes inter-
nationales par le Conseil de I’ISO.
La Norme internationale ISO 6511 a été élaborée par le comité technique ISO/TC 59,
Construction immoblière, et a été soumise aux comités membres en décembre 1978.
Les comités membres des pays suivants l’ont approuvée :
Afrique du Sud, Rép. d’ Finlande Norvège
Allemagne, R. F. France Nouvelle-Zélande
Australie Grèce Pays- Bas
Belgique Hongrie Pologne
Bulgarie Inde Roumanie
Royaume-Uni
Canada Irlande
Chine Israël Suède
- .
Italie Sursse
Chypre
Corée, Rép. de Jamahiriya arabe libyenne Tchécoslova quie
Danemark Japon Thaïlande
Espagne Mexique Turquie
Le comité membre du pays suivant l’a désapprouvée pour des raisons techniques :
Autriche
0 Organisation internationale de normalisation, 1982
Imprimé en Suisse
NORME INTERNATIONALE ISO 65114982 (F)
Construction immobilière - Coordination modulaire -
Plan modulaire du plancher pour les dimensions verticales
0 Introduction 2 Références
ISO 1791, Coordination modulaire - Vocabulaire.
Pour l’application de la coordination modulaire aux dimensions
verticales dans la construction immobilière, il est nécessaire de
ISO 2848, Coordination modulaire - Principes et règles.
déterminer un plan de référence auquel les dimensions modu-
laires peuvent être rattachées. Ce plan de référence est appelé
le «plan modulaire du plancher)). Dans la présente Norme inter-
3 Définition
nationale, ce plan modulaire du plancher est déterminé de telle
manière qu’il soit continu sur toute l’étendue de chaque étage
La définition suivante est applicable dans le cadre de la présente
d’un bâtiment, quoique le niveau
...












Questions, Comments and Discussion
Ask us and Technical Secretary will try to provide an answer. You can facilitate discussion about the standard in here.
Loading comments...