ISO 7569:1986
(Main)Woodworking machines — Planing machines for two-, three- or four-side dressing — Nomenclature and acceptance conditions
Woodworking machines — Planing machines for two-, three- or four-side dressing — Nomenclature and acceptance conditions
Specifies the geometrical tests for these woodworking planing machines, and gives the corresponding permissible deviations which apply to machines for general purpose use and normal accuracy. Gives also the terminology appropriate to each part of the machine (in English and French as well as the equivalent terms in German, Spanish, and Italian). It deals only with verification of accuracy of the machine. It does not apply to the testing of the running of the machine, nor to machine characteristics which should generally be checked before the accuracy is tested. Does not impose any practical test.
Machines à bois — Machines à raboter pour le travail sur deux, trois ou quatre faces — Nomenclature et conditions de réception
General Information
- Status
- Withdrawn
- Publication Date
- 26-Nov-1986
- Withdrawal Date
- 26-Nov-1986
- Technical Committee
- ISO/TC 39/SC 4 - Woodworking machines
- Drafting Committee
- ISO/TC 39/SC 4 - Woodworking machines
- Current Stage
- 9599 - Withdrawal of International Standard
- Start Date
- 02-Mar-2018
- Completion Date
- 12-Feb-2026
Relations
- Consolidated By
ISO 3376:2002 - Leather — Physical and mechanical tests — Determination of tensile strength and percentage extension - Effective Date
- 06-Jun-2022
ISO 7569:1986 - Woodworking machines -- Planing machines for two-, three- or four-side dressing -- Nomenclature and acceptance conditions
ISO 7569:1986 - Machines a bois -- Machines a raboter pour le travail sur deux, trois ou quatre faces -- Nomenclature et conditions de réception
Get Certified
Connect with accredited certification bodies for this standard
Gozdarski inštitut Slovenije
Slovenian Forestry Institute. Forest management certification support, timber testing.
Sponsored listings
Frequently Asked Questions
ISO 7569:1986 is a standard published by the International Organization for Standardization (ISO). Its full title is "Woodworking machines — Planing machines for two-, three- or four-side dressing — Nomenclature and acceptance conditions". This standard covers: Specifies the geometrical tests for these woodworking planing machines, and gives the corresponding permissible deviations which apply to machines for general purpose use and normal accuracy. Gives also the terminology appropriate to each part of the machine (in English and French as well as the equivalent terms in German, Spanish, and Italian). It deals only with verification of accuracy of the machine. It does not apply to the testing of the running of the machine, nor to machine characteristics which should generally be checked before the accuracy is tested. Does not impose any practical test.
Specifies the geometrical tests for these woodworking planing machines, and gives the corresponding permissible deviations which apply to machines for general purpose use and normal accuracy. Gives also the terminology appropriate to each part of the machine (in English and French as well as the equivalent terms in German, Spanish, and Italian). It deals only with verification of accuracy of the machine. It does not apply to the testing of the running of the machine, nor to machine characteristics which should generally be checked before the accuracy is tested. Does not impose any practical test.
ISO 7569:1986 is classified under the following ICS (International Classification for Standards) categories: 01.040.79 - Wood technology (Vocabularies); 79.120.10 - Woodworking machines. The ICS classification helps identify the subject area and facilitates finding related standards.
ISO 7569:1986 has the following relationships with other standards: It is inter standard links to ISO 3376:2002. Understanding these relationships helps ensure you are using the most current and applicable version of the standard.
ISO 7569:1986 is available in PDF format for immediate download after purchase. The document can be added to your cart and obtained through the secure checkout process. Digital delivery ensures instant access to the complete standard document.
Standards Content (Sample)
International Standard
INTERNATIONAL ORGANIZATION FOR STANDARDIZATION.MEIK~YHAPO~HAR OPrAHM3ALlMR l-l0 CTAH~APTM3AlWl~ORGANISATlON INTERNATIONALE DE NORMALISATION
Woodworking machines - Planing machines for
two-, three- or four-side dressing - Nomenclature and
acceptance conditions
Machines 4 bois - Machines a raboter pour Ie travail sur deux, trois ou guatre faces - Nomencla ture et conditions de r&cep tion
First edition - 1986-12-01
UDC 674.056 : 621.91225 Ref. No. ISO 7569-1986 (E)
G
-
Descriptors : machine tools, woodworking machinery, planing machines, vocabulary, tests, measurement, accuracy.
5:
Price based on 10 pages
-
--
Foreword
ISO (the International Organization for Standardization) is a worldwide federation of
national Standards bodies (ISO member bodies). The work of preparing International
Standards is normally carried out through ISO technical committees. Esch member
body interested in a subject for which a technical committee has been established has
the right to be represented on that committee. International organizations, govern-
mental and non-governmental, in liaison with ISO, also take part in the work.
Draft International Standards adopted by the technical committees are circulated to
the member bodies for approval before their acceptance as International Standards by
the ISO Council. They are approved in accordance with ISO procedures requiring at
least 75 % approval by the member bodies voting.
International Standard ISO 7569 was prepared by Technical Committee ISO/TC 39,
Machine tools.
Users should note that all International Standards undergo revision from time to time
and that any reference made herein to any other International Standard implies its
latest edition, unless otherwise stated.
0 International Organkation for Standardkation, 1996 0
Printed in Switzerland
ISO 75694986 (E)
INTERNATIONAL STANDARD
Woodworking machines - Planing machines for
two-, three- or four-side dressing - Nomenclature and
acceptance conditions
3 Preliminary remarks
1 Scope and field of application
This International Standard specifies the appropriate ter-
3.1 In this International Standard all dimensions and per-
minology for each part of the machine and, with reference to
missible deviations are expressed in millimetres.
ISO 230/1, the geometrical tests for planing machines for two-,
three- or four-side dressing; it also gives the corresponding per-
missible deviations which apply to machines of general purpose
3.2 To apply this International Standard, reference should be
use and normal accuracy.
made to ISO 230/1, especially for installation of the machine
before testing, the warming up of the horizontal cutterblocks,
- In addition to terms used in two of the three official ISO
NOTE
vertical spindle and other moving Parts, and for a description of
languages (English and French), this International Standard gives the
measuring methods. The measuring instruments shall not per-
equivalent terms in German, Spanish and Italian in an annex; these
have been included at the request of Technical Committee ISO/TC 39 mit errors over 1/3 of the tolerantes being checked.
and are published under the responsibility of the member bodies for
Germany, F.R. (DIN), Spain (IRANOR) and Italy (UNI). However, only
the terms given in the official languages tan be considered as
3.3 The sequence in which the geometrical tests are given is
ISO terms.
related to the sub-assemblies of the machine and this in no way
defines the practical Order of testing. In Order to make the
This International Standard deals only with the verification of
mounting of instruments or gauging easier, tests may be
accuracy of the machine. lt does not apply to testing the
applied in any Order.
running of the machine (vibrations, abnormal noises, stick-slip
motion of the components, etc.), nor to its characteristics
(Speeds, feeds, etc.) which should generally be checked before
3.4 lt is not always possible nor necessary to carry out all the
testing accuracy.
tests given in this International Standard.
This International Standard does not impose any practical test
for planing machines for two-, three- or four-side dressing.
3.5 lt is up to the user to choose, in agreement with the
Practical tests should be exceptions and have to be stated in a
manufacturer, those tests relating to the proper-Ges which are
previous agreement between the manufacturer and the User.
of interest to him, but these tests shall be clearly stated when
ordering a machine.
This International Standard applies to those machines
designated by the numbers 12.22, 12.23 and 12.24 in ISO 7994.
3.6 A movement is longitudinal when it takes place in the
working direction of the piece.
2 References
ISO 23011, Acceptance Code fur machine tools - Part 7:
3.7 When establishing the tolerante for a measuring
Geometrie accuracy of the machine operating under no load or
range different from that given in this International Standard
finishing conditions.
(sec clause 2.311 in ISO 230/1), it should be taken into
consideration that the minimum value of the tolerante is
ISO 7984, Woodworking machines - Technical classfication
of woodworking and auxiliary machines. 1) 0,Ol mm.
1) At present at the Stage of draft.
ISO 7569-1986 (El
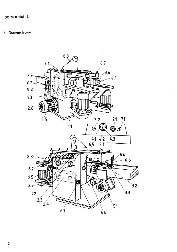
4 Nomenclature
l \
71 .
I
I
64 .
.
English French
Planing machines for
Reference
Machines & raboter pour Ie travail
two-, three- or four-side
sur deux, trois ou quatre faces
dressing
Ossature
Framework
Bati
Main frame
1.1
Deplacement des pieces et/ou
2 Feed of workpiece ‘and/or tools
outils
Cylindre d’amenage
2.1 Infeed roller
Cylindre de sottie
2.2 Outfeed roller
Chaine d’entrainement des cylindres
2.3 Feed roller drive chain
d’amenage
Reducteur de vitesse
2.4 Variable Speed gear
Pignon du tendeur de Chaine
C hain tensioner
2.5
Courroie d’entrainement de I’arbre inferieur
Belt drive for bottom spindle
2.6
Courroie d’entrainement de I’arbre superieur
Belt drive for top spindle
2.7
Courroie d’entrainement des arbres
Belt drive for milling cutterblocks
2.8
porte-fraises
Support, maintien et guidage des
3 Workpiece support clamp and guide
pieces
Ta ble
3.1 Ta ble
Rouleau d’entrainement
Feed roller
3.2
Presseur lateral
Lateral pressure
3.3
Presseur vertical
Vettical pressure
3.4
Chaine de transmission du reglage
Transmission for table rise and fall
3.5
vertical de Ia table
movement
Porte-outils et outils
4 Tool-holders and tools
Lame
4.1 Blades
Coin de blocage de Ia lame
4.2 Cutterblock wedge
Brache porte-outils
4.3 Cutterblock planing
arbre porte-fraise
4.4 Cutterblock milling
Unite de travail et son entrainement
5 Workheads and tool drives
Palier de roulement
5.1 Cutterblock bearing
Commandes
Controls
Commutateur general
Master switch
6.1
Commutateur de commande de moteur
Switches controlling each motor
6.2
individuel
commande de reglage vertical de Ia table
Table vertical adjustment control
6.3
Commande du variateur de vitesse
6.4 Feed Speed control
Commande de rouleaux d’entrainement
Drive feed rolle
...
Norme internationale
INTERNATIONAL ORGANIZATION FOR STANDARDIZATION.MEIK~YHAPO~HAR OPI-AHM3ALWlR l-l0 CTAH~APTM3AL&lM.ORGANISATlON INTERNATIONALE DE NORMALISATION
- Machines à raboter pour le travail sur
Machines à bois
deux, trois ou quatre faces - Nomenclature et conditions
de réception
Woodworking machines - Planing machines for two-, tbree- or four-side dressing - Nomencla turc and accep tance conditions
Première édition - 1986-12-01
CDU 674.056 : 621.91225 Réf. no : ISO 7569-1986 (FI
Descripteurs : machine-outil, machine à bois, machine à raboter, vocabulaire, essai, mesurage, exactitude.
Prix basé sur 10 pages
Avant-propos
L’ISO (Organisation internationale de normalisation) est une fédération mondiale
d’organismes nationaux de normalisation (comités membres de I’ISO). L’élaboration
des Normes internationales est confiée aux comités techniques de I’ISO. Chaque
comité membre intéressé par une étude a le droit de faire partie du comité technique
créé à cet effet. Les organisations internationales, gouvernementales et non gouverne-
mentales, en liaison avec I’ISO participent également aux travaux.
Les projets de Normes internationales adoptés par les comités techniques sont soumis
aux comites membres pour approbation, avant leur acceptation comme Normes inter-
nationales par le Conseil de I’ISO. Les Normes internationales sont approuvées confor-
mément aux procédures de I’ISO qui requiérent l’approbation de 75 % au moins des
comités membres votants.
La Norme internationale ISO 7569 a et6 élaborée par le comité technique ISO/TC 39,
Machines-outils.
L’attention des utilisateurs est attirée sur le fait que toutes les Normes internationales
sont de temps en temps soumises à révision et que toute référence faite à une autre
Norme internationale dans le présent document implique qu’il s’agit, sauf indication
contraire, de la derniére édition.
0 Organisation internationale de normalisation, 1986
Imprimé en Suisse
NORME INTERNATIONALE
ISO 75694986 (F)
Machines à bois - Machines à raboter pour le travail sur
deux, trois ou quatre faces - Nomenclature et conditions
de réception
1 Objet et domaine d’application 3 Observations préliminaires
La présente Norme internationale indique la terminologie pro-
pre à chaque partie de la machine et, par reference à 31 . Dans la présente Norme internationale, tou tes les dimen-
I’ISO 230/1, les vérifications géométriques des machines à
sions et tous les écarts tolérés sont exprimés en millimetres.
raboter pour le travail sur deux, trois ou quatre faces, ainsi que
les écarts tolérés correspondant à des machines d’usage géné-
ral et de précision normale. 3.2 Pour l’application de la présente Norme internationale, on
doit se reporter à I’ISO 230/1, notamment en ce qui concerne
NOTE - En supplément aux termes donnés dans deux des trois lan-
l’installation de la machine avant essais, la mise en température
gues officielles de I’ISO (anglais, français), la présente Norme interna-
des broches porte-outils à dégauchir, à raboter et à fraiser, des
tionale donne, en annexe, les termes équivalents en allemand, espa-
autres organes mobiles, ainsi que la description des methodes
gnol et italien ; ces termes ont été inclus à la demande du Comité tech-
de mesurage. Les appareils de mesurage ne doivent pas donner
nique ISO/TC 39 et sont publiés sous la responsabilité des comités
lieu à des erreurs de mesurage dépassant 1/3 de la tolérance a
membres de l’Allemagne, R.F. (DIN), de l’Espagne (IRANOR) et de
vérifier.
l’Italie (UNI). Toutefois, seuls les termes et définitions donnés dans les
langues off icielles peuvent être considérés comme termes et définitions
ISO.
3.3 L’ordre dans lequel les opérations de contrôle géométri-
La présente Norme internationale traite seulement du contrôle
que sont énumérées, correspond aux ensembles constitutifs de
de la précision de la machine. Elle ne concerne ni l’examen du
la machine et ne definit nullement l’ordre réel des opérations de
fonctionnement de la machine (vibrations, bruits anormaux, mesurage. Pour des raisons de facilité des opérations de con-
points durs dans les déplacements d’organes, etc.), ni celui de
trôle et de montage des appareils de mesurage, on peut procé-
ses caractéristiques (vitesses, avances, etc. ), examens qui doi-
der aux vérifications dans un ordre entiérement différent.
vent, en général, précéder celui de la précision.
3.4 II n’est pas toujours possible, ni nécessaire, lors de I’exa-
La présente Norme internationale ne prévoit aucune épreuve
pratique. Pour les machines à raboter pour le travail sur deux, men d’une machine, d’effectuer la totalité des essais figurant
dans la présente Norme internationale.
trois ou quatre faces, les épreuves pratiques sont des épreuves
exceptionnelles et doivent résulter d’un accord préalable entre
constructeur et utilisateur.
3.5 II appartient à l’utilisateur de choisir, en accord avec le
constructeur, les seules épreuves correspondant aux organes
La présente Norme internationale s’applique aux machines
existant sur la machine ou aux propriétés qui l’intéressent et qui
désignées sous les numéros 12.22, 12.23 et 12.24 de
doivent être clairement précisées dans la commande.
I’ISO 7984.
36 . Un mouvement est longitudinal lorsqu’il a lieu dans le
2 Références
sens d’avance de la pièce.
ISO 23011, Code de réception des machines-outils - Partie 1:
Prkision géom&rique des machines fonctionnant à vide ou
3.7 Lorsque l’écart est déterminé pour une étendue de
dans des conditions de finition.
mesurage différente de celle indiquée dans la présente Norme
ISO 7994, Machines à bois - Classification technique des
internationale (voir 2.311 de I’ISO 230/1), il y a lieu de tenir
machines à travailler le bois et des machines auxiliaires à travail-
compte de ce que la valeur minimale de l’écart à retenir est
ler le bois. 1)
0,Ol mm.
Actuellement au stade de projet.
1)
ISO 7569-1986 (FI
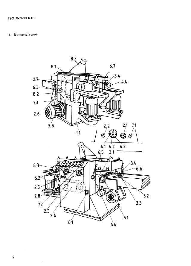
4 Nomenclature
2 . 7--
6 . 3-
82 .
73 .
26 .
8 . 3-
62 .
25 .
.
7 .
ISO 7569-1986 (FI
Français Anglais
Planing machines for
Repere
Machines à raboter pour le travail
two-, three- or four-side
sur deux, trois ou quatre faces
dressing
1 Ossature Framework
Main frame
1.1 Bâti
2 Deplacement des pieces et/ou Feed of workpiece and/or tools
outils
2.1 Cylindre d’amenage Infeed roller
2.2 Cylindre de sortie Outfeed roller
Chaîne d’entraînement des cylindres Feed roller drive chain
2.3
d’amenage
Réducteur de vitesse Variable speed gear
2.4
Pignon du tendeur de chaîne Chain tensioner
2.5
Courroie d’entraînement de l’arbre inférieur Belt drive for bottom spindle
2.6
Courroie d’entraînement de l’arbre supérieur Belt drive for top spindle
2.7
Courroie d’entraînement des arbres Belt drive for milling cutterblocks
2.8
porte-f raises
Support, maintien et guidage des Workpiece support clamp and guide
Pi&es
3.1 Table Table
3.2 Rouleau d’entraînement Feed roller
Presseur latéral Lateral pressure
3.3
Presseu r vertical Vertical pressure
3.4
Chaîne de transmission du réglage Transmission for table rise and fall
3.5
vertical de la table movement
Tool-holders and tools
4 Porte-outils et outils
Blades
4.1 Lame
Cutterblock wedge
4.2 Coin de blocage d
...








Questions, Comments and Discussion
Ask us and Technical Secretary will try to provide an answer. You can facilitate discussion about the standard in here.
Loading comments...