ISO 7983:1988
(Main)Woodworking machines — Single blade circular sawing machines with travelling table — Nomenclature and acceptance conditions
Woodworking machines — Single blade circular sawing machines with travelling table — Nomenclature and acceptance conditions
Specifies the nomenclature appropriate to each part of the machine (in English, French and Russian, and the equivalent terms in German, Italian and Swedish) and the geometrical tests for these sawing machines, and gives the corresponding permissible deviations which apply to machines of general purpose use and normal accuracy. It deals only with verification of the accuracy of the machine. It does not apply to the testing of the running of the machine nor to its characteristics which should generally be checked before the accuracy is tested.
Machines à bois — Machines à scier circulaires, monolame, à table mobile pour coupe au format — Nomenclature et conditions de réception
General Information
- Status
- Withdrawn
- Publication Date
- 09-Nov-1988
- Withdrawal Date
- 09-Nov-1988
- Technical Committee
- ISO/TC 39/SC 4 - Woodworking machines
- Drafting Committee
- ISO/TC 39/SC 4 - Woodworking machines
- Current Stage
- 9599 - Withdrawal of International Standard
- Start Date
- 22-Jul-2021
- Completion Date
- 12-Feb-2026
Relations
- Effective Date
- 06-Jun-2022
ISO 7983:1988 - Woodworking machines -- Single blade circular sawing machines with travelling table -- Nomenclature and acceptance conditions
ISO 7983:1988 - Machines a bois -- Machines a scier circulaires, monolame, a table mobile pour coupe au format -- Nomenclature et conditions de réception
ISO 7983:1988 - Machines a bois -- Machines a scier circulaires, monolame, a table mobile pour coupe au format -- Nomenclature et conditions de réception
Get Certified
Connect with accredited certification bodies for this standard
Gozdarski inštitut Slovenije
Slovenian Forestry Institute. Forest management certification support, timber testing.
Sponsored listings
Frequently Asked Questions
ISO 7983:1988 is a standard published by the International Organization for Standardization (ISO). Its full title is "Woodworking machines — Single blade circular sawing machines with travelling table — Nomenclature and acceptance conditions". This standard covers: Specifies the nomenclature appropriate to each part of the machine (in English, French and Russian, and the equivalent terms in German, Italian and Swedish) and the geometrical tests for these sawing machines, and gives the corresponding permissible deviations which apply to machines of general purpose use and normal accuracy. It deals only with verification of the accuracy of the machine. It does not apply to the testing of the running of the machine nor to its characteristics which should generally be checked before the accuracy is tested.
Specifies the nomenclature appropriate to each part of the machine (in English, French and Russian, and the equivalent terms in German, Italian and Swedish) and the geometrical tests for these sawing machines, and gives the corresponding permissible deviations which apply to machines of general purpose use and normal accuracy. It deals only with verification of the accuracy of the machine. It does not apply to the testing of the running of the machine nor to its characteristics which should generally be checked before the accuracy is tested.
ISO 7983:1988 is classified under the following ICS (International Classification for Standards) categories: 01.040.79 - Wood technology (Vocabularies); 79.120.10 - Woodworking machines. The ICS classification helps identify the subject area and facilitates finding related standards.
ISO 7983:1988 has the following relationships with other standards: It is inter standard links to ISO 10539:2002. Understanding these relationships helps ensure you are using the most current and applicable version of the standard.
ISO 7983:1988 is available in PDF format for immediate download after purchase. The document can be added to your cart and obtained through the secure checkout process. Digital delivery ensures instant access to the complete standard document.
Standards Content (Sample)
ISO
INTERNATIONAL STANDARD
First edition
1988-11-15
INTERNATIONAL ORGANIZATION FOR STANDARDIZATION
ORGANISATION INTERNATIONALE DE NORMALISATION
MEXAYHAPOAHAFI OPTAHM3AuMR l-l0 CTAHJjAPTM3A~MM
Single blade circular sawing
Woodworking machines -
machines with travelling table - Nomenclature and
acceptance conditions
- Machines A scier circulaires, monolame, A table mobile pour coupe au
Machines & bois
- Nomenclature et conditions de rkeption
forma t
Reference numt
3er
ISO 7983 : 1988
Iso 7983 : 1988 (El
Foreword
ISO (the International Organization for Standardization) is a worldwide federation of
national Standards bodies (ISO member bodies). The work of preparing International
Standards is normally carried out through ISO technical committees. Esch member
body interested in a subject for which a technical committee has been established has
the right to be represented on that committee. International organizations, govern-
mental and non-governmental, in liaison with ISO, also take part in the work. ISO
collaborates closely with the International Electrotechnical Commission (IEC) on all
matters of electrotechnical standardization.
Draft International Standards adopted by the technical committees are circulated to
the member bodies for approval before their acceptance as International Standards by
the ISO Council. They are approved in accordance with ISO procedures requiring at
least 75 % approval by the member bodies voting.
International Standard ISO 7983 was prepared by Technical Committee ISO/TC 39,
Machine tools.
Annex A of this International Standard is for information only.
0 International Organkation for Standardkation, 1988
Printed in Switzerland
INTERNATIONAL STANDARD ISO 7983 : 1988 (E)
Single blade circular sawing
Woodworking machines -
machines with travelling table - Nomenclature and
acceptance conditions
ISO 230-1 : 1986, Acceptance Code for machine tools -
1 Scope
Part I : Geometrie accuracy of machines operating under
no-load or finishing conditions.
This International Standard specifies the nomenclature
appropriate to each part of the machine and, with reference to
ISO 230-1, the geometrical tests for Single blade circular sawing
machines with travelling table, and gives the corresponding
3 Preliminary remarks
permissible deviations which apply to machines of general pur-
pose use and normal accuracy.
3.1 In this International Standard all dimensions and permiss-
ible deviations are expressed in millimetres.
NOTE - In addition to terms used in the three official ISO languages
(English, French and Russian), this International Standard gives the
3.2 To apply this International Standard, reference should be
equivalent terms in the German, Italian and Swedish languages; these
are published under the responsibility of the member bodies for Ger-
made to ISO 230-1, especially for installation of the machine
many, F.R. (DIN), Italy (UNI) and Sweden (SIS). However, only the
before testing, the warming up of the main spindle and other
terms given in the official languages tan be considered as ISO terms.
moving Parts, and the description of the measuring methods.
The measuring instruments shall not permit measurement
This International Standard deals only with the verification of
errors over 1/3 of the checked tolerantes.
the accuracy of the machine. lt does not apply to the testing of
the running of the machine (vibrations, abnormal noises, stick-
3.3 The sequence in which the geometrical tests are given is
Slip motion of the components, etc.), nor to its characteristics
related to the sub-assemblies of the machine, and this in no
(Speeds, feeds, etc.) which should generally be checked before
way defines the practical Order of testing. In Order to make
the accuracy is tested.
mounting of instruments and gauging easier, tests may be
applied in any Order.
This International Standard applies to those machines
designated by the number 12.131.372 in ISO 79841).
3.4 When inspecting a machine, it is not always possible or
This International Standard does not impose any practical test. necessary to carry out all the tests given in this International
For Single blade circular sawing machines with travelling table,
Standard.
practical tests should be exceptions and shall be stated in a
previous agreement between the Producer and the User.
3.5 lt is up to the user to choose, in agreement with the
manufacturer, those tests relating to the properties which are
of interest to him, but these tests shall be clearly stated when
2 Normative reference
ordering a machine.
The following Standard contains provisions which, through
3.6 A movement is longitudinal when it takes place in the
reference in this text, constitute provisions of this International
working direction of the piece.
Standard. At the time of publication, the edition indicated was
valid. All Standards are subject to revision, and Parties to
agreements based on this International Standard are encour- 3.7 When establishing the tolerante for a measuring range
aged to investigate the possibility of applying the most recent different from that given in this International Standard (see
edition of the Standard listed below. Members of IEC and ISO subclause 2.311 in ISO 230-11, it should be taken into con-
maintain registers of currently valid International Standards.
sideration that the minimum value of the tolerante is 0,Ol mm.
1) ISO 7984 : 1988, Woodworking machines - Technical classification of woodworking machines and auxiliary machines for woodworking.
ISO 7983 : 1988 (El
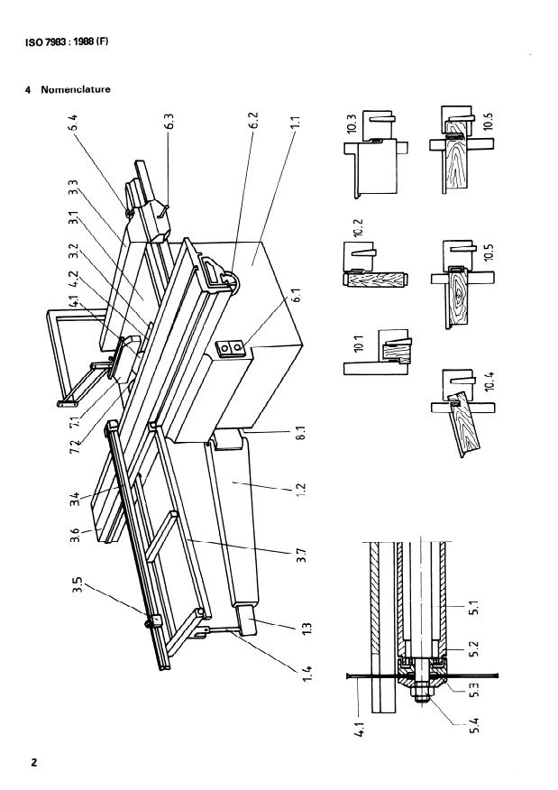
4 Nomenclature
ISO 7983 : 1988 (EI
English French Russian
Refer-
Machine a stier circulaire,
CTaHOK KpyUlOflblnbHblii
Single blade circular sawing
ence
monolame, a table mobile
C llOABWKH blM CTOnOM
machine with travelling table
pour coupe au format
Ossature KapKac
1 Framework
Bati CTaHMHa
Main frame
1.1
Bras telescopique Teneckonr4~eckafl crpena
1.2 Swinging arm
Allonge du bras telescopique Yflnr/rtiet+de K TenecKonwecKoti cTpene
1.3 Extension to swinging arm
Porte-bras Onopa
1.4 Support
Deplacement des pieces et/ou lloflaqa ReraneH HI44nH HHcrpynmeHTa
2 Feed of workpiece and/or tools
outils
Support, maintien et guidage
3 Onopa, xpennet4ue H HanpasneHHe
Workpiece support, clamp and
des pieces
guide fleraneti
Ta ble CT0l-l
3.1 Ta ble
Plaque amovible CbeMHaFi nnacrMtia
3.2 Ta ble insert
Guide longitudinal IlpoAonbtiafr tianpasnflto~afl
3.3 Parallel fence
Guide de table mobile HanpaBnfito~arr nOABWKHOr0 CTOna
3.4 Travelling table fence
3.5 Adjusta ble fence Butee reglable Perynr4pyeMbrM ynop
Table mobile nOJJBWKHblh CTOJl
3.6 Travelling table
Chariot transversal IlonepecrHbiti CTO~
3.7 Transverse ta ble
Porte-outils et outils AepIKaBKbl blHCTpyMeHTa H HHCTpyMeHT
4 Tool-holders and tools
4.1 Sawblade Lame llwta
I nciseur (Option) 3aWlCTMTeflb (He 06Fi3aTenbHO)
4.2 Scoring sawblade (optional)
Unite de travail et son entrainement Pa6oraa ronoi3xa H ee npb4BoAbl
5 Workhead and tool drives
5.1 Circular saw spindle Arbre UJnMHAenb
Support de I’arbre OnpaBKa ILinuHAenfl
5.2 Saw spindle mounting
5.3 Flange Flasque de blocage de Ia lame OnopHafl waM6a
Clamping nut icrou 3amMMHafl railrta
5.4
6 Controls Commandes YnpaBneHHe
Commutateur IlepeKnwaTenb
6.1 Switch
6.2 Commande de
...
ISO
NORME INTERNATIONALE
Première édition
1988-11-15
INTERNATIONAL ORGANIZATION FOR STANDARDIZATION
ORGANISATION INTERNATIONALE DE NORMALISATION
MEXAYHAPOflHAfl OPrAHM3A~MR Il0 CTAH~APTM3A~MM
Machines à bois - Machines à scier circulaires,
monolame, à table mobile pour coupe au format -
Nomenclature et conditions de réception
Woodworking machines - Single Made circular sawing machines with travelling table -
Nomencla turc and accep tance conditions
Numéro de référence
ISO 7983 : 1988 (F)
Iso 7983 : 1988 (FI
Avant-propos
L’ISO (Organisation internationale de normalisation) est une fédération mondiale
d’organismes nationaux de normalisation (comités membres de I’ISO). L’élaboration
des Normes internationales est en général confiée aux comités techniques de I’ISO.
Chaque comité membre interes& par une 6tude a le droit de faire partie du comité
technique créé a cet effet. Les organisations internationales, gouvernementales et non
gouvernementales, en liaison avec I’ISO participent également aux travaux. L’ISO col-
labore étroitement avec la Commission électrotechnique internationale (CEI) en ce qui
concerne la normalisation électrotechnique.
Les projets de Normes internationales adoptes par les comités techniques sont soumis
aux corni& membres pour approbation, avant leur acceptation comme Normes inter-
nationales par le Conseil de I’ISO. Les Normes internationales sont approuvées confor-
mément aux procédures de I’ISO qui requièrent l’approbation de 75 % au moins des
comités membres votants.
La Norme internationale ISO 7983 a été élaborée par le comité technique ISO/TC 39,
Machines-outils.
L’annexe présente Norme internationale uniquement à titre d’infor-
A de la est donnée
mation.
0 Organisation internationale de normalisation, 1988
Imprimé en Suisse
NORME INTERNATIONALE ISO 7983 : 1988 (FI
scier circulaires,
Machines à bois - Machines à
coupe au format -
monolame, à table mobile pour
réception
Nomenclature et conditions de
ISO 230-l : 1986, Code de réception des machines-outils -
1 Domaine d’application
Partie 7 : Précision géométrique des machines fonctionnant à
La présente Norme internationale indique la nomenclature
vide ou dans des conditions de finition.
propre à chaque partie de la machine et, par référence à
I’ISO 230-1, les vérifications géométriques des machines à scier
circulaires, monolame, à table mobile pour coupe au format,
3 Observations préliminaires
ainsi que les karts tolérés correspondant à des machines
d’usage général et de précision normale.
3.1 Dans la présente Norme internationale, toutes les dimen-
En complément des termes utilisés dans les trois langues offi-
NOTE -
sions et tous les écarts tolérés sont exprimés en millimètres.
cielles de I’ISO (anglais, français et russe), cette Norme internationale
donne les termes équivalents dans les langues allemande, italienne et
suédoise; ces termes sont publiés sous la responsabilité des Comités
3.2 Pour l’application de la présénte Norme internationale, on
membres de l’Allemagne, R.F. (DIN), de l’Italie (UNI) et de la Suède
doit se reporter à I’ISO 230-1, notamment en ce qui concerne
(SIS). Toutefois, seuls les termes et définitions donnés dans les lan-
l’installation de la machine avant essais, la mise en température
gues officielles peuvent être considérés comme étant des termes et
de la broche principale et des autres organes mobiles, ainsi que
définitions de 1’1 SO.
la description des méthodes de mesurage. Les appareils de
mesurage ne doivent pas donner lieu à des erreurs de mesurage
La présente Norme internationale traite seulement du contrôle
dépassant 1/3 de la tolérance à vérifier.
de la précision de la machine. Elle ne concerne ni l’examen du
fonctionnement de la machine (vibrations, bruits anormaux,
points durs dans les déplacements d’organes, etc.), ni celui de
3.3 L’ordre dans lequel les opérations de contrôle géométri-
ses caractéristiques (vitesses, avances, etc. 1, examens qui doi-
que sont énumérées correspond aux ensembles constitutifs de
vent, en général, précéder celui de la précision.
la machine et ne définit nullement l’ordre réel des opérations de
mesurage. Pour des raisons de facilité des opérations de con-
La présente Norme internationale s’applique aux machines
trôle et de montage des appareils de mesurage, on peut procé-
désignées sous le numéro 12.131.372 de I’ISO 79841).
der aux vérifications dans un ordre entierement différent.
La présente Norme internationale ne prévoit aucune épreuve
pratique. Pour les machines à scier circulaires, monolqme, à 3.4
II n’est pas toujours possible, ni nécessaire, lors de I’exa-
table mobile pour coupe au format, les épreuves pratiques sont
men d’une machine, d’effectuer la totalité des essais figurant
des épreuves exceptionnelles et doivent résulter d’un accord
dans la présente Norme internationale.
préalable entre constructeur et utilisateur.
3.5 II appartient à l’utilisateur de choisir, en accord avec le
constructeur, les seules épreuves correspondant aux organes
2 Référence normative
existant sur la machine ou aux propriétés qui l’intéressent et qui
La norme suivante contient des dispositions qui, par suite de la doivent être clairement précisées dans la commande.
référence qui en est faite, constituent des dispositions valables
pour la présente Norme internationale. Au moment de la publi-
3.6 Un mouvement est longitudinal lorsqu’il a lieu dans le
cation de cette norme, l’édition indiquée était en vigueur. Toute
sens d’avance de la pièce.
norme est sujette à révision et les parties prenantes des accords
fondés sur cette Norme internationale sont invitées à recher-
cher la possibilité d’appliquer l’édition la plus récente de la 3.7 Lorsque l’écart est déterminé pour une étendue de mesu-
norme indiquée ci-après. Les membres de la CEI et de I’ISO rage différente de celle indiquée dans la présente Norme inter-
possèdent le registre des Normes internationales en vigueur à nationale (voir 2.311 de I’ISO 230-l 1, il y a lieu de tenir compte
un moment donné. de ce que la valeur minimale de l’écart à retenir est 0,Ol mm.
Classification technique des machines à travailler le bois et des machines auxiliaires à travailler le bois.
1) ISO 7984 : 1988, Machines à bois -
, 1
SO 7983 : 1988 (FI
4 Nomenclature
m
ISO 7983 : 1988 (FI
Français Anglais Russe
Machine à scier circulaire,
3epère
Single blade circular sawing ClaHOK KpyrllOllWlbHblii
monolame, a table mobile
machine with travelling table
C llO~BHIKHbllW CTOCIOM
pour coupe au format
Framework Kapxac
1 Ossature
1.1 Bâti Main frame CTaHMHa
Swinging arm TeneckonMqeckafl crpena
1.2 Bras télescopique
1.3 Allonge du bras télescopique Extension to swinging arm YAnwiewe K TenecKonwecKoti cTpene
support Onopa
1.4 Porte-bras
2 Déplacement des pièces et/ou Feed of workpiece and/or tools lloAaqa AeraneH H/HnH HHcrpynmeHra
outils
3 Support, maintien et guidage Workpiece support, clamp and Onopa, KpenneHHe H HanpasneHHe
des pièces guide Aeraneti
Table CTOJI
3.1 Table
Plaque amovible Table insert CbeMHafI rlJlaCTMHa
3.2
Guide longitudinal Parallel fente IlpogonbHan Hanpasnfwoiqafl
3.3
Guide de table mobile Travelling table fente HanpaBnfwu(a~ flO~BlGKHOr0 CTOna
3.4
Adjustable fente PerynMpyeMblM ynop
3.5 Butée réglable
Table mobile Travelling table flO~Bl0KHblti CTOn
3.6
Transverse table rlonepeLiHblM CTOïI
3.7 Chariot transversal
4 Porte-outils et outils Tool-holders and tools AepIKaBKH b4HCTpyMeHla H blHCTpyMeHT
IlMna
4.1 Lame Sawblade
4.2 Inciseur (option) Scoring sawblade (optional) 3aWlCTlATenb (He 06R3aTenbHO)
5 Unité de travail et son entraînement Workhead and tool drives PaGoqaH ronoBKa H ee npneogbl
Circular saw spindle UhlH~enb
5.1 Arbre
5.2 Support de l’arbre Saw spindle mounting OnpaBKa tuni4HAenfl
Flasque de blocage de la lame Flange OnopHaq waM6a
5.3
Clamping nut
5.4 Écrou 3amMMtiafl rafiKa
Controls YnpaBneHb4e
6 Commandes
Commutateur Switch IlepeKntoclaTenb
6.1
6.2 Commande de réglage de la lame Adjustment for cutting height PerynMpoBKa wnbl no BepTMKant4
en hauteur
Clamping lock for parallel fente
6.3 Blocage du guide longitudinal 6JlOKVlpOBKa rOpVl30HTanbHOti
HanpaBnfuo~eM
6.4 Commande de réglage fin du guide Fine adjustment for parallel fente TOHKaFI perynMpOBKa rOpM30HTanbHOlïl
longitudinal HanpaBnwoiqeM
7 Dispositifs de sécurité (exempl
...
ISO
NORME INTERNATIONALE
Première édition
1988-11-15
INTERNATIONAL ORGANIZATION FOR STANDARDIZATION
ORGANISATION INTERNATIONALE DE NORMALISATION
MEXAYHAPOflHAfl OPrAHM3A~MR Il0 CTAH~APTM3A~MM
Machines à bois - Machines à scier circulaires,
monolame, à table mobile pour coupe au format -
Nomenclature et conditions de réception
Woodworking machines - Single Made circular sawing machines with travelling table -
Nomencla turc and accep tance conditions
Numéro de référence
ISO 7983 : 1988 (F)
Iso 7983 : 1988 (FI
Avant-propos
L’ISO (Organisation internationale de normalisation) est une fédération mondiale
d’organismes nationaux de normalisation (comités membres de I’ISO). L’élaboration
des Normes internationales est en général confiée aux comités techniques de I’ISO.
Chaque comité membre interes& par une 6tude a le droit de faire partie du comité
technique créé a cet effet. Les organisations internationales, gouvernementales et non
gouvernementales, en liaison avec I’ISO participent également aux travaux. L’ISO col-
labore étroitement avec la Commission électrotechnique internationale (CEI) en ce qui
concerne la normalisation électrotechnique.
Les projets de Normes internationales adoptes par les comités techniques sont soumis
aux corni& membres pour approbation, avant leur acceptation comme Normes inter-
nationales par le Conseil de I’ISO. Les Normes internationales sont approuvées confor-
mément aux procédures de I’ISO qui requièrent l’approbation de 75 % au moins des
comités membres votants.
La Norme internationale ISO 7983 a été élaborée par le comité technique ISO/TC 39,
Machines-outils.
L’annexe présente Norme internationale uniquement à titre d’infor-
A de la est donnée
mation.
0 Organisation internationale de normalisation, 1988
Imprimé en Suisse
NORME INTERNATIONALE ISO 7983 : 1988 (FI
scier circulaires,
Machines à bois - Machines à
coupe au format -
monolame, à table mobile pour
réception
Nomenclature et conditions de
ISO 230-l : 1986, Code de réception des machines-outils -
1 Domaine d’application
Partie 7 : Précision géométrique des machines fonctionnant à
La présente Norme internationale indique la nomenclature
vide ou dans des conditions de finition.
propre à chaque partie de la machine et, par référence à
I’ISO 230-1, les vérifications géométriques des machines à scier
circulaires, monolame, à table mobile pour coupe au format,
3 Observations préliminaires
ainsi que les karts tolérés correspondant à des machines
d’usage général et de précision normale.
3.1 Dans la présente Norme internationale, toutes les dimen-
En complément des termes utilisés dans les trois langues offi-
NOTE -
sions et tous les écarts tolérés sont exprimés en millimètres.
cielles de I’ISO (anglais, français et russe), cette Norme internationale
donne les termes équivalents dans les langues allemande, italienne et
suédoise; ces termes sont publiés sous la responsabilité des Comités
3.2 Pour l’application de la présénte Norme internationale, on
membres de l’Allemagne, R.F. (DIN), de l’Italie (UNI) et de la Suède
doit se reporter à I’ISO 230-1, notamment en ce qui concerne
(SIS). Toutefois, seuls les termes et définitions donnés dans les lan-
l’installation de la machine avant essais, la mise en température
gues officielles peuvent être considérés comme étant des termes et
de la broche principale et des autres organes mobiles, ainsi que
définitions de 1’1 SO.
la description des méthodes de mesurage. Les appareils de
mesurage ne doivent pas donner lieu à des erreurs de mesurage
La présente Norme internationale traite seulement du contrôle
dépassant 1/3 de la tolérance à vérifier.
de la précision de la machine. Elle ne concerne ni l’examen du
fonctionnement de la machine (vibrations, bruits anormaux,
points durs dans les déplacements d’organes, etc.), ni celui de
3.3 L’ordre dans lequel les opérations de contrôle géométri-
ses caractéristiques (vitesses, avances, etc. 1, examens qui doi-
que sont énumérées correspond aux ensembles constitutifs de
vent, en général, précéder celui de la précision.
la machine et ne définit nullement l’ordre réel des opérations de
mesurage. Pour des raisons de facilité des opérations de con-
La présente Norme internationale s’applique aux machines
trôle et de montage des appareils de mesurage, on peut procé-
désignées sous le numéro 12.131.372 de I’ISO 79841).
der aux vérifications dans un ordre entierement différent.
La présente Norme internationale ne prévoit aucune épreuve
pratique. Pour les machines à scier circulaires, monolqme, à 3.4
II n’est pas toujours possible, ni nécessaire, lors de I’exa-
table mobile pour coupe au format, les épreuves pratiques sont
men d’une machine, d’effectuer la totalité des essais figurant
des épreuves exceptionnelles et doivent résulter d’un accord
dans la présente Norme internationale.
préalable entre constructeur et utilisateur.
3.5 II appartient à l’utilisateur de choisir, en accord avec le
constructeur, les seules épreuves correspondant aux organes
2 Référence normative
existant sur la machine ou aux propriétés qui l’intéressent et qui
La norme suivante contient des dispositions qui, par suite de la doivent être clairement précisées dans la commande.
référence qui en est faite, constituent des dispositions valables
pour la présente Norme internationale. Au moment de la publi-
3.6 Un mouvement est longitudinal lorsqu’il a lieu dans le
cation de cette norme, l’édition indiquée était en vigueur. Toute
sens d’avance de la pièce.
norme est sujette à révision et les parties prenantes des accords
fondés sur cette Norme internationale sont invitées à recher-
cher la possibilité d’appliquer l’édition la plus récente de la 3.7 Lorsque l’écart est déterminé pour une étendue de mesu-
norme indiquée ci-après. Les membres de la CEI et de I’ISO rage différente de celle indiquée dans la présente Norme inter-
possèdent le registre des Normes internationales en vigueur à nationale (voir 2.311 de I’ISO 230-l 1, il y a lieu de tenir compte
un moment donné. de ce que la valeur minimale de l’écart à retenir est 0,Ol mm.
Classification technique des machines à travailler le bois et des machines auxiliaires à travailler le bois.
1) ISO 7984 : 1988, Machines à bois -
, 1
SO 7983 : 1988 (FI
4 Nomenclature
m
ISO 7983 : 1988 (FI
Français Anglais Russe
Machine à scier circulaire,
3epère
Single blade circular sawing ClaHOK KpyrllOllWlbHblii
monolame, a table mobile
machine with travelling table
C llO~BHIKHbllW CTOCIOM
pour coupe au format
Framework Kapxac
1 Ossature
1.1 Bâti Main frame CTaHMHa
Swinging arm TeneckonMqeckafl crpena
1.2 Bras télescopique
1.3 Allonge du bras télescopique Extension to swinging arm YAnwiewe K TenecKonwecKoti cTpene
support Onopa
1.4 Porte-bras
2 Déplacement des pièces et/ou Feed of workpiece and/or tools lloAaqa AeraneH H/HnH HHcrpynmeHra
outils
3 Support, maintien et guidage Workpiece support, clamp and Onopa, KpenneHHe H HanpasneHHe
des pièces guide Aeraneti
Table CTOJI
3.1 Table
Plaque amovible Table insert CbeMHafI rlJlaCTMHa
3.2
Guide longitudinal Parallel fente IlpogonbHan Hanpasnfwoiqafl
3.3
Guide de table mobile Travelling table fente HanpaBnfwu(a~ flO~BlGKHOr0 CTOna
3.4
Adjustable fente PerynMpyeMblM ynop
3.5 Butée réglable
Table mobile Travelling table flO~Bl0KHblti CTOn
3.6
Transverse table rlonepeLiHblM CTOïI
3.7 Chariot transversal
4 Porte-outils et outils Tool-holders and tools AepIKaBKH b4HCTpyMeHla H blHCTpyMeHT
IlMna
4.1 Lame Sawblade
4.2 Inciseur (option) Scoring sawblade (optional) 3aWlCTlATenb (He 06R3aTenbHO)
5 Unité de travail et son entraînement Workhead and tool drives PaGoqaH ronoBKa H ee npneogbl
Circular saw spindle UhlH~enb
5.1 Arbre
5.2 Support de l’arbre Saw spindle mounting OnpaBKa tuni4HAenfl
Flasque de blocage de la lame Flange OnopHaq waM6a
5.3
Clamping nut
5.4 Écrou 3amMMtiafl rafiKa
Controls YnpaBneHb4e
6 Commandes
Commutateur Switch IlepeKntoclaTenb
6.1
6.2 Commande de réglage de la lame Adjustment for cutting height PerynMpoBKa wnbl no BepTMKant4
en hauteur
Clamping lock for parallel fente
6.3 Blocage du guide longitudinal 6JlOKVlpOBKa rOpVl30HTanbHOti
HanpaBnfuo~eM
6.4 Commande de réglage fin du guide Fine adjustment for parallel fente TOHKaFI perynMpOBKa rOpM30HTanbHOlïl
longitudinal HanpaBnwoiqeM
7 Dispositifs de sécurité (exempl
...












Questions, Comments and Discussion
Ask us and Technical Secretary will try to provide an answer. You can facilitate discussion about the standard in here.
Loading comments...