ASTM F1840-10(2023)
(Terminology)Standard Terminology for Surgical Suture Needles
Standard Terminology for Surgical Suture Needles
ABSTRACT
This terminology covers the general definitions of terms specific to stainless steel surgical suture needles.
SCOPE
1.1 This terminology covers general definitions for surgical needles.
1.2 This international standard was developed in accordance with internationally recognized principles on standardization established in the Decision on Principles for the Development of International Standards, Guides and Recommendations issued by the World Trade Organization Technical Barriers to Trade (TBT) Committee.
General Information
Standards Content (Sample)
This international standard was developed in accordance with internationally recognized principles on standardization established in the Decision on Principles for the
Development of International Standards, Guides and Recommendations issued by the World Trade Organization Technical Barriers to Trade (TBT) Committee.
Designation: F1840 − 10 (Reapproved 2023)
Standard Terminology for
Surgical Suture Needles
This standard is issued under the fixed designation F1840; the number immediately following the designation indicates the year of
original adoption or, in the case of revision, the year of last revision. A number in parentheses indicates the year of last reapproval. A
superscript epsilon (´) indicates an editorial change since the last revision or reapproval.
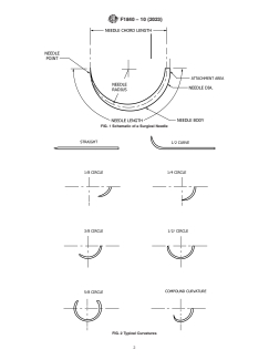
1. Scope needle radius, n—the radius of the uniformly curved portion
or portions of the needle measured from the centerline of the
1.1 This terminology covers general definitions for surgical
needle body.
needles.
needle wire diameter, n—the gage or thickness of the needle
1.2 This international standard was developed in accor-
wire, measured at a location between the needle body and
dance with internationally recognized principles on standard-
the attachment area, where either no or minimal work has
ization established in the Decision on Principles for the
taken place.
Development of International Standards, Guides and Recom-
mendations issued by the World Trade Organization Technical
point, n—portion of the needle intended to initiate tissue
Barriers to Trade (TBT) Committee.
penetration.
2. Terminology
point configuration, n—the shape of the point. Some common
point configurations include, but are not limited to (see Fig.
2.1 Definitions of Terms Specific to the Instrument (see Fig.
3): taper, trocar, blunt, spatulated, conventional cutting edge,
1):
reverse cutting edge, cutting taper, and side cutting needle.
attachment area, n—portion of the needle where the attach-
ment of the suture takes place. For example, eyed, drilled,
swage, n—the term used to describe any attachment method
and channel.
that uses mechanical force to crimp the end of the needle and
firmly hold the suture in place.
body, n—central portion of the needle intended to be grasped
by the needle holder.
2.2 Definitions of Terms Specific to Mechanical Properties
of a Surgical Needle:
chord length, n—the straight line distance between the two
finish, n—final surface visual appearance classified as follows:
ends of a curved needle.
bright or mirror finish, n—highly reflective surface.
curvature, n—the shape of the needle viewed in profile. Some
satin, matte, or black finish, n—reduced reflective surface (as
common shapes include, but are not limited to: straight, ⁄2
compared to bright or mirror finish) varying from a dull
1 1 3 1 5
curve or “ski,” ⁄8 circle, ⁄4 circle, ⁄8 circle, ⁄2 circle, ⁄8
appearance to a blackened surface.
circle, and compound curvature (see Fig. 2).
maximum bend moment—the greatest moment applied to a
cutting edge, n—cutting edges are made of various geometric
needle during a bend test.
shapes, that is, triangular, diamond, and hexagonal. The
various edges may be sharpened by the manufacturer de-
needle ducility—a measure of the amount of plastic bending a
pending on the user performan
...







Questions, Comments and Discussion
Ask us and Technical Secretary will try to provide an answer. You can facilitate discussion about the standard in here.