ISO 7438:1985
(Main)Metallic materials — Bend test
Metallic materials — Bend test
Specifies the method for determining the ability of metallic materials to undergo plastic deformation in bending. Applies to the bend test of test pieces taken from metallic products as specified in the relevant product standards. It is not applicable to certain materials and/or products, for example tubes in full section or welded joints, for which other standards exist.
Matériaux métalliques — Essai de pliage
La présente Norme internationale spécifie la méthode de détermination de l'aptitude à la déformation plastique par pliage des matériaux métalfiques.La présente Norme internationale est applicable à l'essai de pliage d'éprouvettes prélevées dans des produits métalliques suivant les spécifications des normes correspondantes. Elle n'est pas applicable à certains matériaux et/ou produits, du type tubes sans soudure ou soudés, qui font l'objet de normes particulières.
Kovinski materiali - Upogibni preskus
General Information
- Status
- Withdrawn
- Publication Date
- 03-Jul-1985
- Withdrawal Date
- 03-Jul-1985
- Technical Committee
- ISO/TC 164/SC 2 - Ductility testing
- Drafting Committee
- ISO/TC 164/SC 2 - Ductility testing
- Current Stage
- 9599 - Withdrawal of International Standard
- Start Date
- 20-Jun-2005
- Completion Date
- 12-Feb-2026
Relations
- Effective Date
- 09-Feb-2026
- Effective Date
- 09-Feb-2026
- Effective Date
- 09-Feb-2026
- Effective Date
- 09-Feb-2026
- Effective Date
- 09-Feb-2026
- Effective Date
- 09-Feb-2026
- Referred By
EN 1652:1997 - Copper and copper alloys - Plate, sheet, strip and circles for general purposes - Effective Date
- 09-Feb-2026
- Effective Date
- 15-Apr-2008
- Effective Date
- 15-Apr-2008
- Effective Date
- 15-Apr-2008
- Effective Date
- 15-Apr-2008
- Effective Date
- 15-Apr-2008
Get Certified
Connect with accredited certification bodies for this standard

Element Materials Technology
Materials testing and product certification.
Inštitut za kovinske materiale in tehnologije
Institute of Metals and Technology. Materials testing, metallurgical analysis, NDT.
Sponsored listings
Frequently Asked Questions
ISO 7438:1985 is a standard published by the International Organization for Standardization (ISO). Its full title is "Metallic materials — Bend test". This standard covers: Specifies the method for determining the ability of metallic materials to undergo plastic deformation in bending. Applies to the bend test of test pieces taken from metallic products as specified in the relevant product standards. It is not applicable to certain materials and/or products, for example tubes in full section or welded joints, for which other standards exist.
Specifies the method for determining the ability of metallic materials to undergo plastic deformation in bending. Applies to the bend test of test pieces taken from metallic products as specified in the relevant product standards. It is not applicable to certain materials and/or products, for example tubes in full section or welded joints, for which other standards exist.
ISO 7438:1985 is classified under the following ICS (International Classification for Standards) categories: 77.040.10 - Mechanical testing of metals. The ICS classification helps identify the subject area and facilitates finding related standards.
ISO 7438:1985 has the following relationships with other standards: It is inter standard links to EN 1653:1997, EN 12797:2000, EN 1758:1997, EN ISO 5832-2:2012, EN 1654:1997, EN ISO 5832-3:2012, EN 1652:1997, ISO/R 398:1964, ISO/R 87:1959, ISO/R 85:1959, ISO 7438:2005, ISO/R 954:1969. Understanding these relationships helps ensure you are using the most current and applicable version of the standard.
ISO 7438:1985 is available in PDF format for immediate download after purchase. The document can be added to your cart and obtained through the secure checkout process. Digital delivery ensures instant access to the complete standard document.
Standards Content (Sample)
SLOVENSKI STANDARD
01-januar-1996
Kovinski materiali - Upogibni preskus
Metallic materials -- Bend test
Matériaux métalliques -- Essai de pliage
Ta slovenski standard je istoveten z: ISO 7438:1985
ICS:
77.040.10 Mehansko preskušanje kovin Mechanical testing of metals
2003-01.Slovenski inštitut za standardizacijo. Razmnoževanje celote ali delov tega standarda ni dovoljeno.
International Standard
INTERNATIONAL ORGANIZATION FOR STANDARDIZATlON.ME>KCIYHAPOAHAfl OPl-AHM3ALWlR ll0 CTAH~APTM3ALWl~RGANlSATlON INTERNATIONALE DE NORMALISATION
Metallic materials - Bend test
Matki’aux m&alliques - Essai de pliage
First edition - 1985-07-01
UDC 669: 620.177
Ref. No. IS0 74384985 (E)
Descriptors : metals, tests, bend tests, test equipment, test specimens.
Price based on 5 pages
Foreword
IS0 (the International Organization for Standardization) is a worldwide federation of
national standards bodies (IS0 member bodies). The work of preparing International
Standards is normally carried out through IS0 technical committees. Each member
body interested in a subject for which a technical committee has been established has
the right to be represented on that committee. International organizations, govern-
mental and non-governmental, in liaison with ISO, also take part in the work.
Draft International Standards adopted by the technical committees are circulated to
the member bodies for approval before their acceptance as International Standards by
the IS0 Council. They are approved in accordance with IS0 procedures requiring at
least 75 % approval by the member bodies voting.
International Standard IS0 7438 was prepared by Technical Committee ISO/TC 164,
Mechanical testing of metals.
It cancels and replaces IS0 Recommendations ISO/R 85-1959, ISO/R 874959,
ISO/R 398-1964 and ISO/R 9544969, of which it constitutes a technical revision.
0 International Organization for Standardization, 1985
Printed in Switzerland
INTERNATIONAL STANDARD
IS0 74384985 (E)
Metallic materials - Bend test
,
Table 1
1 Scope and field of application
This International Standard specifies the method for determin- Designation Unit
Symbol
ing the ability of metallic materials to undergo plastic deforma-
m
Thickness or diameter of test piece
a
tion in bending.
(or diameter of the inscribed circle for
mm
pieces of polygonal cross-section)
This International Standard applies to the bend test of test
pieces taken from metallic products as specified in the relevant mm
Width of test piece
product standard. It is not applicable to certain materials
mm
Length of test piece
and/or products, for example tubes in full section or welded
joints, for which other standards exist.
Distance between supports mm
Diameter of mandrel mm
Angie of bend degree
2 Principle
Internal radius of bend portion of test
The bend test consists in submitting a test piece of round,
mm
piece after bending
square, rectangular, or polygonal cross-section to plastic defor-
mation by bending, without changing the direction of loading,
until a specified angle of bend is reached.
The axes of the two legs of the test piece remain in a plane
4 Test equipment
perpendicular to the axis of bending. In the case of a 180°
bend, the two lateral surfaces may, depending on the require-
The bend test shall be carried out in testing machines or
ments of the material standard, lie flat against each other or
presses equipped with the following devices:
may be parallel at a specified distance, an insert being used to
control this distance.
a) bending device with two supports and a mandrel as
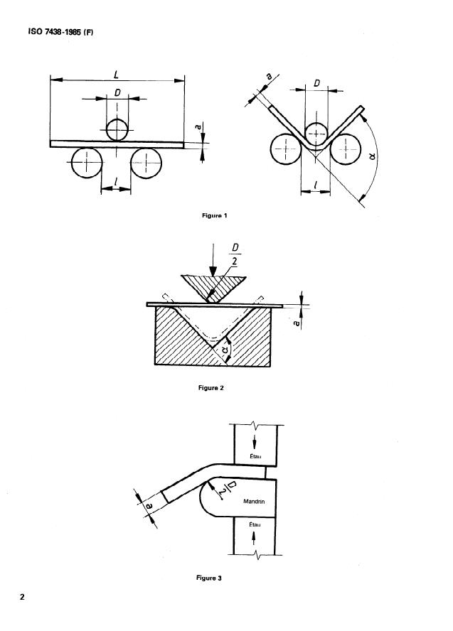
shown in figure 1;
b) bending device with a V-block and a mandrel as shown
3 Symbols and designations
in figure 2;
Symbols and designations used in the bend test are shown in
c) bending device with a clamp as shown in figure 3.
figures 1 and 2, and specified in table 1.
IS0 74384985 (E)
Figure 1
Figure 2
i
Vice
Figure 3
IS0 7438-1985 (El
. Bending device with supports and a mandrel
41 5.3 Unless otherwise specified in the relevant standard, the
width of the test piece shall be as follows:
4.1.1 The length of the supports and the width of the mandrel
a) the same as the product width, if the latter is equal to or
shall be greater than the width or diameter of the test piece.
less than 20 mm;
The diameter of the mandrel is determined by the material stan-
b) when the width of a product is more than 20 mm:
dard. The test piece supports and the mandrel shall be of suf-
ficient hardness (see figure 1).
20 + 5 mm for products of thickness less than 3 mm,
between 20 and 50 mm for products of thickness equal
4.1.2 Unless otherwise specified, the distance between the
to or greater than 3 mm.
supports, I, shall be:
I = (D + 3~) ,+ a/2 5.4 Thickness of the test piece
and shall not change during the bend test.
5.4.1 The thickness of the test pieces from sheets, strips and
sections shall be equal to the thickness of the product to be
tested. If the thickness of the product is greater than 25 mm, it
4.2 Bending device with a V-block
may be reduced by machining one surface to give a thickness
not less than
...
International Standard
INTERNATIONAL ORGANIZATION FOR STANDARDIZATlON.ME>KCIYHAPOAHAfl OPl-AHM3ALWlR ll0 CTAH~APTM3ALWl~RGANlSATlON INTERNATIONALE DE NORMALISATION
Metallic materials - Bend test
Matki’aux m&alliques - Essai de pliage
First edition - 1985-07-01
UDC 669: 620.177
Ref. No. IS0 74384985 (E)
Descriptors : metals, tests, bend tests, test equipment, test specimens.
Price based on 5 pages
Foreword
IS0 (the International Organization for Standardization) is a worldwide federation of
national standards bodies (IS0 member bodies). The work of preparing International
Standards is normally carried out through IS0 technical committees. Each member
body interested in a subject for which a technical committee has been established has
the right to be represented on that committee. International organizations, govern-
mental and non-governmental, in liaison with ISO, also take part in the work.
Draft International Standards adopted by the technical committees are circulated to
the member bodies for approval before their acceptance as International Standards by
the IS0 Council. They are approved in accordance with IS0 procedures requiring at
least 75 % approval by the member bodies voting.
International Standard IS0 7438 was prepared by Technical Committee ISO/TC 164,
Mechanical testing of metals.
It cancels and replaces IS0 Recommendations ISO/R 85-1959, ISO/R 874959,
ISO/R 398-1964 and ISO/R 9544969, of which it constitutes a technical revision.
0 International Organization for Standardization, 1985
Printed in Switzerland
INTERNATIONAL STANDARD
IS0 74384985 (E)
Metallic materials - Bend test
,
Table 1
1 Scope and field of application
This International Standard specifies the method for determin- Designation Unit
Symbol
ing the ability of metallic materials to undergo plastic deforma-
m
Thickness or diameter of test piece
a
tion in bending.
(or diameter of the inscribed circle for
mm
pieces of polygonal cross-section)
This International Standard applies to the bend test of test
pieces taken from metallic products as specified in the relevant mm
Width of test piece
product standard. It is not applicable to certain materials
mm
Length of test piece
and/or products, for example tubes in full section or welded
joints, for which other standards exist.
Distance between supports mm
Diameter of mandrel mm
Angie of bend degree
2 Principle
Internal radius of bend portion of test
The bend test consists in submitting a test piece of round,
mm
piece after bending
square, rectangular, or polygonal cross-section to plastic defor-
mation by bending, without changing the direction of loading,
until a specified angle of bend is reached.
The axes of the two legs of the test piece remain in a plane
4 Test equipment
perpendicular to the axis of bending. In the case of a 180°
bend, the two lateral surfaces may, depending on the require-
The bend test shall be carried out in testing machines or
ments of the material standard, lie flat against each other or
presses equipped with the following devices:
may be parallel at a specified distance, an insert being used to
control this distance.
a) bending device with two supports and a mandrel as
shown in figure 1;
b) bending device with a V-block and a mandrel as shown
3 Symbols and designations
in figure 2;
Symbols and designations used in the bend test are shown in
c) bending device with a clamp as shown in figure 3.
figures 1 and 2, and specified in table 1.
IS0 74384985 (E)
Figure 1
Figure 2
i
Vice
Figure 3
IS0 7438-1985 (El
. Bending device with supports and a mandrel
41 5.3 Unless otherwise specified in the relevant standard, the
width of the test piece shall be as follows:
4.1.1 The length of the supports and the width of the mandrel
a) the same as the product width, if the latter is equal to or
shall be greater than the width or diameter of the test piece.
less than 20 mm;
The diameter of the mandrel is determined by the material stan-
b) when the width of a product is more than 20 mm:
dard. The test piece supports and the mandrel shall be of suf-
ficient hardness (see figure 1).
20 + 5 mm for products of thickness less than 3 mm,
between 20 and 50 mm for products of thickness equal
4.1.2 Unless otherwise specified, the distance between the
to or greater than 3 mm.
supports, I, shall be:
I = (D + 3~) ,+ a/2 5.4 Thickness of the test piece
and shall not change during the bend test.
5.4.1 The thickness of the test pieces from sheets, strips and
sections shall be equal to the thickness of the product to be
tested. If the thickness of the product is greater than 25 mm, it
4.2 Bending device with a V-block
may be reduced by machining one surface to give a thickness
not less than 25 mm. During bending, the unmachined side
The tapered surfaces of the V-block shall form an angle of
shall be on the tension-side surface of the test piece.
180° - a (see figure 2). This angle is specified in the relevant
standard.
5.4.2 The round or polygonal cross-section test pieces shall
be submitted to the bend test while having a cross-sec
...
Norme internationale
INTERNATIONAL ORGANIZATION FOR STANDARDIZATION~MEIK~YHAPO~HAR OPrAHM3AlJ4R f-l0 CTAH~APTH3A~MM.ORGANISATION INTERNATIONALE DE NORMALISATION
Matériaux métalliques - Essai ,de pliage
Metallic materials - Bend test
Première édition - 1985-07-01
CDU 669: 620.177 Réf. no : ISO 7436-1985 (F)
’
Descripteurs : métal, essai, essai de flexion, matériel d’essai, spécimen d’essai.
Prix basé sur 5 pages
Avant-propos
L’ISO (Organisation internationale de normalisation) est une fédération mondiale
d’organismes nationaux de normalisation (comités membres de I’lSo). L’élaboration
des Normes internationales est confiée aux comités techniques de I’ISO. Chaque
comite membre intéressé par une étude a le droit de faire partie du comite technique
créé à cet effet. Les organisations internationales, gouvernementales et non gouverne-
mentales, en liaison avec I’ISO, participent également aux travaux.
Les projets de Normes internationales adoptés par les comités techniques sont soumis
aux comités membres pour approbation, avant leur acceptation comme Normes inter-
nationales par le Conseil de I’ISO. Les Normes internationales sont approuvées confor-
mément aux procédures de I’ISO qui requièrent l’approbation de 75 % au moins des
comités membres votants.
La Norme internationale ISO 7438 a Rtb Alaborée par le comite technique ISO/TC 164,
Essais mécaniques des métaux.
Elle annule et remplace les Recommandations ISO/R 854959, ISO/R 87-1959,
ISO/R 3984964 et ISO/R 9544969, dont elle constitue une révision technique.
Organisation internationale de normalisation, 1985 0
Imprimé en Suisse
NORME INTERNATIONALE
ISO 7438-1985 (F)
Matériaux métalliques - Essai de pliage
1 Objet et domaine d’application Tableau 1
La présente Norme internationale spécifie la méthode de déter-
Symbole Dhignation Unit6
mination de l’aptitude à la déformation plastique par pliage des
a Épaisseur ou diamétre de t’éprou-
matériaux métalliques.
vette (ou diamètre du cercle inscrit
pour tes éprouvettes de section poty-
La présente Norme internationale est applicable à l’essai de gonate) m’m
pliage d’éprouvettes prélevées dans des produits métalliques
6 Largeur de l’éprouvette mm
suivant les spécifications des normes correspondantes. Elle
n’est pas applicable à certains matériaux et/ou produits, du
L Longueur de l’éprouvette mm
type tubes sans soudure ou soudés, qui font l’objet de normes
particuliéres.
I Distance entre appuis mm
D Diamètre du mandrin mm
2 Principe
a Angle de pliage degrhs
Une éprouvette de section circulaire, carrée, rectangulaire ou
r Rayon intérieur du pli de l’éprouvette
polygonale est soumise à une déformation plastique par pliage
après pliage mm
J
sans inversion du sens de flexion pendant l’essai, le pliage étant
poussé jusqu’à un angle spécifié.
Les axes des deux branches de l’éprouvette restent dans un
4 Appareillage d’essai
plan perpendiculaire à l’axe de pliage. En cas de pliage a 180°,
les deux surfaces latérales peuvent, suivant les spécifications
L”essai de pliage doit être réalisé sur des machines ou presses
de la norme de produit, soit venir s’appliquer l’une contre
équipées des dispositifs suivants :
l’autre, soit demeurer parallèles à une distance déterminée (une
cale peut servir à régler l’écartement).
a) dispositif de pliage sur deux appuis avec mandrin con-
formément à la figure 1;
3 Symboles et désignations
b) dispositif de pliage sur empreint à profil en V avec man-
drin conformément a la figure 2;
Les symboles et désignations à utiliser pour l’essai de pliage
sont spécifiés dans le tableau 1 et représentés aux figures 1
et 2. c) dispositif de pliage sur étau conformément a la figure 3.
ISO 74384985 (FI
lJ
I
i .
Figure 1
Figure 2
Étau
Figure 3
Iso 74384985 FI
5.3 Sauf spécification contraire dans la
41 . Dispositif de pliage sur appuis avec mandrin norme correspon-
dante, la largeur de l’éprouvette doit être la suivante :
4.1.1 La longueur des appuis et la largeur du mandrin doivent
a) égale à la largeur du produit si cette dernière est égale
être supérieurs à la largeur ou au diamétre de l’éprouvette. Le ou inférieure a 20 mm;
diamétre du mandrin est défini dans la norme de produit. Les
b) pour les produits de largeur supérieure à 20 mm:
arêtes d’appui et le mandrin doivent avoir une dureté suffisante
(voir figure 1).
de 20 rf 5 mm pour les produits d’épaisseur inférieure
à3mm,
4.1.2 Sauf spécification contraire, la distance entre appuis, 1,
comprise entre 20 et 50 mm pour produits d’épaisseur
doit être égale à :
égale ou supérieure à3mm.
1 = (D + 3a) A- a/2
5.4 Épaisseur de l’éprouvette
et ne doit pas varier en cours d’essai.
5.4.1 L’épaisseur des éprouvettes de tôles, bandes, feuillards
4.2 Dispositif de pliage sur empreint en V
et profilés doit être égale à l’épaisseur du produit essayé. Si le
produit a une épaisseur supérieure à 25 mm, on peut ramener
Les faces obliques de l’empreint doivent former un angle de
celle-ci à au moins 25 mm par usinage d’une des faces. Au
180° - a (voir figure 2). Cet angle doit être conforme aux spé-
cours du pliage la face non usinée doit former la partie exté-
cifications des normes a
...
Norme internationale
INTERNATIONAL ORGANIZATION FOR STANDARDIZATION~MEIK~YHAPO~HAR OPrAHM3AlJ4R f-l0 CTAH~APTH3A~MM.ORGANISATION INTERNATIONALE DE NORMALISATION
Matériaux métalliques - Essai ,de pliage
Metallic materials - Bend test
Première édition - 1985-07-01
CDU 669: 620.177 Réf. no : ISO 7436-1985 (F)
’
Descripteurs : métal, essai, essai de flexion, matériel d’essai, spécimen d’essai.
Prix basé sur 5 pages
Avant-propos
L’ISO (Organisation internationale de normalisation) est une fédération mondiale
d’organismes nationaux de normalisation (comités membres de I’lSo). L’élaboration
des Normes internationales est confiée aux comités techniques de I’ISO. Chaque
comite membre intéressé par une étude a le droit de faire partie du comite technique
créé à cet effet. Les organisations internationales, gouvernementales et non gouverne-
mentales, en liaison avec I’ISO, participent également aux travaux.
Les projets de Normes internationales adoptés par les comités techniques sont soumis
aux comités membres pour approbation, avant leur acceptation comme Normes inter-
nationales par le Conseil de I’ISO. Les Normes internationales sont approuvées confor-
mément aux procédures de I’ISO qui requièrent l’approbation de 75 % au moins des
comités membres votants.
La Norme internationale ISO 7438 a Rtb Alaborée par le comite technique ISO/TC 164,
Essais mécaniques des métaux.
Elle annule et remplace les Recommandations ISO/R 854959, ISO/R 87-1959,
ISO/R 3984964 et ISO/R 9544969, dont elle constitue une révision technique.
Organisation internationale de normalisation, 1985 0
Imprimé en Suisse
NORME INTERNATIONALE
ISO 7438-1985 (F)
Matériaux métalliques - Essai de pliage
1 Objet et domaine d’application Tableau 1
La présente Norme internationale spécifie la méthode de déter-
Symbole Dhignation Unit6
mination de l’aptitude à la déformation plastique par pliage des
a Épaisseur ou diamétre de t’éprou-
matériaux métalliques.
vette (ou diamètre du cercle inscrit
pour tes éprouvettes de section poty-
La présente Norme internationale est applicable à l’essai de gonate) m’m
pliage d’éprouvettes prélevées dans des produits métalliques
6 Largeur de l’éprouvette mm
suivant les spécifications des normes correspondantes. Elle
n’est pas applicable à certains matériaux et/ou produits, du
L Longueur de l’éprouvette mm
type tubes sans soudure ou soudés, qui font l’objet de normes
particuliéres.
I Distance entre appuis mm
D Diamètre du mandrin mm
2 Principe
a Angle de pliage degrhs
Une éprouvette de section circulaire, carrée, rectangulaire ou
r Rayon intérieur du pli de l’éprouvette
polygonale est soumise à une déformation plastique par pliage
après pliage mm
J
sans inversion du sens de flexion pendant l’essai, le pliage étant
poussé jusqu’à un angle spécifié.
Les axes des deux branches de l’éprouvette restent dans un
4 Appareillage d’essai
plan perpendiculaire à l’axe de pliage. En cas de pliage a 180°,
les deux surfaces latérales peuvent, suivant les spécifications
L”essai de pliage doit être réalisé sur des machines ou presses
de la norme de produit, soit venir s’appliquer l’une contre
équipées des dispositifs suivants :
l’autre, soit demeurer parallèles à une distance déterminée (une
cale peut servir à régler l’écartement).
a) dispositif de pliage sur deux appuis avec mandrin con-
formément à la figure 1;
3 Symboles et désignations
b) dispositif de pliage sur empreint à profil en V avec man-
drin conformément a la figure 2;
Les symboles et désignations à utiliser pour l’essai de pliage
sont spécifiés dans le tableau 1 et représentés aux figures 1
et 2. c) dispositif de pliage sur étau conformément a la figure 3.
ISO 74384985 (FI
lJ
I
i .
Figure 1
Figure 2
Étau
Figure 3
Iso 74384985 FI
5.3 Sauf spécification contraire dans la
41 . Dispositif de pliage sur appuis avec mandrin norme correspon-
dante, la largeur de l’éprouvette doit être la suivante :
4.1.1 La longueur des appuis et la largeur du mandrin doivent
a) égale à la largeur du produit si cette dernière est égale
être supérieurs à la largeur ou au diamétre de l’éprouvette. Le ou inférieure a 20 mm;
diamétre du mandrin est défini dans la norme de produit. Les
b) pour les produits de largeur supérieure à 20 mm:
arêtes d’appui et le mandrin doivent avoir une dureté suffisante
(voir figure 1).
de 20 rf 5 mm pour les produits d’épaisseur inférieure
à3mm,
4.1.2 Sauf spécification contraire, la distance entre appuis, 1,
comprise entre 20 et 50 mm pour produits d’épaisseur
doit être égale à :
égale ou supérieure à3mm.
1 = (D + 3a) A- a/2
5.4 Épaisseur de l’éprouvette
et ne doit pas varier en cours d’essai.
5.4.1 L’épaisseur des éprouvettes de tôles, bandes, feuillards
4.2 Dispositif de pliage sur empreint en V
et profilés doit être égale à l’épaisseur du produit essayé. Si le
produit a une épaisseur supérieure à 25 mm, on peut ramener
Les faces obliques de l’empreint doivent former un angle de
celle-ci à au moins 25 mm par usinage d’une des faces. Au
180° - a (voir figure 2). Cet angle doit être conforme aux spé-
cours du pliage la face non usinée doit former la partie exté-
cifications des normes a
...
















Questions, Comments and Discussion
Ask us and Technical Secretary will try to provide an answer. You can facilitate discussion about the standard in here.
Loading comments...