ASTM D6365-99(2018)
(Practice)Standard Practice for Nondestructive Testing of Geomembrane Seams Using the Spark Test
Standard Practice for Nondestructive Testing of Geomembrane Seams Using the Spark Test
SIGNIFICANCE AND USE
5.1 Spark testing of geomembrane field seams is particularly useful in locations where other nondestructive test methods are not practical, for example in tight corners or a circumferential seam around a pipe.
SCOPE
1.1 This practice covers the nondestructive testing of field seams in geomembranes using the spark test. A suspect area is indicated by the generation of a spark. The test is applicable to seams made by the extrusion method, seams made by using welding tape (a strip of the same type of material as the geomembrane, that is welded over adjacent sections of geomembrane to create a seam), or seams where it is practical to insert a conductive material in the seam just prior to or during fabrication.
1.2 The spark test may produce an electrical spark and therefore can only be used where an electrical spark would not create a hazard.
1.3 Unless the voltages and distances prescribed are carefully adhered to, a “false positive” indication may result. This false positive occurs when the arc distance is too large for the voltage applied at the time and conditions of testing.
1.4 The values stated in SI units are to be regarded as standard. The values given in parentheses are for information only.
1.5 This standard does not purport to address all of the safety concerns, if any, associated with its use. It is the responsibility of the user of this standard to establish appropriate safety, health, and environmental practices and determine the applicability of regulatory limitations prior to use.
1.6 This international standard was developed in accordance with internationally recognized principles on standardization established in the Decision on Principles for the Development of International Standards, Guides and Recommendations issued by the World Trade Organization Technical Barriers to Trade (TBT) Committee.
General Information
- Status
- Published
- Publication Date
- 31-Jan-2018
- Technical Committee
- D35 - Geosynthetics
- Drafting Committee
- D35.10 - Geomembranes
Relations
- Effective Date
- 01-Feb-2018
- Effective Date
- 01-Feb-2024
- Effective Date
- 15-Apr-2018
- Effective Date
- 01-Aug-2017
- Refers
ASTM D4491/D4491M-17 - Standard Test Methods for Water Permeability of Geotextiles by Permittivity - Effective Date
- 01-Jan-2017
- Refers
ASTM D4491/D4491M-16 - Standard Test Methods for Water Permeability of Geotextiles by Permittivity - Effective Date
- 01-Jul-2016
- Effective Date
- 01-Sep-2015
- Effective Date
- 01-Jul-2015
- Refers
ASTM D4491/D4491M-15 - Standard Test Methods for Water Permeability of Geotextiles by Permittivity - Effective Date
- 01-Jul-2015
- Effective Date
- 01-Mar-2014
- Effective Date
- 01-Oct-2011
- Effective Date
- 01-Jun-2004
- Effective Date
- 10-Aug-2002
- Effective Date
- 10-Sep-2001
- Effective Date
- 10-Sep-2001
Overview
ASTM D6365-99(2018) - Standard Practice for Nondestructive Testing of Geomembrane Seams Using the Spark Test - provides guidance on the nondestructive evaluation of field seams in geomembranes. The spark test described in this standard is primarily utilized to identify suspect areas in geomembrane seams during fabrication or installation without causing any damage to the material. This method is especially valuable in situations where other nondestructive testing techniques may be impractical, such as in confined spaces, tight corners, or around circular penetrations.
Compliance with ASTM D6365 ensures that geomembrane installations meet essential quality and safety standards, helping prevent leaks and failures in containment systems.
Key Topics
- Spark Test Principle: The method involves passing a high-voltage, low-current electric discharge along the seam of a geomembrane, with suspect areas indicated by the generation of a visible spark.
- Applicable Seam Types: The standard applies to seams made by the extrusion weld method, seams formed using welding tape, or any seams with conductive material inserted during fabrication.
- Safety Considerations: Since the spark test produces electrical sparks, it can only be used where such sparks do not present a hazard.
- False Positives: Accurate adherence to prescribed voltages and distances is essential to avoid incorrect results, such as false positives due to inadequate test conditions.
- Apparatus Requirements: The test apparatus consists of a high-voltage, low-current source and appropriate voltage applicators like wire brushes or conductive neoprene squeegees.
- Reporting: The standard outlines the necessary details for reporting test results, including identification of materials, test voltages, environmental conditions, and findings.
Applications
- Field Seaming of Geomembranes: The spark test is a preferred method for nondestructive testing in the field, particularly when space constraints or seam geometry make other methods ineffective.
- Quality Control: The practice is used by installation contractors and quality assurance professionals to verify the integrity of geomembrane seams during construction of containment facilities such as landfills, ponds, mining facilities, and environmental containment projects.
- Leak Detection: Early identification of defects using the spark test helps reduce the risk of leaks, thereby protecting against costly environmental contamination and regulatory non-compliance.
- Complex Geometries: The spark test is especially useful for evaluating seams in hard-to-reach areas, such as those surrounding pipes or fittings, ensuring comprehensive inspection coverage.
Related Standards
- ASTM D4439: Terminology for Geosynthetics - provides definitions of terms used in geomembrane and geosynthetics applications.
- ASTM D4491/D4491M: Test Methods for Water Permeability of Geotextiles by Permittivity - referenced for evaluating the impermeability of geomembranes.
- ISO Standards for Geomembranes: For international regulatory alignment and comparison.
Practical Value
Implementing ASTM D6365-99(2018) provides confidence in the durability and effectiveness of geomembrane installations. By using the spark test method, stakeholders in civil engineering, environmental protection, and geosynthetics can achieve thorough, nondestructive inspection of seams, reducing the likelihood of early failure and mitigating environmental risks. This standard supports high-quality, reliable containment systems essential for waste management, water resources, and industrial applications.
Keywords: ASTM D6365, spark test, geomembrane seams, nondestructive testing, geosynthetics, field seam quality, leak detection, containment systems, seam inspection standards.
Buy Documents
ASTM D6365-99(2018) - Standard Practice for Nondestructive Testing of Geomembrane Seams Using the Spark Test
Get Certified
Connect with accredited certification bodies for this standard

Smithers Quality Assessments
US management systems and product certification.
DIN CERTCO
DIN Group product certification.
IMP NDT d.o.o.
Non-destructive testing services. Radiography, ultrasonic, magnetic particle, penetrant, visual inspection.
Sponsored listings
Frequently Asked Questions
ASTM D6365-99(2018) is a standard published by ASTM International. Its full title is "Standard Practice for Nondestructive Testing of Geomembrane Seams Using the Spark Test". This standard covers: SIGNIFICANCE AND USE 5.1 Spark testing of geomembrane field seams is particularly useful in locations where other nondestructive test methods are not practical, for example in tight corners or a circumferential seam around a pipe. SCOPE 1.1 This practice covers the nondestructive testing of field seams in geomembranes using the spark test. A suspect area is indicated by the generation of a spark. The test is applicable to seams made by the extrusion method, seams made by using welding tape (a strip of the same type of material as the geomembrane, that is welded over adjacent sections of geomembrane to create a seam), or seams where it is practical to insert a conductive material in the seam just prior to or during fabrication. 1.2 The spark test may produce an electrical spark and therefore can only be used where an electrical spark would not create a hazard. 1.3 Unless the voltages and distances prescribed are carefully adhered to, a “false positive” indication may result. This false positive occurs when the arc distance is too large for the voltage applied at the time and conditions of testing. 1.4 The values stated in SI units are to be regarded as standard. The values given in parentheses are for information only. 1.5 This standard does not purport to address all of the safety concerns, if any, associated with its use. It is the responsibility of the user of this standard to establish appropriate safety, health, and environmental practices and determine the applicability of regulatory limitations prior to use. 1.6 This international standard was developed in accordance with internationally recognized principles on standardization established in the Decision on Principles for the Development of International Standards, Guides and Recommendations issued by the World Trade Organization Technical Barriers to Trade (TBT) Committee.
SIGNIFICANCE AND USE 5.1 Spark testing of geomembrane field seams is particularly useful in locations where other nondestructive test methods are not practical, for example in tight corners or a circumferential seam around a pipe. SCOPE 1.1 This practice covers the nondestructive testing of field seams in geomembranes using the spark test. A suspect area is indicated by the generation of a spark. The test is applicable to seams made by the extrusion method, seams made by using welding tape (a strip of the same type of material as the geomembrane, that is welded over adjacent sections of geomembrane to create a seam), or seams where it is practical to insert a conductive material in the seam just prior to or during fabrication. 1.2 The spark test may produce an electrical spark and therefore can only be used where an electrical spark would not create a hazard. 1.3 Unless the voltages and distances prescribed are carefully adhered to, a “false positive” indication may result. This false positive occurs when the arc distance is too large for the voltage applied at the time and conditions of testing. 1.4 The values stated in SI units are to be regarded as standard. The values given in parentheses are for information only. 1.5 This standard does not purport to address all of the safety concerns, if any, associated with its use. It is the responsibility of the user of this standard to establish appropriate safety, health, and environmental practices and determine the applicability of regulatory limitations prior to use. 1.6 This international standard was developed in accordance with internationally recognized principles on standardization established in the Decision on Principles for the Development of International Standards, Guides and Recommendations issued by the World Trade Organization Technical Barriers to Trade (TBT) Committee.
ASTM D6365-99(2018) is classified under the following ICS (International Classification for Standards) categories: 19.100 - Non-destructive testing; 83.140.10 - Films and sheets. The ICS classification helps identify the subject area and facilitates finding related standards.
ASTM D6365-99(2018) has the following relationships with other standards: It is inter standard links to ASTM D6365-99(2011), ASTM D4439-24, ASTM D4439-18, ASTM D4439-17, ASTM D4491/D4491M-17, ASTM D4491/D4491M-16, ASTM D4439-15a, ASTM D4439-15, ASTM D4491/D4491M-15, ASTM D4439-14, ASTM D4439-11, ASTM D4439-04, ASTM D4439-02, ASTM D4439-00, ASTM D4439-01. Understanding these relationships helps ensure you are using the most current and applicable version of the standard.
ASTM D6365-99(2018) is available in PDF format for immediate download after purchase. The document can be added to your cart and obtained through the secure checkout process. Digital delivery ensures instant access to the complete standard document.
Standards Content (Sample)
This international standard was developed in accordance with internationally recognized principles on standardization established in the Decision on Principles for the
Development of International Standards, Guides and Recommendations issued by the World Trade Organization Technical Barriers to Trade (TBT) Committee.
Designation: D6365 − 99 (Reapproved 2018)
Standard Practice for
Nondestructive Testing of Geomembrane Seams Using the
Spark Test
This standard is issued under the fixed designation D6365; the number immediately following the designation indicates the year of
original adoption or, in the case of revision, the year of last revision. A number in parentheses indicates the year of last reapproval. A
superscript epsilon (´) indicates an editorial change since the last revision or reapproval.
1. Scope 2. Referenced Documents
2.1 ASTM Standards:
1.1 This practice covers the nondestructive testing of field
D4439 Terminology for Geosynthetics
seams in geomembranes using the spark test. A suspect area is
D4491/D4491M Test Methods for Water Permeability of
indicated by the generation of a spark. The test is applicable to
Geotextiles by Permittivity
seams made by the extrusion method, seams made by using
welding tape (a strip of the same type of material as the
3. Terminology
geomembrane, that is welded over adjacent sections of
3.1 Definitions:
geomembrane to create a seam), or seams where it is practical
3.1.1 geomembrane, n—anessentiallyimpermeablegeosyn-
to insert a conductive material in the seam just prior to or
thetic composed of one or more synthetic sheets.
during fabrication.
3.1.1.1 Discussion—In geotechnical engineering, “essen-
1.2 The spark test may produce an electrical spark and
tially impermeable” means that no measurable liquid flows
therefore can only be used where an electrical spark would not
through a geosynthetic when tested in accordance with Test
create a hazard.
Methods D4491/D4491M.
1.3 Unless the voltages and distances prescribed are care-
3.1.2 seam, n—a permanent joining of two or more materi-
fully adhered to, a “false positive” indication may result. This
als.
false positive occurs when the arc distance is too large for the
3.2 For definitions of other terms, see Terminology D4439.
voltage applied at the time and conditions of testing.
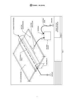
4. Summary of Practice
1.4 The values stated in SI units are to be regarded as
4.1 To use this practice, a conductive material is inserted
standard. The values given in parentheses are for information
into the field seam just prior to or during fabrication. The
only.
conductive material in the seam is connected to the negative
1.5 This standard does not purport to address all of the
terminal of the test apparatus, and a positive voltage is applied
safety concerns, if any, associated with its use. It is the
acrosstheseamedge.Asuspectareaintheseamisindicatedby
responsibility of the user of this standard to establish appro-
a spark from the voltage source to the conductive material.
priate safety, health, and environmental practices and deter-
mine the applicability of regulatory limitations prior to use. 5. Significance and Use
1.6 This international standard was developed in accor-
5.1 Spark testing of geomembrane field seams is particu-
dance with internationally recognized principles on standard-
larly useful in locations where other nondestructive test meth-
ization established in the Decision on Principles for the
ods are not practical, for example in tight corners or a
Development of International Standards, Guides and Recom-
circumferential seam around a pipe.
mendations issued by the World Trade Organization Technical
6. Apparatus
Barriers to Trade (TBT) Committee.
6.1 The test apparatus consists of a high-voltage, low-
current source with a negative terminal for ground and a
This practice is under the jurisdiction of ASTM Committee D35 on Geosyn-
thetics and is the direct responsibility of Subcommittee D35.10 on Geomembranes. For referenced ASTM standards, visit the ASTM website, www.astm.org, or
Current edition approved Feb. 1, 2018. Published February 2018. Originally contact ASTM Customer Service at service@astm.org. For Annual Book of ASTM
approved in 1999. Last previous edition approved in 2011 as D6365 – 99 (2011). Standards volume information, refer to the standard’s Document Summary page on
DOI: 10.1520/D6365-99R18. the ASTM website.
Copyright © ASTM International, 100 Barr Harbor Drive, PO Box C700, West Conshohocken, PA 19428-2959. United States
D6365 − 99 (2018)
positive terminal for a voltage applicator. A voltage applicator 7.2 Pri
...




Questions, Comments and Discussion
Ask us and Technical Secretary will try to provide an answer. You can facilitate discussion about the standard in here.
Loading comments...