ISO 3512:1976
(Main)Heavy duty cranked link transmission chains
Heavy duty cranked link transmission chains
Chaînes de transmission à maillons coudés de haute résistance
General Information
- Status
- Withdrawn
- Publication Date
- 31-Jan-1976
- Withdrawal Date
- 31-Jan-1976
- Technical Committee
- ISO/TC 100 - Chains and chain sprockets for power transmission and conveyors
- Current Stage
- 9599 - Withdrawal of International Standard
- Start Date
- 09-Jul-1992
- Completion Date
- 14-Feb-2026
Relations
- Effective Date
- 15-Apr-2008
Frequently Asked Questions
ISO 3512:1976 is a standard published by the International Organization for Standardization (ISO). Its full title is "Heavy duty cranked link transmission chains". This standard covers: Heavy duty cranked link transmission chains
Heavy duty cranked link transmission chains
ISO 3512:1976 is classified under the following ICS (International Classification for Standards) categories: 21.220.30 - Chain drives and their components. The ICS classification helps identify the subject area and facilitates finding related standards.
ISO 3512:1976 has the following relationships with other standards: It is inter standard links to ISO 3512:1992. Understanding these relationships helps ensure you are using the most current and applicable version of the standard.
ISO 3512:1976 is available in PDF format for immediate download after purchase. The document can be added to your cart and obtained through the secure checkout process. Digital delivery ensures instant access to the complete standard document.
Standards Content (Sample)
INTERNATIONAL STANDARD 3512
INTERNATIONAL ORGANIZATION FOR STANDARDIZATION *MEX’3L H4POJlHAR OPrAHMlAUMR no CTAHüAPTM3AUHH .ORGANISATION INTERNATIONALE DE NORMALISATION
Heavy duty cranked link transmission chains
Chaînes de transmission à maillons coudés de haute résistance
First edition - 1976-02-01
UDC 621.855 Ref. No. IS0 3512-1976 (E)
Descriptors : chain drives, cranked link chains, specifications.
*
Price based on 7 pages
FOREWORD
IS0 (the International Organization for Standardization) is a worldwide federation
of national standards institutes (IS0 Member Bodies). The work of developing
International Standards is carried out through IS0 Technical Committees. Every
Member Body interested in a subject for which a Technical Committee has been set
up has the right to be represented on that Committee. International organizations,
governmental and non-governmental, in liaison with ISO, also take part in the work.
Draft International Standards adopted by the Technical Committees are circulated
to the Member Bodies fbr approval before their acceptance as International
Standards by the IS0 Council.
International Standard IS0 3512 was drawn up by Technical Committee
ISO/TC 100, Chains and chain wheels for power transmission and conveyors, and
circulated to the Member Bodies in October 1974.
It has been approved by the Member Bodies of the following countries :
Austria India Turkey
Italy United Kingdom
Belgium
Japan U.S.A.
Bulgaria
Romania Yugoslavia
Finland
France South Africa, Rep. of
Germany Sweden
The Member Bodies of the following countries expressed disapproval of the
document on technical grounds :
Australia
Czechoslovakia
O international Organization for Standardization, 1976 O
Printed in Switzerland
INTERNATIONAL STANDARD IS0 3512-1976 (E)
Heavy duty cranked link transmission chains
1 SCOPE AND FIELD OF APPLICATION 2.3 Dimensions
Chains shall conform to the dimension given in tables 1 and
This International Standard specifies dimensions,
1M. Maximum and minimum dimensions are specified to
tolerances, measuring loads and minimum breaking loads,
ensure interchangeability of links as produced by different
together with the tooth gap forms and rim profiles of the
makers of chain. They represent limits for inter-
associated chain wheels, for cranked link1 ) roller chains
changeability, but are not the actual tolerances that
suitable for the mechanical transmission of power and allied
applications under onerous conditions. should be used in manufacture.
The dimensions of chain specified ensure complete
Pitch p is a theoretical reference dimension used in
interchangeability of- any given size and provide
calculating strand lengths and chain wheel dimensions; it is
interchangeability of individual links of chain for repair
not intended for inspection of individual links.
purposes.
2.4 Breaking loads
2 CHAINS
The test length shall have a minimum of three free pitches.
2.1 Nomenclature
The ends shall be attached to the testing machine shackles
by a pin through the plate holes or the bushes. The shackles
The illustrations shown below and in the key to tables 1
shall be so designed as to allow universal movement; the
and 1M do not define the actual form of the chain plates.
actual method to be used is left to the discretion of the
manufacturer.
2.2 Designation
Heavy duty cranked link roller chains are designated by the Tests in which failures occur adjacent to the shackles shall
standard IS0 numbers given in tables 1 and 1M : the first be disregarded.
two digits express the pitch in eighths of an inch, while the
second (last) two digits express the bearing pin diameter in The minimum tensile breaking loads shall be those given in
sixteenths of an inch. tables 1 and 1M.
"7 7
Cran ked
' Connecting pin
Retaining pegA
(schematic)
FIGURE 1 - Cranked link chain assembly F I GU R E 2 - Typical cranked link components
1) In the U.S.A., the term "offset sidebar" is used in place of ''cranked link".
~
IS0 3512-1976 (E)
I l I
Offset construction
straight crank
~
I
I
I I
I Offset construction
radiused crank
I
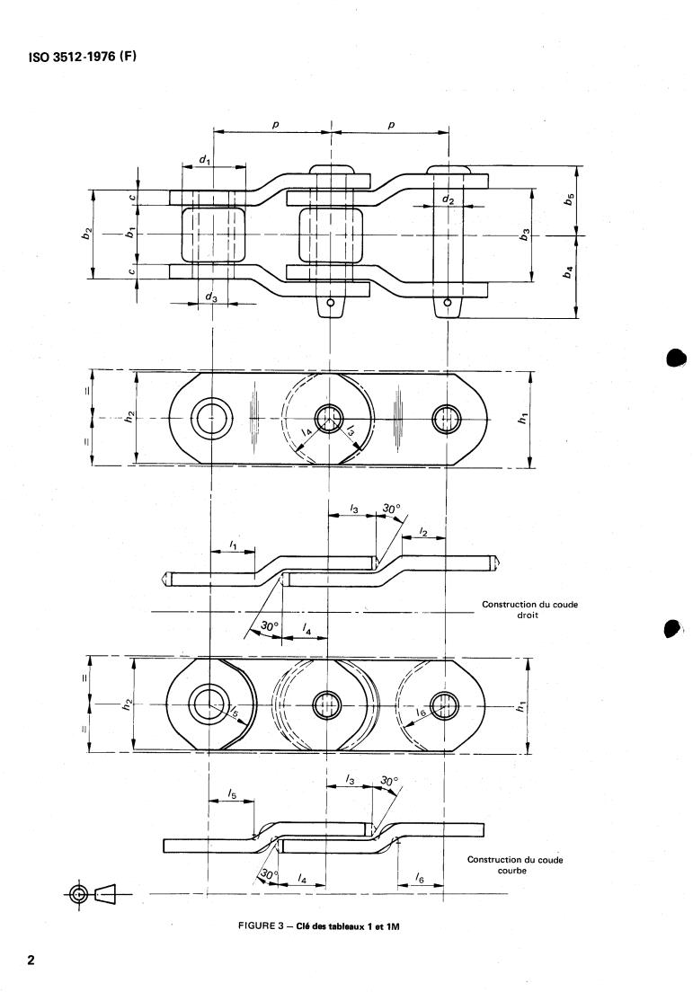
FIGURE 3 - Key to tables 1 and 1M
IS0 3512-1976 (E)
U
IS0 3512-1976 (E)
3.2 Diametral dimensions of wheel rim
2.5 Length accuracy
Finished chains shall be measured either dry or after only
3.2.1 Nomenclature
light lubricating.
The standard nominal length for measurement shall be that
nearest to 3 048 mm (120 in).
I
The chain shall be supported throughout its entire length
and the measuring load given in tables 1 and 1 M applied. To
comply with this International Standard, the length shall be
P
the nominal length subject to the limits of tolerance
of i- 0.32 %
o.
Even numbers Odd numbers
The length accuracy of chains which have to work in
of teeth of teeth
parallel shall be within the above limits but matched by
agreement with the manufacturer.
FIGURE 4 - Diametral dimensions
c = chordal pitch, equal to chain pitch
p
2.6 Working clearances (see figure 3)
dR = measuring pin diameter
The form of the line of cranking, or offset, across the width
z = number of teeth
of the link may be curved or straight.
d = pitch circle diameter
If straight, the distance from the pitch point is Il or I*.
df = root diameter
MR = measurement over pins
If curved, this distance is I, or I,. Radii I, and /6 shall be
sufficient to allow clearance over the adjacent plate nose
3.2.2 Dimensions
contained by the clearance radii I, and I, during chain
articulation round a seven-tooth wheel.
3.2.2.1 PITCH CIRCLE DIAMETER
Side plates may be extended, provided that the extension is
d= - (see the annex for nominal dimensions of the
within a 30" included angle with respect to the sidebar, as
180"
sin -
indicated in figure 3. The chain link construction shall
Z
always allow for this extension to be adopted.
normal range of teeth)
3.2.2.2 MEASURING PIN DIAMETER
+ 0,Ol rnm
2.7 Marking
dR = dl (see 3.3.1) subject to tolerance limits
+ 0.000 5 in
The chain should be marked with
O
a) the manufacturer's name or trade mark;
3.2.2.3 ROOT DIAMETER
b) the IS0 number (see 2.2).
df = d - dl subject to the following tolerance limits :
Root diameter Tolerance for machined teeth
3 CHAIN WHEELS I
O O I
df Q 305 mm (12 in) I -0.38rnm (-0,015inI
I
3.1 Nomenclature
O
df Q 1 215 rnm (48 in)
Io - 0.50 rnrn 1- 0,020 in)
I
The nomenclature for basic chain dimensions on which all
wheel data are based will be found in the keys to tables 1
O
df > 1 215 rnm (48 in)
- 0.77 mm 1- 0,030 in)
and IM. Chain wheel nomenclature is covered under the
Io
respective headings.
IS0 3512-1976 (E)
with the corresponding working faces of the respective
Tolerance for non-machid
teeth.
R
...
INTERNATIONAL ORGANIZATION FOR STANDARDIZATION .MEXnYHAPOnHAR OPTAHWJAUMII no CTAHnAPTM3AUHH.ORGANlSATlON INTERNATIONALE DE NORMALISATION
Chaînes de transmission à maillons coudés de haute résistance
Heavy duty cranked link transmission chains
Première édition - 1976-02-01
Réf. no : IS0 3512-1976 (FI
CDU 621.855
Descripteuri : transmission par chaîne, chaîne à maillons coudés, spécification.
Prix basé sur 7 pages
AVANT-PROPOS
L'ISO (Organisation Internationale de Normalisation) est une fédération mondiale
d'organismes nationaux de normalisation (Comités Membres ISO). L'élaboration de
Normes Internationales est confiée aux Comités Techniques ISO. Chaque Comité
Membre intéressé par une étude a le droit de faire partie du Comité Technique
correspondant. Les organisations internationales, gouvernementales et non
gouvernementales, en liaison avec I'ISO, participent également aux travaux.
O
Les Projets de Normes Internationales adoptés par les Comités Techniques sont
soumis aux Comités Membres pour approbation, avant leur acceptation comme
Normes Internationales par le Conseil de I'ISO.
IS03512 a été établie par le Comité Technique
La Norme Internationale
ISOKC 100, Chaînes et roues à chaînes pour transmission d'énergie et convoyeurs,
et soumise aux Comités Membres en octobre 1974.
Elle a été approuvée par les Comités Membres des pays suivants :
Afrique du Sud, Rép. d' France Suède
Allemagne Inde Turquie
Autriche Italie U.S.A.
Japon Yougoslavie
Belgique
Bu I garie Roumanie
Finlande Royaume-Uni
Les Comités Membres des pays suivants ont désapprouvé le document pour des
raisons techniques : e
Australie
Tchécoslovaquie
8 Organisation Internationale de Normalisation, 1976 0
Imprimé en Suisse
NORME INTERNATIONALE IS0 3512-1976 (F)
Chaînes de transmission à maillons cn~dk AP haii+n vacie+amfin
NORME INTERNATIONALE IS0 3512-1976 (FI
FICHE D'AM END EM ENT
Publiée 1976-04-15
INTERNATIONAL ORGANIZATION FOR STANDARDIZATION aMEXnYHAPOnHAR OPrAHMJAUMR Il0 CTAHfiAPTCIJAUMH .ORGANISATION INTERNATIONALE DE NORMALISATION
Chaînes de transmission à maillons coudés de haute résistance
MODIFICATION À L'AVANT-PROPOS (Page de couverture intérieure)
Le Comité Membre de l'Espagne vient d'approuver la présente Norme Internationale. En conséquence, l'Espagne doit figurer
dans la liste des pays dont les Comités Membres ont approuvé le document.
Goupi'le de retenue'
Axe de jonction amovible 1
FIGURE 1 - Chaîne à maillons coudés assemblée
FIGURE 2 - Composants d'un maillon coude
IS0 3512-1976 (F)
I
I
I
I
I
Construction du coude
courbe
l/6
+----~-~-~-
FIGURE 3 - CI6 des tableaux 1 et 1M
i-
IS0 3512-1976
I
I
E
O
U
P
.-
L
.z
P .-
E
.t3
c .O
.-
c
.-
E
E
-
-
L
e
4.l
c
P
P
z
al
al
U
U
IB
P
P
c
s
c
4.l
œ
e c 'E N .E
L
a
.- E
g
E -
0,
al
U .E 3
U
! ,E
Ou 'E
F
K
s
g
g
<-
1-
O
s
-5
U
U
O
.-
O
.-
E
E
.- E
E
.-
n
n
I
I
I
r
a
J
Lu
m
m
;I
;I
IS0 3512-1976 (FI
3.2 Dimensions diamétrales de la couronne dentée
2.5 Précision sur la longueur
Les chaînes sont mesurées sèches, ou après graissage léger.
3.2.1 Nomenclature
La longueur nominale normale de mesurage doit être aussi
proche que possible de 3 048 mm (120 in).
La chaîne doit être supportée sur toute sa longueur et la
charge de mesure à appliquer est donnée dans les tableaux 1
et 1M. La longueur de la chaîne conforme à la présente
Norme Internationale doit être égale à la longueur nominale
+ 0,32 %
avec une tolérance de
La précision sur la longueur des chaînes travaillant en
Nombre pair Nombre impair
parallèle doit être comprise entre les limites de tolérances
de dents
de dents
indiquées ci-dessus, mais on demandera l'appariement de
ces chaînes après accord avec le fabricant.
FIGURE 4 - Dimensions diamétrales
= longueur du côté polygone primitif, égale au pas de la
p
chaîne
2.6 Jeux utiles (voir figure 3)
d~ = diamètre des galets de vérification
La forme du coude sur la largeur du maillon peut être
z = nombre de dents
courbe ou droite.
d = diamètre primitif
S'il s'agit d'un coude droit, la distance à partir de l'axe sera
11 ou 12. df = diamètre à fond de dent
MR = cote de vérification sur galets
S'il s'agit d'un coude courbe, cette distance sera /6 ou
Les rayons le et le doivent être de longueur suffisante pour
3.2.2 Dimensions
assurer le jeu nécessaire aux coins des plaques adjacentes
limités par les rayons 13 et /4, pendant l'articulation de la
3.2.2.1 DIAMÈTRE PRIMITIF
chaîne autour d'une roue à sept dents.
d A. (voir l'annexe pour les diamètres primitifs
Les plaques latérales peuvent être prolongées à condition
que ce prolongement soit contenu dans un angle inscrit de sin -
30' par rapport à la barre latérale comme indiqué à la
unitaires suivant le nombre de dents)
figure 3. Les maillons de chalne doivent toujours être
construits de manière à permettre ce prolongement.
3.2.2.2 DIAMÈTRE DES QALETS DE VÉRIFICATION
d~ = dl (voir 3.3.1) mais avec tolérance de ' $O1 mm
2,7 Marquage
(Ofooo In- 1
Les cha'lnes sont marquées en indiquant :
3.2.2.3 DIAMETRE À FOND DE DENT
a) le nom du fabricant ou la marque déposée,
df = d - dl avec les tolérances suivantes
b) le symbole IS0 (voir 2.2).
Diam&re à fond de dent
I Toliranoea pour dent8 urinhr I
I
3 RQUES POUR CHAINES
O O
306 mm (12 in)
- 0,38 mm 1- 0,016 in)
3.1 Nomenclature
O O
dt 6 1 216 mm (48 in)
- 0,60 mm [ - 0,020 in] I
La signification de toutes les cotes de base des chaînes se I
I
trouve dans la clé des tableaux 1 et 1M. La nomenclature
O O
df > 1 216 mm (48 in)
est donnée en tête de chacune des
des roues de chaînes - 0,77 mm (- 0,030 in)
rubriques.
IS0 3512-1976 (F)
contact avec les faces utiles de la dent correspondante.
Tolérances pour dents
Les écarts limites sur la cote de vérification des galets ont la
pem&tre à fond de dent I non usinées
même valeur algébrique que ceux du diamètre à fond de
dent.
O
df < 305 mm (12 in)
Io - 1.52 mm [ - 0.06 in]
O
3.3 Forme de denture des roues
df G 508 mrn (20 in)
- 2.54 mm I- 0.10 in]
I
3.3.1 Nomenclature (voir figure 5)
p = long
...








Questions, Comments and Discussion
Ask us and Technical Secretary will try to provide an answer. You can facilitate discussion about the standard in here.
Loading comments...