ISO 8406:1991
(Main)Mould bases — Locating elements
Mould bases — Locating elements
Specifies the basic dimensions for diameters from 6 mm to 32 mm, the material and hardness, and the designation of locating elements. Annex A is for information only.
Éléments de moules — Plots de centrage
General Information
- Status
- Withdrawn
- Publication Date
- 13-Nov-1991
- Withdrawal Date
- 13-Nov-1991
- Technical Committee
- ISO/TC 29/SC 8 - Tools for pressing and moulding
- Drafting Committee
- ISO/TC 29/SC 8 - Tools for pressing and moulding
- Current Stage
- 9599 - Withdrawal of International Standard
- Start Date
- 18-Oct-2001
- Completion Date
- 12-Feb-2026
Relations
- Effective Date
- 15-Apr-2008
Get Certified
Connect with accredited certification bodies for this standard
National Aerospace and Defense Contractors Accreditation Program (NADCAP)
Global cooperative program for special process quality in aerospace.
CARES (UK Certification Authority for Reinforcing Steels)
UK certification for reinforcing steels and construction.
DVS-ZERT GmbH
German welding certification society.
Sponsored listings
Frequently Asked Questions
ISO 8406:1991 is a standard published by the International Organization for Standardization (ISO). Its full title is "Mould bases — Locating elements". This standard covers: Specifies the basic dimensions for diameters from 6 mm to 32 mm, the material and hardness, and the designation of locating elements. Annex A is for information only.
Specifies the basic dimensions for diameters from 6 mm to 32 mm, the material and hardness, and the designation of locating elements. Annex A is for information only.
ISO 8406:1991 is classified under the following ICS (International Classification for Standards) categories: 25.120.30 - Moulding equipment. The ICS classification helps identify the subject area and facilitates finding related standards.
ISO 8406:1991 has the following relationships with other standards: It is inter standard links to ISO 8406:2001. Understanding these relationships helps ensure you are using the most current and applicable version of the standard.
ISO 8406:1991 is available in PDF format for immediate download after purchase. The document can be added to your cart and obtained through the secure checkout process. Digital delivery ensures instant access to the complete standard document.
Standards Content (Sample)
INTERNATIONAL
STANDARD 8406
First edition
1991-12-01
-~ -_______----_ _____ -.- ----p-p
- Locating elements
Mould bases
&ments de moules - Plots de centrage
Reference number
IS0 8406: 199 1 (E)
IS0 8406:1991(E)
Foreword
IS0 (the international Organization for Standardization) is a worldwide
federation of national standards bodies (IS0 member bodies). The work
of preparing International Standards is normally carried out through IS0
technical committees. Each member body interested in a subject for
which a technical committee has been established has the right to be
represented on that committee. International organizations, govern-
mental and non-governmental, in liaison with ISO, also take par-t in the
work. IS0 collaborates closely with the International Electrotechnical
Commission (IEC) on all matters of electrotechnical standardization.
Draft International Standards adopted by the technical committees are
circulated to the member bodies for voting. Publication as an lnter-
national Standard requires approval by at least 75 % of the member
bodies casting a vote.
International Standard IS0 8406 was prepared by Technical Committee
ISO/TC 29, Small tools, Sub-Committee SC 8, Tools for pressing and
moulding.
Annex A of this International Standard is for information only.
0 IS0 1991
All rights reserved. No part of this publication may be reproduced or utilized in any forrn
or by any means, electronic or mechanical, including photocopying and microfilm, without
permission in writing from the publisher.
International Organization for Standard ization
Case Postale 56 l CH-1211 Gerkve 20 l Switzer
Printed in Switzerland
ii
Mould bases - Locating elements
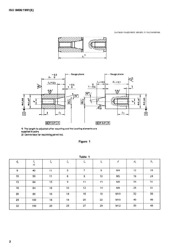
3 Dimensions
1 Scope
See figure 1 and table 1.
This International Standard specifies the basic di-
mensions, in millimetres, of locating elements in-
tended for use in moulds for accurate location of two
4 Material and hardness
mould parts with respect to one another.
Locating elements shall be made from tool steel in
It also specifies the material and hardness, and
accordance with IS0 4957 and shall have hardness
designation of locating elements in accordance with
value of (62 + 2) HRC.
--
this International Standard.
5 Designation
2 Normative r
...
ISO
NORME
INTERNATIONALE
Première édition
1991-12-01
_. - .- w-- ---
Éléments de moules - Plots de centrage
Mould bases - Locating elements
Numéro de référence
Avant-propos
L’ISO (Organisation internationale de normalisation) est une fédération
mondiale d’organismes nationaux de normalisation (comités membres
de I’ISO). L’élaboration des Normes internationales est en général
confiée aux comités techniques de I’ISO. Chaque comité membre inté-
ressé par une étude a le droit de faire partie du comité technique créé
à cet effet. Les organisations internationales, gouvernementales et non
gouvernementales, en liaison avec I’ISO participent également aux tra-
vaux. L’ISO collabore étroitement avec la Commission électrotechnique
internationale (CEI) en ce qui concerne la normalisation électrotech-
nique.
Les projets de Normes internationales adoptés par les comités techni-
ques sont soumis aux comités membres pour vote. Leur publication
comme Normes internationales requiert l’approbation de 75 % au moins
des comités membres votants.
La Norme internationale ISO 8406 a été élaborée par le comité techni-
que ISO/TC 29, Petit outillage, sous-comité SC 8, Outillage de presse et
de moulage.
L’annexe A de la présente Norme internationale est donnée uniquement
à titre d’information.
8 ISO 1991
Droits de reproduction réservés. Aucune partie de cette publication ne peut être repro-
duite nt utilisée sous quelque forme que ce soit et par aucun procédé, électronique ou
mécanique, y compris la photocopie et les microfiirns, sans l’accord écrit de l’éditeur.
Organisation internationale de normalisation
Case Postale 56 l CH-1211 Genève 20 l Suisse
Imprimé en Suisse
ii
NORME INTERNATIONALE
Éléments de moules - Plots de centrage
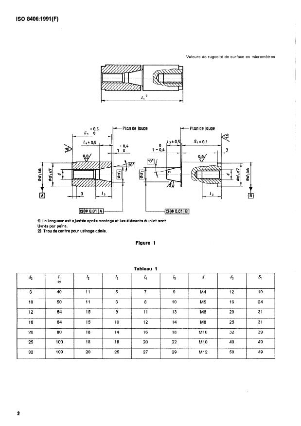
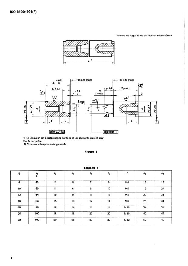
1 Domaine d’application 3 Dimensions
La présente Norme internationale prescrit les di- Voir la figure 1 et le tableau 1.
mensions de base, en millimètres, des plots de
centrage destinés à être montés dans les moules
4 Matériau et dureté correspondante
afin d’assurer un positionnement précis des deux
parties du moule l’une par rapport à l’autre.
Les plots de centrage doivent être fabriqués en
Elle prescrit
...
ISO
NORME
INTERNATIONALE
Première édition
1991-12-01
_. - .- w-- ---
Éléments de moules - Plots de centrage
Mould bases - Locating elements
Numéro de référence
Avant-propos
L’ISO (Organisation internationale de normalisation) est une fédération
mondiale d’organismes nationaux de normalisation (comités membres
de I’ISO). L’élaboration des Normes internationales est en général
confiée aux comités techniques de I’ISO. Chaque comité membre inté-
ressé par une étude a le droit de faire partie du comité technique créé
à cet effet. Les organisations internationales, gouvernementales et non
gouvernementales, en liaison avec I’ISO participent également aux tra-
vaux. L’ISO collabore étroitement avec la Commission électrotechnique
internationale (CEI) en ce qui concerne la normalisation électrotech-
nique.
Les projets de Normes internationales adoptés par les comités techni-
ques sont soumis aux comités membres pour vote. Leur publication
comme Normes internationales requiert l’approbation de 75 % au moins
des comités membres votants.
La Norme internationale ISO 8406 a été élaborée par le comité techni-
que ISO/TC 29, Petit outillage, sous-comité SC 8, Outillage de presse et
de moulage.
L’annexe A de la présente Norme internationale est donnée uniquement
à titre d’information.
8 ISO 1991
Droits de reproduction réservés. Aucune partie de cette publication ne peut être repro-
duite nt utilisée sous quelque forme que ce soit et par aucun procédé, électronique ou
mécanique, y compris la photocopie et les microfiirns, sans l’accord écrit de l’éditeur.
Organisation internationale de normalisation
Case Postale 56 l CH-1211 Genève 20 l Suisse
Imprimé en Suisse
ii
NORME INTERNATIONALE
Éléments de moules - Plots de centrage
1 Domaine d’application 3 Dimensions
La présente Norme internationale prescrit les di- Voir la figure 1 et le tableau 1.
mensions de base, en millimètres, des plots de
centrage destinés à être montés dans les moules
4 Matériau et dureté correspondante
afin d’assurer un positionnement précis des deux
parties du moule l’une par rapport à l’autre.
Les plots de centrage doivent être fabriqués en
Elle prescrit
...












Questions, Comments and Discussion
Ask us and Technical Secretary will try to provide an answer. You can facilitate discussion about the standard in here.
Loading comments...