ISO 11464:1994
(Main)Soil quality — Pretreatment of samples for physico-chemical analyses
Soil quality — Pretreatment of samples for physico-chemical analyses
Specifies the pretreatments required for soil samples that are to be subjected to physico-chemical analyses and describes the five types of pretreatment of samples: drying, crushing, sieving, dividing and milling. The pretreatment procedures described herein are not applicable if they affect the results of the determinations to be made.
Qualité du sol — Prétraitement des échantillons pour analyses physico-chimiques
La présente Norme internationale spécifie les prétraitements nécessaires des échantillons de sol devant être soumis à des analyses physico-chimiques et décrit les cinq types de prétraitement des échantillons: séchage, broyage, tamisage, séparation et pulvérisation. Les méthodes de prétraitement décrites dans la présente Norme internationale ne doivent pas être utilisées si elles affectent les résultats des déterminations à réaliser. En règle générale, les Normes internationales relatives aux méthodes analytiques précisent lorsqu'il est nécessaire d'adopter d'autres façons de procéder.
Kakovost tal - Priprava vzorcev za fizikalno-kemijske analize
General Information
- Status
- Withdrawn
- Publication Date
- 21-Sep-1994
- Withdrawal Date
- 21-Sep-1994
- Technical Committee
- ISO/TC 190/SC 3 - Chemical and physical characterization
- Drafting Committee
- ISO/TC 190/SC 3 - Chemical and physical characterization
- Current Stage
- 9599 - Withdrawal of International Standard
- Start Date
- 30-Jun-2006
- Completion Date
- 12-Feb-2026
Relations
- Effective Date
- 15-Apr-2008
ISO 11464:1994 - Soil quality -- Pretreatment of samples for physico-chemical analyses
ISO 11464:1994 - Qualité du sol -- Prétraitement des échantillons pour analyses physico-chimiques
ISO 11464:1994 - Qualité du sol -- Prétraitement des échantillons pour analyses physico-chimiques
Get Certified
Connect with accredited certification bodies for this standard

NSF International
Global independent organization facilitating standards development and certification.
CIS Institut d.o.o.
Personal Protective Equipment (PPE) certification body. Notified Body NB-2890 for EU Regulation 2016/425 PPE.

Kiwa BDA Testing
Building and construction product certification.
Sponsored listings
Frequently Asked Questions
ISO 11464:1994 is a standard published by the International Organization for Standardization (ISO). Its full title is "Soil quality — Pretreatment of samples for physico-chemical analyses". This standard covers: Specifies the pretreatments required for soil samples that are to be subjected to physico-chemical analyses and describes the five types of pretreatment of samples: drying, crushing, sieving, dividing and milling. The pretreatment procedures described herein are not applicable if they affect the results of the determinations to be made.
Specifies the pretreatments required for soil samples that are to be subjected to physico-chemical analyses and describes the five types of pretreatment of samples: drying, crushing, sieving, dividing and milling. The pretreatment procedures described herein are not applicable if they affect the results of the determinations to be made.
ISO 11464:1994 is classified under the following ICS (International Classification for Standards) categories: 13.080.05 - Examination of soils in general. The ICS classification helps identify the subject area and facilitates finding related standards.
ISO 11464:1994 has the following relationships with other standards: It is inter standard links to ISO 11464:2006. Understanding these relationships helps ensure you are using the most current and applicable version of the standard.
ISO 11464:1994 is available in PDF format for immediate download after purchase. The document can be added to your cart and obtained through the secure checkout process. Digital delivery ensures instant access to the complete standard document.
Standards Content (Sample)
SLOVENSKI STANDARD
01-september-1996
Kakovost tal - Priprava vzorcev za fizikalno-kemijske analize
Soil quality -- Pretreatment of samples for physico-chemical analyses
Qualité du sol -- Prétraitement des échantillons pour analyses physico-chimiques
Ta slovenski standard je istoveten z: ISO 11464:1994
ICS:
13.080.05 Preiskava tal na splošno Examination of soils in
general
2003-01.Slovenski inštitut za standardizacijo. Razmnoževanje celote ali delov tega standarda ni dovoljeno.
INTERNATIONAL ISO
STANDARD 11464
First edition
1994-10-01
Soil quality - Pretreatment of kamples for
physico-Chemical analyses
Qualit6 du sol - Pr6 traitemen t des khantillons pour analyses
physico-chimiques
Reference number
Foreword
ISO (the International Organization for Standardization) is a worldwide
federation of national Standards bodies (ISO member bodies). The work
of preparing International Standards is normally carried out through ISO
technical committees. Esch member body interested in a subject for
which a technical committee has been established has the right to be
represented on that committee. International organizations, governmental
and non-governmental, in liaison with ISO, also take part in the work. ISO
collaborates closely with the International Electrotechnical Commission
(IEC) on all matters of electrotechnical standardization.
Draft International Standards adopted by the technical committees are
circulated to the member bodies for voting. Publication as an International
Standard requires approval by at least 75 % of the member bodies casting
a vote.
International Standard ISO 11464 was prepared by Technical Committee
ISO/TC 190, Soil quality, Subcommittee SC 3, Chemical methods and seil
characteristics.
Annexes A and B of this International Standard are for information only.
0 ISO 1994
All rights reserved. Unless otherwise specified, no part of this publication may be reproduced
or utilized in any form or by any means, electronie or mechanical, including photocopying and
microfilm, without Permission in writing from the publisher.
International Organization for Standardization
Case Postale 56 l CH-l 211 Geneve 20 l Switzerland
Printed in Switzerland
ii
INTERNATIONAL STANDARD 0 ISO ISO 11464:1994(E)
Soil quality - Pretreatment of samples for
physico-Chemical analyses
temperature not exceeding 40 “C, or freeze-dried (see
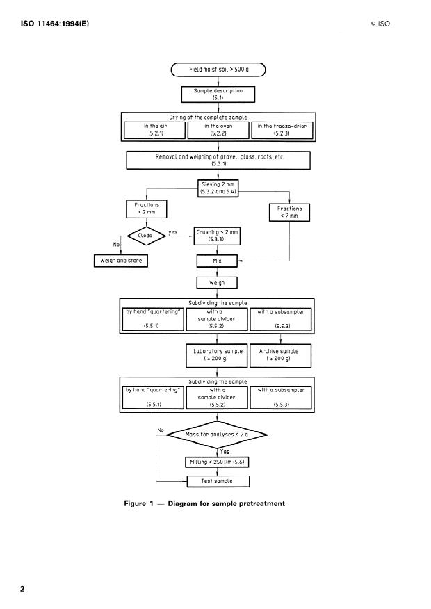
1 Scope
5.2 1. If necessary, the soil Sample is crushed while
still damp and friable and again after drying (see 5.3).
This International Standard specifies the pretreat-
The soil is sieved (see 5.4) and the fraction smaller
ments required for soil samples that are to be sub-
than 2 mm is divided into portions mechanically or by
jected to physico-Chemical analyses and describes the
hand, to enable representative subsampling for analy-
following five types of pretreatment of samples: dry-
sis (see 5.5). If small subsamples (< 2 g) are required
ing, crushing, sieving, dividing and milling.
for analysis, the size of the particles of the fraction
The pretreatment procedures described in this Inter-
smaller than 2 mm is further decreased (see 5.6 1. The
national Standard are not applicable if they affect the
necessary procedures are given in the flow diagram
results of the determinations to be made. In general,
in figure 1.
International Standards for analytical methods will
NOTES
state when it is necessary to adopt other procedures.
1 A drying temperature of 40 “C in an oven is preferable
to air drying at room temperature because the increased
2 Normative reference
Speed of the drying Iimits changes due to microbial activity.
The following Standard contains provisions which,
2 It should be noted that every type of pretreatment will
through reference in this text, constitute provisions
have an influence on several soil properties.
of this International Standard. At the time of publi-
cation, the edition indicated was valid. All Standards
3 Storing soil samples, including samples that are as re-
are subject to revision, and Parties to agreements ceived, air dried, refrigerated or stored in the absence of
light, for a long time may have an influence on a number
based on this International Standard are encouraged
of soil Parameters, especially solubilities of both inorganic
to investigate the possibility of applying the most re-
and organic fractions. See [l].
cent edition of the Standard indicated below. Mem-
bers of IEC and ISO maintain registers of currently
4 Special measures should usually be taken for samples
valid International Standards.
from contaminated soils. lt is important to avoid contact
with the skin and special measures should be taken when
ISO 565:1990, Test sieves - Metal wire cloth, per-
drying such samples (Ventilation, air removal, etc.). Samples
fora ted metal plate and electro formbd sheet - Nom-
may be hazardous because of the presence of Chemical
inal sizes of openings.
contaminants etc., fungal spores, or pathogens such as
leptospirosis, and appropriate safety precautions should be
taken.
3 Principle
5 In this International Standard, it is generally assumed
Soil samples are dried in the air, or in an oven at a
that at least 500 g of fresh soil is available.
FieLd moist seil > 500 g
Sample description
(5.1)
I I
J
Drying of the complete Sample
1 ”1*2.13 ”)1i,
.
RemovaL and weighing of gravel, glass, roots,.etc.
(5.3.1)
.
i
.
Sieving 2 mm
(5.3.2 and 5.4)
y
/ \
1 F;a;,timo;s 1
Fractions
< 2 mm
r-l
Crushing < 2 mm
(5.3.3)
No
Weigh and store
I I
i
Weigh
Im- ~~~ 1
Subdividing the Sample
~~~1
Subdividing the Sample
No
MiLLing < 250 Pm (5.6)
, \
J
Test Sample
Figure 1 - Diagram for Sample pretreatment
0 ISO
have resulted in Segregation of different sized par-
4 Apparatus
ticles) has been carried out.
It is essential that the apparatus used does not add
WARNING - Take special precautions with sam-
or remove any of the substances under investigation
ples from potentially hazardous soil. Avoid any
(e.g. heavy metals). If the use of certain equipment
contact with the skin and make special provisions
and/or materials is not permitted in pretreatment of
concerning drying (discharge of air, Ventilation
samples required for particular physico-Chemical
etc.).
analysis, this should be mentioned in the relevant
International Standards on analysis (see note 6).
NOTES
4.1 Drying oven, thermostatically controlled, with
7 Care should be taken to avoid contamination of the
forced Ventilation, capable of maintaining a tempera- Sample via the air or by dust (e.g. from the ambient labora-
tory atmosphere or between samples stored or processed
ture of 40 “C * 2 “C.
close to one another).
4.2 Freeze-drier, optional.
8 lt is recommended that pretreatment of soil material al-
ways be performed in a separate room used only for this
4.3 Crusher(s), mill(s), mortar and pestle, wooden purpose.
or other soft-faced hammer (see note 6).
9 If the sam ple has a dust-1 ike consistency, part of it may
be lost and th is may alter its physico-Chemical properties.
4.4 Plate sieve, complying with ISO 565, with an
aperture of 2 mm.
5.1 Sample description
4.5 Mechanicai mixer(s).
Examine the Sample as received and record the de-
scription according to a nationally, or preferably inter-
4.6 Mechanical sieve shaker, optional (see note 6).
nationally, accepted terminology, including details of
extraneous matter, remains of Vegetation, and other
4.7 Subsampler or Sample divider, (see note 6).
noticeable or relevant features.
4.8 Mesh sieve, complying with ISO 565, with ap-
5.2 Drying
ertures of 250 Pm or of the size specified in the rel-
evant test method.
Dry the complete Sample in air or in a ventilated dry-
ing oven from which the moist air has been removed
49 . Analytical balance, readable and accurate to or in a freeze dryer. Depending on the Chosen method
of drying, follow the procedure set out in 5.2.1, 5.2.2
011 g*
or 5.2.3. Dry until the loss in mass of the soil Sample
is not greater than 5 % (m/m) per 24 h.
4.10 Balance, readable and accurate to 1 g.
To accelerate the drying process, break down the size
NOTE 6 The apparatus to be used is not specified in de-
of larger clods (greater than 15 mm) during the pro-
tail, although drawings of some suitable items of equipment
are provided in figures A.1 to A.4. Most comparable national cess. When samples are dried in air, crush them
Standards contain detailed equipment specifications and
lightly by hand using a wooden hammer or a mortar
these may be used, provided they meet the basic perform-
and pestle. When samples are dried in an oven, re-
ante requirements indicated in this International Standard.
move them temporarily from the oven and treat them
in the same way. This procedure also makes it easier
to separate the particles greater than 2 mm.
5 Procedure
Freeze-drying has the advantage that the Sample to
The procedures for drying, fraction Separation and size
be dried rarely dries into clods; it usually breaks up
reduction are set out in 5.2 and 5.3. At several st
...
INTERNATIONAL ISO
STANDARD 11464
First edition
1994-10-01
Soil quality - Pretreatment of kamples for
physico-Chemical analyses
Qualit6 du sol - Pr6 traitemen t des khantillons pour analyses
physico-chimiques
Reference number
Foreword
ISO (the International Organization for Standardization) is a worldwide
federation of national Standards bodies (ISO member bodies). The work
of preparing International Standards is normally carried out through ISO
technical committees. Esch member body interested in a subject for
which a technical committee has been established has the right to be
represented on that committee. International organizations, governmental
and non-governmental, in liaison with ISO, also take part in the work. ISO
collaborates closely with the International Electrotechnical Commission
(IEC) on all matters of electrotechnical standardization.
Draft International Standards adopted by the technical committees are
circulated to the member bodies for voting. Publication as an International
Standard requires approval by at least 75 % of the member bodies casting
a vote.
International Standard ISO 11464 was prepared by Technical Committee
ISO/TC 190, Soil quality, Subcommittee SC 3, Chemical methods and seil
characteristics.
Annexes A and B of this International Standard are for information only.
0 ISO 1994
All rights reserved. Unless otherwise specified, no part of this publication may be reproduced
or utilized in any form or by any means, electronie or mechanical, including photocopying and
microfilm, without Permission in writing from the publisher.
International Organization for Standardization
Case Postale 56 l CH-l 211 Geneve 20 l Switzerland
Printed in Switzerland
ii
INTERNATIONAL STANDARD 0 ISO ISO 11464:1994(E)
Soil quality - Pretreatment of samples for
physico-Chemical analyses
temperature not exceeding 40 “C, or freeze-dried (see
1 Scope
5.2 1. If necessary, the soil Sample is crushed while
still damp and friable and again after drying (see 5.3).
This International Standard specifies the pretreat-
The soil is sieved (see 5.4) and the fraction smaller
ments required for soil samples that are to be sub-
than 2 mm is divided into portions mechanically or by
jected to physico-Chemical analyses and describes the
hand, to enable representative subsampling for analy-
following five types of pretreatment of samples: dry-
sis (see 5.5). If small subsamples (< 2 g) are required
ing, crushing, sieving, dividing and milling.
for analysis, the size of the particles of the fraction
The pretreatment procedures described in this Inter-
smaller than 2 mm is further decreased (see 5.6 1. The
national Standard are not applicable if they affect the
necessary procedures are given in the flow diagram
results of the determinations to be made. In general,
in figure 1.
International Standards for analytical methods will
NOTES
state when it is necessary to adopt other procedures.
1 A drying temperature of 40 “C in an oven is preferable
to air drying at room temperature because the increased
2 Normative reference
Speed of the drying Iimits changes due to microbial activity.
The following Standard contains provisions which,
2 It should be noted that every type of pretreatment will
through reference in this text, constitute provisions
have an influence on several soil properties.
of this International Standard. At the time of publi-
cation, the edition indicated was valid. All Standards
3 Storing soil samples, including samples that are as re-
are subject to revision, and Parties to agreements ceived, air dried, refrigerated or stored in the absence of
light, for a long time may have an influence on a number
based on this International Standard are encouraged
of soil Parameters, especially solubilities of both inorganic
to investigate the possibility of applying the most re-
and organic fractions. See [l].
cent edition of the Standard indicated below. Mem-
bers of IEC and ISO maintain registers of currently
4 Special measures should usually be taken for samples
valid International Standards.
from contaminated soils. lt is important to avoid contact
with the skin and special measures should be taken when
ISO 565:1990, Test sieves - Metal wire cloth, per-
drying such samples (Ventilation, air removal, etc.). Samples
fora ted metal plate and electro formbd sheet - Nom-
may be hazardous because of the presence of Chemical
inal sizes of openings.
contaminants etc., fungal spores, or pathogens such as
leptospirosis, and appropriate safety precautions should be
taken.
3 Principle
5 In this International Standard, it is generally assumed
Soil samples are dried in the air, or in an oven at a
that at least 500 g of fresh soil is available.
FieLd moist seil > 500 g
Sample description
(5.1)
I I
J
Drying of the complete Sample
1 ”1*2.13 ”)1i,
.
RemovaL and weighing of gravel, glass, roots,.etc.
(5.3.1)
.
i
.
Sieving 2 mm
(5.3.2 and 5.4)
y
/ \
1 F;a;,timo;s 1
Fractions
< 2 mm
r-l
Crushing < 2 mm
(5.3.3)
No
Weigh and store
I I
i
Weigh
Im- ~~~ 1
Subdividing the Sample
~~~1
Subdividing the Sample
No
MiLLing < 250 Pm (5.6)
, \
J
Test Sample
Figure 1 - Diagram for Sample pretreatment
0 ISO
have resulted in Segregation of different sized par-
4 Apparatus
ticles) has been carried out.
It is essential that the apparatus used does not add
WARNING - Take special precautions with sam-
or remove any of the substances under investigation
ples from potentially hazardous soil. Avoid any
(e.g. heavy metals). If the use of certain equipment
contact with the skin and make special provisions
and/or materials is not permitted in pretreatment of
concerning drying (discharge of air, Ventilation
samples required for particular physico-Chemical
etc.).
analysis, this should be mentioned in the relevant
International Standards on analysis (see note 6).
NOTES
4.1 Drying oven, thermostatically controlled, with
7 Care should be taken to avoid contamination of the
forced Ventilation, capable of maintaining a tempera- Sample via the air or by dust (e.g. from the ambient labora-
tory atmosphere or between samples stored or processed
ture of 40 “C * 2 “C.
close to one another).
4.2 Freeze-drier, optional.
8 lt is recommended that pretreatment of soil material al-
ways be performed in a separate room used only for this
4.3 Crusher(s), mill(s), mortar and pestle, wooden purpose.
or other soft-faced hammer (see note 6).
9 If the sam ple has a dust-1 ike consistency, part of it may
be lost and th is may alter its physico-Chemical properties.
4.4 Plate sieve, complying with ISO 565, with an
aperture of 2 mm.
5.1 Sample description
4.5 Mechanicai mixer(s).
Examine the Sample as received and record the de-
scription according to a nationally, or preferably inter-
4.6 Mechanical sieve shaker, optional (see note 6).
nationally, accepted terminology, including details of
extraneous matter, remains of Vegetation, and other
4.7 Subsampler or Sample divider, (see note 6).
noticeable or relevant features.
4.8 Mesh sieve, complying with ISO 565, with ap-
5.2 Drying
ertures of 250 Pm or of the size specified in the rel-
evant test method.
Dry the complete Sample in air or in a ventilated dry-
ing oven from which the moist air has been removed
49 . Analytical balance, readable and accurate to or in a freeze dryer. Depending on the Chosen method
of drying, follow the procedure set out in 5.2.1, 5.2.2
011 g*
or 5.2.3. Dry until the loss in mass of the soil Sample
is not greater than 5 % (m/m) per 24 h.
4.10 Balance, readable and accurate to 1 g.
To accelerate the drying process, break down the size
NOTE 6 The apparatus to be used is not specified in de-
of larger clods (greater than 15 mm) during the pro-
tail, although drawings of some suitable items of equipment
are provided in figures A.1 to A.4. Most comparable national cess. When samples are dried in air, crush them
Standards contain detailed equipment specifications and
lightly by hand using a wooden hammer or a mortar
these may be used, provided they meet the basic perform-
and pestle. When samples are dried in an oven, re-
ante requirements indicated in this International Standard.
move them temporarily from the oven and treat them
in the same way. This procedure also makes it easier
to separate the particles greater than 2 mm.
5 Procedure
Freeze-drying has the advantage that the Sample to
The procedures for drying, fraction Separation and size
be dried rarely dries into clods; it usually breaks up
reduction are set out in 5.2 and 5.3. At several stages
into Parts.
in the procedure, the analyst will be required to make
decisions, referring in particular to whether size frac-
5.2.1 In air
tions are to be combined or treated separately: this
will depend on the nature of the soil and the objec-
Spread all the material, in a layer not thicker than
tives of the analytical Programme.
15 mm, on a tray which does not absorb any moisture
shall from the soil and which does not Cause
...
NORME
ISO
INTERNATIONALE
Premiére édition
1994-l O-OI
Qualité du sol - Prétraitement des
échantillons pour analyses
physico-chimiques
Soi/ quality - Pretreatment of samples for ph ysico-chemical analyses
Numéro de référence
ISO 11464: 1994(F)
Avant-propos
L’ISO (Organisation internationale de normalisation) est une fedération
mondiale d’organismes nationaux de normalisation (comités membres de
I’ISO). L’élaboration des Normes internationales est en général confiée aux
comités techniques de I’ISO. Chaque comite membre intéressé par une
étude a le droit de faire partie du comité technique créé a cet effet. Les
organisations internationales, gouvernementales et non gouvernemen-
tales, en liaison avec I’ISO participent également aux travaux. L’ISO colla-
bore étroitement avec la Commission électrotechnique internationale (CEI)
en ce qui concerne la normalisation électrotechnique.
Les projets de Normes internationales adoptés par les comités techniques
sont soumis aux comités membres pour vote. Leur publication comme
Normes internationales requiert l’approbation de 75 % au moins des co-
mités membres votants.
La Norme internationale ISO 11464 a été élaborée par le comité technique
lSO/TC 190, Qualit du sol, sous-comité SC 3, Méthodes chimiques et
caractéristiques du sol.
Les annexes A et B de la présente Norme internationale sont données
uniquement a titre d’information.
0 ISO 1994
Droits de reproduction réservés. Sauf prescription différente, aucune partie de cette publi-
cation ne peut être reproduite ni utilisée sous quelque forme que ce soit et par aucun pro-
cédé, électronique ou mécanique, y compris la photocopie et les microfilms, sans l’accord
écrit de l’éditeur.
Organisation internationale de normalisation
Case Postale 56 l CH-l 211 Genève 20 l Suisse
Imprimé en Suisse
ii
NORME INTERNATIONALE 0 ISO ISO 11464:1994(F)
Qualité du sol - Prétraitement des échantillons pour
analyses physico-chimiques
etuve dont la température ne dépasse pas 40 “C, ou
1 Domaine d’application
encore ils sont lyophilisés (voir 5.2). Au besoin,
l’échantillon de sol est broyé, alors qu’il est encore
Norme internationale spécifie les
La présente
humide et friable, et à nouveau après le séchage (voir
prétraitements nécessaires des échantillons de sol
5.3). Le sol est tamisé (voir 5.4) et la fraction infé-
devant être soumis a des analyses physico-chimiques
rieure a 2 mm est séparée par des moyens mécani-
et décrit les cinq types de prétraitement des échan-
ques ou à la main en portions permettant un
tillons: séchage, broyage, tamisage, séparation et
sous-échantillonnage représentatif pour les analyses
pulvérisation.
(voir 5.5). Si les analyses exigent un sous-
Les méthodes de prétraitement décrites dans la pré-
échantillonnage plus petit (< 2 g), il faut réduire en-
sente Norme internationale ne doivent pas être utili-
core plus les particules de la fraction inférieure à
sées si elles affectent les résultats des
2 mm (voir 5.6). Le schéma fonctionnel de la figure 1
déterminations à réaliser. En règle générale, les Nor-
indique les methodes nécessaires.
mes internationales relatives aux méthodes analyti-
NOTES
ques précisent lorsqu’il est nécessaire d’adopter
d’autres façons de procéder.
1 Un séchage a l’étuve à 40 “C sera effectue de préfé-
rence à un séchage à l’air a la température ambiante, du fait
que la rapidité du séchage limite les variations dues a I’ac-
2 Référence normative
tivité microbienne.
La norme suivante contient des dispositions qui, par
2 II faut noter que chaque type de prétraitement a des ré-
suite de la référence qui en est faite, constituent des
percussions sur diverses caractéristiques du sol.
dispositions valables pour la présente Norme interna-
tionale. Au moment de la publication, l’édition indi-
3 La conservation longue d’échantillons de sol incluant les
quée était en vigueur. Toute norme est sujette à
échantillons tels qu’ils sont reçus, séchés a l’air, réfrigérés
révision et les parties prenantes des accords fondés ou conserves en l’absence de lumière, peut avoir une in-
fluence sur un certain nombre de paramètres du sol, en
sur la présente Norme internationale sont invitées a
particulier sur la solubilité des fractions inorganiques et or-
rechercher la possibilité d’appliquer l’édition la plus
ganiques. Voir [Il.
récente de la norme indiquée ci-après. Les membres
de la CEI et de I’ISO possèdent le-registre des Nor-
4 II faut prendre des mesures spéciales pour les échan-
mes internationales en vigueur à un moment donné.
tillons provenant de sols contamines. II importe d’éviter tout
contact avec la peau et de prendre des mesures particu-
ISO 565:1990, Tamis de contrôle - Tissus mhalli-
lières pour le séchage desdits échantillons (ventilation, éva-
tôles métalliques perforées et feuilles
ques,
cuation de l’air, etc.). Les échantillons pouvant être
électroformées - Dimensions nominales des ouver-
dangereux en raison de la présence de contaminants chi-
miques, etc., de spores fongiques ou de pathogénes tels
tures.
que les leptospires, doivent être manipules avec toutes les
mesures de sécurité qui s’imposent.
3 Principe
5 Dans le cadre de la présente Norme internationale, il faut
Les échantillons de sol sont séchés à l’air ou dans une disposer d’au moins 500 g de sol frais.
( Humidite du sol sur site > 500 g )
,
Description de l’&hantillon
(5.1)
J
Sechage de la totalité de l’échantillon
[[[[11”‘“::2:^‘“‘“‘0”‘1
Élimination et tamisage des materiaux grossiers, verres! racines, etc.
(5.3.1)
I I
G
Tamisage 2 mm
(5.3.2 et 5.4)
Fractions
> 2 mm
.
Reduction < 2 mm
(5.3.3)
NON
f
,
\
Peser et conserver
Melange -
.
. 4
I
Pesée
I
Sous-echantillonnage
~I~IIl
Sous-echantillonnage
~1~1~1
NON
,
Broyage < 250pm (5.6)
J1
,
-A khantillon pour essai
Figure 1 - Diagramme pour le prétraitement de l’échantillon
0 ISO
dimensions, en fonction de la nature et des objectifs
4 Appareillage
du programme d’analyse.
II est essentiel que l’appareillage utilise n’ajoute pas
Apres tous travaux de séparation, de tamisage, de
ou n’éiimine pas de substances en cours de recher-
broyage ou de pulvérisation (pouvant provoquer la
che (par exemple, des métaux lourds). Toute interdic-
ségrégation des particules de différentes dimensions),
tion d’emploi de certains types d’équipements et/ou
l’échantillon doit être homogénéisé à nouveau.
de matériaux pour le prétraitement des échantillons
nécessaires aux analyses physico-chimiques doit être
AVERTISSEMENT - Prendre des précautions par-
précisée dans les Normes internationales appropriees
ticulières avec les échantillons provenant de sols
relatives aux analyses (voir note 6).
potentiellement dangereux. Éviter tout contact
avec la peau et prendre des mesures spéciales en
4.1 Étuve, a thermostat de contrôle et ventilation
ce qui concerne le séchage (évacuation de l’air,
forcée capable de maintenir une température de
ventilation, etc.).
40 “C + 2 “C.
NOTES
4.2 Lyophilisateur, facultatif.
7 Prendre soin d’éviter toute contamination de I’échan-
tillon par l’air ou la poussière (par exemple, par l’air ambiant
4.3 Broyeur(s), moulin(s), mortier et pilon, maillet a
du laboratoire ou par d’autres échantillons conserves ou
tête en bois ou autres matériaux tendres (voir note
traites les uns à coté des autres).
6) .
8 II est conseille de toujours effectuer le prétraitement des
prélèvements de sol dans une piéce séparée, réservée à cet
4.4 Plateau perforé, conformément a I’ISO 565,
effet.
avec des trous carrés de 2 mm.
9 Un échantillon poussiéreux peut subir une perte partielle
45 . Mélangeur(s) mécanique(s).
de substance pouvant modifier ses propriétés physico-
chimiques.
46 Agitateur mécanique pour le tamis, facultatif
.
(voir note 6).
5.1 Description de l’échantillon
4.7 Sous-échantillonnage ou appareil pour sépa-
Examiner l’échantillon tel qu’il a été reçu et noter la
rer l’échantillon, (voir note 6).
description selon une terminologie acceptée nationale
ou de préférence internationale. Noter, en particulier,
4.8 Tamis à mailles de 250 prn, conformément a
la présence de matiéres étrangères, restes de végé-
I’ISO 565 ou d’une dimension précisée dans la mé-
tation et autres caractéristiques notables et impor-
thode d’essai qui s’y rapporte.
tantes.
4.9 Balance analytique, lisible et précise a 0,l g.
5.2 Séchage
4.10 Balance, lisible et précise a 1 g.
Sécher l’échantillon complet à l’air ou dans une étuve
ventilée dépourvue de tout air humide ou dans un
NOTE 6 L’appareillage à utiliser n’est pas précisé en dé-
appareil à lyophiliser. Compte tenu de la méthode de
tail, cependant, les figures A.1 à A.4 (voir annexe A) illus-
trent certains types d’équipements convenant a ces séchage choisie, suivre le mode opératoire préconisé
analyses. On peut trouver dans les normes nationales les
en 5.2.1, 5.2.2 ou 5.2.3. Sécher jusqu’à ce que la
plus comparables des spécifications détaillées d’équi-
perte de masse de l’échantillon de sol ne soit pas
pements qui peuvent servir, sous réserve qu’elles répon-
supérieure à 5 % (m/m) par 24 h.
dent aux exigences fonctionnelles de base stipulées par la
présente Norme internationale.
Pour accélérer le processus de séchage, diminuer la
dimension des mottes les plus grosses (supérieures
à 15 mm), en cours de séchage. Pour les échantillons
5 Mode opératoire
séchés a l’air, les écraser légèrement à la main, à
La méthode a suivre pour le séchage, la séparation l’aide d’un maillet en bois ou dans un mortier et pilon.
en fraction et la réduction dimensionnelle est indiquée Pour les échantillons séchés dans un four, les retirer
ci-dessous. A diverses étapes du processus, I’ana- un moment du four et les traiter de la même manier-e.
lyste doit prendre des décisions quant à la combinai- Cette opération facilite également la séparation des
son ou au traitement séparé de fractions de mêmes
particules plus grosses que 2 mm.
0 ISO
NOTE 12 Si l’échantillon étudié appartient a un sol ou à
La lyophilisation interdit pratiquement tout séchage
des déchets contaminés, l’analyste peut vouloir le
...
NORME
ISO
INTERNATIONALE
Premiére édition
1994-l O-OI
Qualité du sol - Prétraitement des
échantillons pour analyses
physico-chimiques
Soi/ quality - Pretreatment of samples for ph ysico-chemical analyses
Numéro de référence
ISO 11464: 1994(F)
Avant-propos
L’ISO (Organisation internationale de normalisation) est une fedération
mondiale d’organismes nationaux de normalisation (comités membres de
I’ISO). L’élaboration des Normes internationales est en général confiée aux
comités techniques de I’ISO. Chaque comite membre intéressé par une
étude a le droit de faire partie du comité technique créé a cet effet. Les
organisations internationales, gouvernementales et non gouvernemen-
tales, en liaison avec I’ISO participent également aux travaux. L’ISO colla-
bore étroitement avec la Commission électrotechnique internationale (CEI)
en ce qui concerne la normalisation électrotechnique.
Les projets de Normes internationales adoptés par les comités techniques
sont soumis aux comités membres pour vote. Leur publication comme
Normes internationales requiert l’approbation de 75 % au moins des co-
mités membres votants.
La Norme internationale ISO 11464 a été élaborée par le comité technique
lSO/TC 190, Qualit du sol, sous-comité SC 3, Méthodes chimiques et
caractéristiques du sol.
Les annexes A et B de la présente Norme internationale sont données
uniquement a titre d’information.
0 ISO 1994
Droits de reproduction réservés. Sauf prescription différente, aucune partie de cette publi-
cation ne peut être reproduite ni utilisée sous quelque forme que ce soit et par aucun pro-
cédé, électronique ou mécanique, y compris la photocopie et les microfilms, sans l’accord
écrit de l’éditeur.
Organisation internationale de normalisation
Case Postale 56 l CH-l 211 Genève 20 l Suisse
Imprimé en Suisse
ii
NORME INTERNATIONALE 0 ISO ISO 11464:1994(F)
Qualité du sol - Prétraitement des échantillons pour
analyses physico-chimiques
etuve dont la température ne dépasse pas 40 “C, ou
1 Domaine d’application
encore ils sont lyophilisés (voir 5.2). Au besoin,
l’échantillon de sol est broyé, alors qu’il est encore
Norme internationale spécifie les
La présente
humide et friable, et à nouveau après le séchage (voir
prétraitements nécessaires des échantillons de sol
5.3). Le sol est tamisé (voir 5.4) et la fraction infé-
devant être soumis a des analyses physico-chimiques
rieure a 2 mm est séparée par des moyens mécani-
et décrit les cinq types de prétraitement des échan-
ques ou à la main en portions permettant un
tillons: séchage, broyage, tamisage, séparation et
sous-échantillonnage représentatif pour les analyses
pulvérisation.
(voir 5.5). Si les analyses exigent un sous-
Les méthodes de prétraitement décrites dans la pré-
échantillonnage plus petit (< 2 g), il faut réduire en-
sente Norme internationale ne doivent pas être utili-
core plus les particules de la fraction inférieure à
sées si elles affectent les résultats des
2 mm (voir 5.6). Le schéma fonctionnel de la figure 1
déterminations à réaliser. En règle générale, les Nor-
indique les methodes nécessaires.
mes internationales relatives aux méthodes analyti-
NOTES
ques précisent lorsqu’il est nécessaire d’adopter
d’autres façons de procéder.
1 Un séchage a l’étuve à 40 “C sera effectue de préfé-
rence à un séchage à l’air a la température ambiante, du fait
que la rapidité du séchage limite les variations dues a I’ac-
2 Référence normative
tivité microbienne.
La norme suivante contient des dispositions qui, par
2 II faut noter que chaque type de prétraitement a des ré-
suite de la référence qui en est faite, constituent des
percussions sur diverses caractéristiques du sol.
dispositions valables pour la présente Norme interna-
tionale. Au moment de la publication, l’édition indi-
3 La conservation longue d’échantillons de sol incluant les
quée était en vigueur. Toute norme est sujette à
échantillons tels qu’ils sont reçus, séchés a l’air, réfrigérés
révision et les parties prenantes des accords fondés ou conserves en l’absence de lumière, peut avoir une in-
fluence sur un certain nombre de paramètres du sol, en
sur la présente Norme internationale sont invitées a
particulier sur la solubilité des fractions inorganiques et or-
rechercher la possibilité d’appliquer l’édition la plus
ganiques. Voir [Il.
récente de la norme indiquée ci-après. Les membres
de la CEI et de I’ISO possèdent le-registre des Nor-
4 II faut prendre des mesures spéciales pour les échan-
mes internationales en vigueur à un moment donné.
tillons provenant de sols contamines. II importe d’éviter tout
contact avec la peau et de prendre des mesures particu-
ISO 565:1990, Tamis de contrôle - Tissus mhalli-
lières pour le séchage desdits échantillons (ventilation, éva-
tôles métalliques perforées et feuilles
ques,
cuation de l’air, etc.). Les échantillons pouvant être
électroformées - Dimensions nominales des ouver-
dangereux en raison de la présence de contaminants chi-
miques, etc., de spores fongiques ou de pathogénes tels
tures.
que les leptospires, doivent être manipules avec toutes les
mesures de sécurité qui s’imposent.
3 Principe
5 Dans le cadre de la présente Norme internationale, il faut
Les échantillons de sol sont séchés à l’air ou dans une disposer d’au moins 500 g de sol frais.
( Humidite du sol sur site > 500 g )
,
Description de l’&hantillon
(5.1)
J
Sechage de la totalité de l’échantillon
[[[[11”‘“::2:^‘“‘“‘0”‘1
Élimination et tamisage des materiaux grossiers, verres! racines, etc.
(5.3.1)
I I
G
Tamisage 2 mm
(5.3.2 et 5.4)
Fractions
> 2 mm
.
Reduction < 2 mm
(5.3.3)
NON
f
,
\
Peser et conserver
Melange -
.
. 4
I
Pesée
I
Sous-echantillonnage
~I~IIl
Sous-echantillonnage
~1~1~1
NON
,
Broyage < 250pm (5.6)
J1
,
-A khantillon pour essai
Figure 1 - Diagramme pour le prétraitement de l’échantillon
0 ISO
dimensions, en fonction de la nature et des objectifs
4 Appareillage
du programme d’analyse.
II est essentiel que l’appareillage utilise n’ajoute pas
Apres tous travaux de séparation, de tamisage, de
ou n’éiimine pas de substances en cours de recher-
broyage ou de pulvérisation (pouvant provoquer la
che (par exemple, des métaux lourds). Toute interdic-
ségrégation des particules de différentes dimensions),
tion d’emploi de certains types d’équipements et/ou
l’échantillon doit être homogénéisé à nouveau.
de matériaux pour le prétraitement des échantillons
nécessaires aux analyses physico-chimiques doit être
AVERTISSEMENT - Prendre des précautions par-
précisée dans les Normes internationales appropriees
ticulières avec les échantillons provenant de sols
relatives aux analyses (voir note 6).
potentiellement dangereux. Éviter tout contact
avec la peau et prendre des mesures spéciales en
4.1 Étuve, a thermostat de contrôle et ventilation
ce qui concerne le séchage (évacuation de l’air,
forcée capable de maintenir une température de
ventilation, etc.).
40 “C + 2 “C.
NOTES
4.2 Lyophilisateur, facultatif.
7 Prendre soin d’éviter toute contamination de I’échan-
tillon par l’air ou la poussière (par exemple, par l’air ambiant
4.3 Broyeur(s), moulin(s), mortier et pilon, maillet a
du laboratoire ou par d’autres échantillons conserves ou
tête en bois ou autres matériaux tendres (voir note
traites les uns à coté des autres).
6) .
8 II est conseille de toujours effectuer le prétraitement des
prélèvements de sol dans une piéce séparée, réservée à cet
4.4 Plateau perforé, conformément a I’ISO 565,
effet.
avec des trous carrés de 2 mm.
9 Un échantillon poussiéreux peut subir une perte partielle
45 . Mélangeur(s) mécanique(s).
de substance pouvant modifier ses propriétés physico-
chimiques.
46 Agitateur mécanique pour le tamis, facultatif
.
(voir note 6).
5.1 Description de l’échantillon
4.7 Sous-échantillonnage ou appareil pour sépa-
Examiner l’échantillon tel qu’il a été reçu et noter la
rer l’échantillon, (voir note 6).
description selon une terminologie acceptée nationale
ou de préférence internationale. Noter, en particulier,
4.8 Tamis à mailles de 250 prn, conformément a
la présence de matiéres étrangères, restes de végé-
I’ISO 565 ou d’une dimension précisée dans la mé-
tation et autres caractéristiques notables et impor-
thode d’essai qui s’y rapporte.
tantes.
4.9 Balance analytique, lisible et précise a 0,l g.
5.2 Séchage
4.10 Balance, lisible et précise a 1 g.
Sécher l’échantillon complet à l’air ou dans une étuve
ventilée dépourvue de tout air humide ou dans un
NOTE 6 L’appareillage à utiliser n’est pas précisé en dé-
appareil à lyophiliser. Compte tenu de la méthode de
tail, cependant, les figures A.1 à A.4 (voir annexe A) illus-
trent certains types d’équipements convenant a ces séchage choisie, suivre le mode opératoire préconisé
analyses. On peut trouver dans les normes nationales les
en 5.2.1, 5.2.2 ou 5.2.3. Sécher jusqu’à ce que la
plus comparables des spécifications détaillées d’équi-
perte de masse de l’échantillon de sol ne soit pas
pements qui peuvent servir, sous réserve qu’elles répon-
supérieure à 5 % (m/m) par 24 h.
dent aux exigences fonctionnelles de base stipulées par la
présente Norme internationale.
Pour accélérer le processus de séchage, diminuer la
dimension des mottes les plus grosses (supérieures
à 15 mm), en cours de séchage. Pour les échantillons
5 Mode opératoire
séchés a l’air, les écraser légèrement à la main, à
La méthode a suivre pour le séchage, la séparation l’aide d’un maillet en bois ou dans un mortier et pilon.
en fraction et la réduction dimensionnelle est indiquée Pour les échantillons séchés dans un four, les retirer
ci-dessous. A diverses étapes du processus, I’ana- un moment du four et les traiter de la même manier-e.
lyste doit prendre des décisions quant à la combinai- Cette opération facilite également la séparation des
son ou au traitement séparé de fractions de mêmes
particules plus grosses que 2 mm.
0 ISO
NOTE 12 Si l’échantillon étudié appartient a un sol ou à
La lyophilisation interdit pratiquement tout séchage
des déchets contaminés, l’analyste peut vouloir le
...
















Questions, Comments and Discussion
Ask us and Technical Secretary will try to provide an answer. You can facilitate discussion about the standard in here.
Loading comments...