ISO 4209-2:1987
(Main)Truck and bus tyres and rims (metric series) — Part 2: Rims
Truck and bus tyres and rims (metric series) — Part 2: Rims
Pneumatiques et jantes pour véhicules utilitaires (séries millimétriques) — Partie 2: Jantes
General Information
- Status
- Withdrawn
- Publication Date
- 20-May-1987
- Withdrawal Date
- 20-May-1987
- Technical Committee
- ISO/TC 31/SC 4 - Truck and bus tyres and rims
- Drafting Committee
- ISO/TC 31/SC 4 - Truck and bus tyres and rims
- Current Stage
- 9599 - Withdrawal of International Standard
- Start Date
- 04-Nov-1993
- Completion Date
- 12-Feb-2026
Relations
- Effective Date
- 15-Apr-2008
Get Certified
Connect with accredited certification bodies for this standard

TÜV Rheinland
TÜV Rheinland is a leading international provider of technical services.

TÜV SÜD
TÜV SÜD is a trusted partner of choice for safety, security and sustainability solutions.
AIAG (Automotive Industry Action Group)
American automotive industry standards and training.
Sponsored listings
Frequently Asked Questions
ISO 4209-2:1987 is a standard published by the International Organization for Standardization (ISO). Its full title is "Truck and bus tyres and rims (metric series) — Part 2: Rims". This standard covers: Truck and bus tyres and rims (metric series) — Part 2: Rims
Truck and bus tyres and rims (metric series) — Part 2: Rims
ISO 4209-2:1987 is classified under the following ICS (International Classification for Standards) categories: 43.040.50 - Transmissions, suspensions. The ICS classification helps identify the subject area and facilitates finding related standards.
ISO 4209-2:1987 has the following relationships with other standards: It is inter standard links to ISO 4209-2:1993. Understanding these relationships helps ensure you are using the most current and applicable version of the standard.
ISO 4209-2:1987 is available in PDF format for immediate download after purchase. The document can be added to your cart and obtained through the secure checkout process. Digital delivery ensures instant access to the complete standard document.
Standards Content (Sample)
IS0
INTERNATIONAL STANDARD
4209-2
First edition
1987-06-01
INTERNATIONAL ORGANIZATION FOR STANDARDIZATION
ORGANISATION INTERNATIONALE DE NORMALISATION
MEXAYHAPOAHAR OPrAHM3AuMR il0 CTAHAAPTM3AuMM
Truck and bus tyres and rims (metric series) -
Part 2 :
Rims
Pneumatiques et jantes pour véhicules utilitaires (séries millimétriques1 -
Partie 2 : Jantes
Reference number
IS0 4209-2 : 1987 (E)
Foreword
IS0 (the International Organization for Standardization) is a worldwide federation of
national standards bodies (IS0 member bodies). The work of preparing International
out through IS0 technical committees. Each member
Standards is normally carried
body interested in a subject for which a technical committee has been established has
the right to be represented on that committee. International organizations, govern-
mental and non-governmental, in liaison with ISO, also take part in the work.
Draft International Standards adopted by the technical committees are circulated to
the member bodies for approval before their acceptance as International Standards by
the IS0 Council. They are approved in accordance with IS0 procedures requiring at
75 % approval by the member bodies voting.
least
IS0 4209-2 was prepared by Technical Committee ISO/,TC 31,
International Standard
Tyres, rims and valves.
Users should note that all International Standards undergo revision from time to time
and that any reference made herein to any other International Standard implies its
latest edition, unless otherwise stated.
O International Organization for Standardization, 1987 0
Printed in Switzerland
~~
INTERNATIONAL STAN DARD IS0 4209-2 : 1987 (E)
Truck and bus tyres and rims (metric series) -
Part 2 :
Rims
O
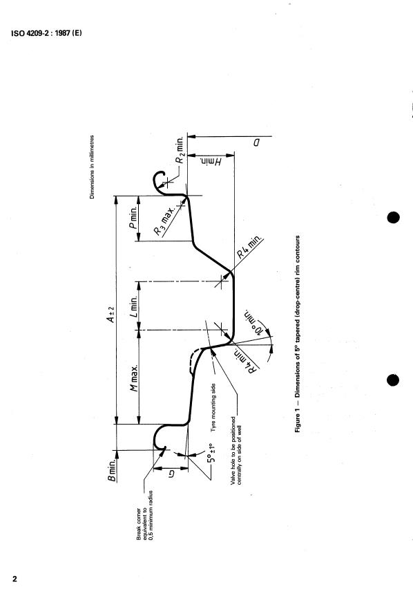
3 5O tapered (drop-centre) rims
1 Scope and field of application
IS0 4209 establishes the designation, dimensions and load
3.1 Rim flange
ratings of metric series of tyres and the designation and dimen-
sions of rims primarily intended for trucks and buses.
Rim flange designations are given in table 1.
Tyre designations, dimensions and load ratings are given in
IS0 4209-1.
Table 1 - Rim flanges
This part of IS0 4209 specifies the designations, contours and
dimensions of drop-centre (one-piece) rims.
I Nominal rim diameter 1 Rim flange') I
13 and smaller
The rim dimensions are those rim contour dimensions
necessary for mounting and fitment of the tyre to the rim.
For special service conditions, higher rim flanges may be used.
1)
2 References
IS0 391 1, Wheels/rims - Nomenclature, designation, mark-
ing, and units of measurement. 3.2 Rim contours
IS0 4209-1, Truck and bus tyres and rims (metric series) - Dimensions and tolerances of the rims are given in figure 1 and
table 2.
Part 1 : Tyres.
E)
IS0 4209-2 1987
v)
Y
.- E
- -
'Ë
C
.-
v)
O
.-
E
E
.-
n
E
J
O
*,
E
O
O
E
.-
L
N
+I
U
T
$
P
m
*,
ih
rc
O
I
F
m
iI
c
.-
E
ac
IS0 4209-2 : 1987 (E)
Table 2 - Dimensions of 5O tapered (drop-centre) rim contours
Dimensions in millimetres
- - - - -
M
Rim size B G P H L
R2 R3
min. min. min. max. min. max.
designation min.
- -
12 x 3.50 B
13 x 3.50 B
15.0
12 x 4.00 B
13 x 4.00 B
12 x 4.50 B
114,5
13 x 4.50 B 14,O
10,o 16,5 4.5
7,5
+OB
12 x 5.00 B
127,O
13 x 5.00 B
19,8
12 x 5.50 B
140,o
13 x 5.50 B
12 x 6.00 B
152,5
13 x 6.00 B
-
14 x 3 1/2 J
15 x 3 1/2 J
15,7 19,0
14 x 4J
101,5
15 x 4J
16 x 4J
14 x 4 1/2 J
15 x 4 1/2J 114,5
16 x 4 1/2 J
14 x 5J
15 x 5J 127,O
16 x 5J
14 x 5 1/2 J
15 x 5 1/2 J 140,O
1/2 J
16 x 5
-
17,8
14 x 6J
10.9 17,3 9.0
152,5 IO,9
15 x 6J
...
IS0
NORME INTERNATIONALE
4209-2
Premiére édition
1987-06-01
INTERNATIONAL ORGANIZATION FOR STANDARDIZATION
ORGANISATION INTERNATIONALE DE NORMALISATION
MEXflYHAPOflHAR OPrAHMSAiplR il0 CTAHAAPTMSAl&lM
Pneumatiques et jantes pour véhicules utilitaires
(séries mil I i m ét ri q u es 1 -
Partie 2 :
Jantes
Truck and bus tyres and rims (metric series) -
Part 2 : Rims
Numéro de référence
IS0 4209-2 : 1987 (F)
Avant-propos
L‘ISO (Organisation internationale de normalisation) est une fédération mondiale
d’organismes nationaux de normalisation (comités membres de I’ISO). L‘élaboration
des Normes internationales est normalement confiée aux comités techniques de I‘ISO.
Chaque comité membre intéressé par une étude a le droit de faire partie du comité
technique créé à cet effet. Les organisations internationales, gouvernementales et non
gouvernementales, en liaison avec I’ISO participent également aux travaux.
Les projets de Normes internationales adoptés par les comités techniques sont soumis
aux comités membres pour approbation, avant leur acceptation comme Normes inter-
nationales par le Conseil de I‘ISO. Les Normes internationales sont approuvées confor-
mément aux procédures de I’ISO qui requièrent l’approbation de 75 % au moins des
comités membres votants.
La Norme internationale IS0 4209-2 a été élaborée par le comité technique ISO/PC 31,
Pneus, jantes et valves.
L’attention des utilisateurs est attirée sur le fait que toutes les Normes internationales
sont de temps en temps soumises à révision et que toute référence faite à une autre
Norme internationale dans le présent document implique qu’il s’agit, sauf indication
contraire, de la dernière édition.
@ Organisation internationale de normalisation, 1987 O
IS0 4209-2 : 1987 (F)
NORME INTERNATIONALE
Pneumatiques et jantes pour véhicules utilitaires
(séries millimétriques) -
Partie 2 :
Jantes
e
1 Objet et domaine d'application 3 Jantes (à base creuse) coniques à 5O
L'ISO 4209 établit la désignation et fixe les cotes et les valeurs
3.1 Rebord de jante
de charge des pneumatiques et établit la désignation et fixe les
cotes des jantes des séries millimétriques, principalement desti-
L~~ types de rebord de jante donnés dans le tableau 1.
nés aux véhicules utilitaires.
La désignation, les cotes et les capacités de charge des pneu-
1'1S0 4209-1.
matiques sont données dans
Tableau 1 - Types de rebord de jante
La présente partie de I'ISO 4209 établit la désignation, spécifie
Rebord de jantel)
les profils et fixe les cotes des jantes à base creuse (en une
pièce).
Les cotes des jantes sont les cotes du profil de jante nécessaires
au montage et à la tenue du pneumatique sur la jante.
1) Pour des conditions d'utilisation spéciale, des rebords de jante plus
hauts peuvent être utilisés.
2 Références
IS0 391 1, Rouedjantes - Nomenclature, désignation, mar-
3.2 Profil des jantes
quage et unités de mesure.
IS0 4209-1, Pneumatiques et jantes pour véhicules utilitaires Les cotes et les tolérances des jantes sont indiquées à la
(séries millimétriques) - Partie I : Pneumatiques. figure 1 et dans le tableau 2.
)I
L
a
u,
trn
v)
Q
J
U
.-
C
O
O
0)
v)
J
L
O
v)
0)
U
\
IS0 4209-2 : 1987 (FI
Tableau 2 - Cotes des jantes (à base creuse) coniques à 5O
Cotes en millimètres
- -
-
-
Désignation de la
A B
P H L M
R3
dimension de la
jante
5 2,c min. min. min.
min. max.
max.
- -
-
-
12 x 3.50 B
89.0
34,O
13 x 3.50 B
-
15,O
12 x 4.00 B
101,5
13 x 4.00 B
-
12 x 4.50 B
114,5
13 x 4.50 B
10,o 16,5
4.5
12 x 5.00 B
127,O
13 x 5.00 B
-
19,8
=,O
12 x 5.50 B
140,o
13 x 5.50 B
12 x 6.00 B
152.5
13 x 6.00 B
-
14 x 3 1/2 J
89,O
15 x 3 1/2 J
-
14 x 4J
15,7 19.0
15 x 4J
101,5
16 x 4J
14 x 4 1/2 J
15 x 4 1/2 J 114.5
16 x 4 112 J
-
14 x 5J
15 x 5J
127.0
16 x 5J
14 x 5 1/2 J
15 x 5 1/2 J 140,O
16 x 5 112 J
14 x 6J
17.8
17,3
15 x 6J
152,5 kO.9
16 x 6J
-
14 x 6 1/2 J
15 x 6 1/2 J 165.0
16 x 6 1/2 J
14 x 7J
15 x 7J
178,O
19,8
16 x 7J
14 x 8J
15 x 8J
203,O
16 x 8J
14 x 9J
15 x 9J
D8,5
16 x 9J
-
14 x 1OJ
15 x 1OJ
!54,0
...








Questions, Comments and Discussion
Ask us and Technical Secretary will try to provide an answer. You can facilitate discussion about the standard in here.
Loading comments...