ISO 814:1996
(Main)Rubber, vulcanized — Determination of adhesion to metal — Two-plate method
Rubber, vulcanized — Determination of adhesion to metal — Two-plate method
Contains a method for determining the adhesion strength of rubber-to-metal bonds where the rubber part is between two parallel metal plates. Replaces the second edition.
Caoutchouc vulcanisé — Détermination de l'adhérence au métal — Méthode à deux plaques
General Information
- Status
- Withdrawn
- Publication Date
- 18-Sep-1996
- Withdrawal Date
- 18-Sep-1996
- Technical Committee
- ISO/TC 45/SC 2 - Testing and analysis
- Drafting Committee
- ISO/TC 45/SC 2/WG 1 - Physical properties
- Current Stage
- 9599 - Withdrawal of International Standard
- Start Date
- 04-Jul-2007
- Completion Date
- 12-Feb-2026
Relations
- Effective Date
- 15-Apr-2008
- Effective Date
- 15-Apr-2008
ISO 814:1996 - Rubber, vulcanized -- Determination of adhesion to metal -- Two-plate method
ISO 814:1996 - Caoutchouc vulcanisé -- Détermination de l'adhérence au métal -- Méthode a deux plaques
ISO 814:1996 - Caoutchouc vulcanisé -- Détermination de l'adhérence au métal -- Méthode a deux plaques
Get Certified
Connect with accredited certification bodies for this standard

Smithers Quality Assessments
US management systems and product certification.
DIN CERTCO
DIN Group product certification.
Sponsored listings
Frequently Asked Questions
ISO 814:1996 is a standard published by the International Organization for Standardization (ISO). Its full title is "Rubber, vulcanized — Determination of adhesion to metal — Two-plate method". This standard covers: Contains a method for determining the adhesion strength of rubber-to-metal bonds where the rubber part is between two parallel metal plates. Replaces the second edition.
Contains a method for determining the adhesion strength of rubber-to-metal bonds where the rubber part is between two parallel metal plates. Replaces the second edition.
ISO 814:1996 is classified under the following ICS (International Classification for Standards) categories: 83.060 - Rubber. The ICS classification helps identify the subject area and facilitates finding related standards.
ISO 814:1996 has the following relationships with other standards: It is inter standard links to ISO 814:2007, ISO 814:1986. Understanding these relationships helps ensure you are using the most current and applicable version of the standard.
ISO 814:1996 is available in PDF format for immediate download after purchase. The document can be added to your cart and obtained through the secure checkout process. Digital delivery ensures instant access to the complete standard document.
Standards Content (Sample)
INTERNATIONAL
STANDARD 814
Third edition
1996-09- 15
Rubber, vulcanized - Determination of
adhesion to metal - Two-plate method
Caoutchouc vulcanisk - D&termination de I’adhkence au m&al - Mgthode
ti deux plaques
Reference number
IS0 814:1996(E)
IS0 814:1996(E)
Foreword
IS0 (the International Organization for Standardization) is a worldwide
federation of national standards bodies (IS0 member bodies). The work of
preparing International Standards is normally carried out through IS0
technical committees. Each member body interested in a subject for which
a technical committee has been established has the right to be represented
on that committee. International organizations, governmental and non-
governmental, in liaison with ISO, also take part in the work. IS0
collaborates closely with the International Electrotechnical Commission
(IEC) on all matters of electrotechnical standardization.
Draft International Standards adopted by the technical committees are
circulated to the member bodies for voting. Publication as an International
Standard requires approval by at least 75 % of the member bodies casting
a vote.
International Standard IS0 814 was prepared by Technical Committee
ISO/TC 45, Rubber and rubber products, Subcommittee SC 2, Physical
and degradation tests.
This third edition cancels and replaces the second edition (IS0 814:1986),
in which the rate of traverse of the moving grip specified in 4.1 and 6.2 and
the dimensions of the metal plates specified in figure 2 have been
amended.
0 IS0 1996
All rights reserved. Unless otherwise specified, no part of this publication may be reproduced
or utilized in any form or by any means, electronic or mechanical, including photocopying and
microfilm, without permission in writing from the publisher.
International Organization for Standardization
Case postale 56 l CH-1211 Geneve 20 l Switzerland
Printed in Switzerland
ii
INTERNATIONAL STANDARD o IS0
IS0 814:1996(E) -
Rubber, vulcanized - Determination of adhesion to
metal - Two-plate method
WARNING - Persons using this International Standard should be familiar with normal laboratory practice.
This standard does not purport to address all of the safety problems, if any, associated with its use. It is the
responsibility of the user to establish appropriate safety and health practices and to ensure compliance
with any national regulatory conditions.
IS0 5893:1993, Rubber and plastics test equipment -
1 Scope
Tensile, flexural and compression types (constant rate
of traverse) - Description.
This International Standard specifies a method for de-
termining the adhesion strength of rubber-to-metal
bonds where the rubber part is assembled between
two parallel metal plates, using the adhesive system
3 Principle
under investigation.
The test consists in measuring the force required to
The method is applicable primarily to test pieces pre-
cause the rupture of a unit of standard dimensions,
pared in the laboratory under standard conditions,
comprising rubber bonded to two parallel metal plates,
such as may be used to provide data for the develop-
the direction of the force being at 90° to the bonded
ment of rubber compounds and control of methods of
surface.
manufacture.
4 Apparatus
2 Normative references
4.1 Tensile-testing machine, complying with the re-
The following standards contain provisions which,
quirements of IS0 5893, capable of measuring force
through reference in this text, constitute provisions of
with an accuracy corresponding to grade B as defined
this International Standard. At the time of publication,
in IS0 5893, and with a rate of traverse of the moving
the editions indicated were valid. All standards are
subject to revision, and parties to agreements based grip of 25 mm/min t 5 mm/min.
on this International Standard are encouraged to in-
vestigate the possibility of applying the most recent NOTE - Inertia (pendulum) type dynamometers are apt to
editions of the standards indicated below. Members of give results which differ because of frictional and inertial ef-
fects. An inertialess (for example, electronic or optical trans-
IEC and IS0 maintain registers of currently valid Inter-
ducer) type dynamometer gives results which are free from
national Standards.
these effects and is therefore to be preferred.
IS0 471 :I 995, Rubber - Temperatures, humidities
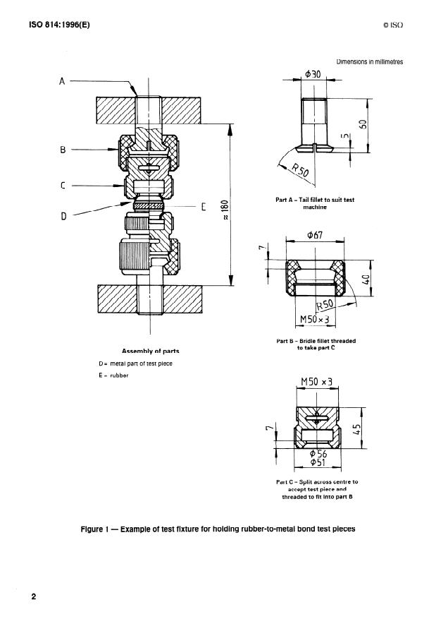
4.2 Fixtures, for holding the test pieces in the test
and times for conditioning and testing.
machine (4.1), which permit accurate centring of the
applied load during the test.
IS0 4648:1991,
Rubber, vulcanized or thermo-
p/as tic - Determination of dimensions of test pieces
and products for test purposes. A suitable type of fixture is shown in figure 1.
IS0 814:1996(E)
0 IS0
Dimensions in millimetres
Part A - Tail fillet to suit test
machine
Part 8 - Bridle fillet threaded
to take part C
Assembly of parts
D= metal part of test piece
E = rubber
M5Ox3
Part C - Split across centre to
accept test pi
...
NORME
ISO
INTERNATIONALE
Troisième édition
1996~09- 18
Caoutchouc vulcanisé - Détermination de
l’adhérence au métal - Méthode à deux
plaques
Rubber, vulcanized - Determination of adhesion to metal- Two-plate
method
Numéro de référence
ISO 814: 1996(F)
Avant-propos
L’ISO (Organisation internationale de normalisation) est une fédération
mondiale d’organismes nationaux de normalisation (comités membres de
I’ISO). L’élaboration des Normes internationales est en général confiée aux
comités techniques de I’ISO. Chaque comité membre intéressé par une
étude a le droit de faire partie du comité technique créé à cet effet. Les
organisations internationales, gouvernementales et non gouvernemen-
tales, en liaison avec I’ISO participent également aux travaux. LIS0 colla-
bore étroitement avec la Commission électrotechnique internationale (CEI)
en ce qui concerne la normalisation électrotechnique.
Les projets de Normes internationales adoptés par les comités techniques
sont soumis aux comités membres pour vote. Leur publication comme
Normes internationales requiert l’approbation de 75 % au moins des comi-
tés membres votants.
La Norme internationale ISO 814 a été élaborée par le comité technique
ISO/K 45, É/astomères et produits à base d’élastomères, sous-comité
SC 2, Essais physiques et de dégradation.
Cette troisième édition annule et remplace la deuxième édition
(ISO 814:1986), dans laquelle la vitesse de translation de la mâchoire mo-
bile prescrite en 4.1 et 6.2 ainsi que les dimensions des plaques métalli-
ques indiquées à la figure 2 ont été modifiées.
0 ISO 1996
Droits de reproduction réservés. Sauf prescription différente, aucune partie de cette publi-
cation ne peut être reproduite ni utilisée sous quelque forme que ce soit et par aucun procédé,
électronique ou mécanique, y compris la photocopie et les microfilms, sans l’accord écrit de
l’éditeur.
Organisation internationale de normalisation
Case postale 56 l CH-l 211 Genève 20 l Suisse
Imprimé en Suisse
ii
NORME INTERNATIONALE o ISO ISO 814:1996(F) -
Détermination de l’adhérence au
Caoutchouc vulcanisé -
métal - Méthode à deux plaques
AVERTISSEMENT - Les utilisateurs de la présente Norme internationale doivent être familiarisés avec les
pratiques d’usage en laboratoire. La présente Norme internationale n’a pas la prétention d’aborder tous les
problèmes de sécurité concernés par son usage. II est de la responsabilité de l’utilisateur de consulter et
d’établir des règles de sécurité et d’hygiène appropriées et de déterminer I’applicabilité des restrictions
réglementaires avant utilisation.
ISO 5893:i 993, Appareils d’essai du caoutchouc et
1 Domaine d’application
des plastiques - Types pour traction, flexion et com-
La présente Norme internationale prescrit une mé- pression (vitesse de translation constante) - Descrip-
thode pour la détermination de la force d’adhérence du tion.
caoutchouc vulcanisé collé à un métal, lorsque ce
caoutchouc est assemblé entre deux plaques métalli-
3 Principe
ques parallèles par un système d’adhérence étudié au
cours de l’essai.
Mesurage de la force nécessaire pour provoquer la
rupture d’une éprouvette, de dimensions prescrites,
La méthode est applicable principalement aux éprou-
constituée d’une bande de caoutchouc collée à deux
vettes préparées en laboratoire, dans des conditions
plaques métalliques parallèles, la force appliquée
déterminées, afin d’obtenir des données utilisables
étant perpendiculaire à la surface collée.
pour l’élaboration des mélanges de caoutchouc et le
contrôle des procédés de fabrication.
4 Appareillage
2 Références normatives
4.1 Machine d’essai de traction, conforme aux
Les normes suivantes contiennent des dispositions prescriptions de I’ISO 5893, capable de mesurer une
qui, par suite de la référence qui en est faite, consti-
force avec une précision correspondant à la classe B
tuent des dispositions valables pour la présente telle qu’elle est définie dans I’ISO 5893, et ayant une
Norme internationale. Au moment de la publication, les
vitesse de translation de la mâchoire mobile de
éditions indiquées étaient en vigueur. Toute norme est 25 mm/min + 5 mm/min.
sujette à révision et les parties prenantes des accords
fondés sur la présente Norme internationale sont invi- NOTE - Les dynamomètres à inertie (du type pendulaire)
peuvent donner des résultats qui diffèrent en raison des ef-
tées à rechercher la possibilité d’appliquer les éditions
fets de frottement et d’inertie; il convient donc d’utiliser de
les plus récentes des normes indiquées ci-après. Les
préférence des dynamomètres à basse inertie (par exemple
membres de la CEI et de I’ISO possèdent le registre
du type à lecteur électronique ou optique) car ils donnent des
des Normes internationales en vigueur à un moment
résultats dans lesquels ces effets n’interviennent pas.
donné.
4.2 Dispositifs de fixation, permettant d’assujettir
ISO 471:1995, Caoutchouc - Températures, humidi-
les éprouvettes à la machine d’essai (4.1) et de centrer
tés et durées pour le conditionnement et l’essai.
avec précision la charge appliquée au cours de l’essai.
ISO 46483 991, Caoutchouc vulcanisé ou thermoplas-
Un dispositif de fixation convenable est représenté à la
tique - Détermination des dimensions des éprou-
figure 1.
vettes et des produits en vue des essais.
0 ISO
Dimensions en millimètres
B
C
Pièce A - Pièce arrière à raccorder
à la machine d’essai
E
D
Pièce B - Bride pour le maintien
de la pièce arrière filetée
Ensemble des pièces
pour recevoir la pièce C
D = p
...
NORME
ISO
INTERNATIONALE
Troisième édition
1996~09- 18
Caoutchouc vulcanisé - Détermination de
l’adhérence au métal - Méthode à deux
plaques
Rubber, vulcanized - Determination of adhesion to metal- Two-plate
method
Numéro de référence
ISO 814: 1996(F)
Avant-propos
L’ISO (Organisation internationale de normalisation) est une fédération
mondiale d’organismes nationaux de normalisation (comités membres de
I’ISO). L’élaboration des Normes internationales est en général confiée aux
comités techniques de I’ISO. Chaque comité membre intéressé par une
étude a le droit de faire partie du comité technique créé à cet effet. Les
organisations internationales, gouvernementales et non gouvernemen-
tales, en liaison avec I’ISO participent également aux travaux. LIS0 colla-
bore étroitement avec la Commission électrotechnique internationale (CEI)
en ce qui concerne la normalisation électrotechnique.
Les projets de Normes internationales adoptés par les comités techniques
sont soumis aux comités membres pour vote. Leur publication comme
Normes internationales requiert l’approbation de 75 % au moins des comi-
tés membres votants.
La Norme internationale ISO 814 a été élaborée par le comité technique
ISO/K 45, É/astomères et produits à base d’élastomères, sous-comité
SC 2, Essais physiques et de dégradation.
Cette troisième édition annule et remplace la deuxième édition
(ISO 814:1986), dans laquelle la vitesse de translation de la mâchoire mo-
bile prescrite en 4.1 et 6.2 ainsi que les dimensions des plaques métalli-
ques indiquées à la figure 2 ont été modifiées.
0 ISO 1996
Droits de reproduction réservés. Sauf prescription différente, aucune partie de cette publi-
cation ne peut être reproduite ni utilisée sous quelque forme que ce soit et par aucun procédé,
électronique ou mécanique, y compris la photocopie et les microfilms, sans l’accord écrit de
l’éditeur.
Organisation internationale de normalisation
Case postale 56 l CH-l 211 Genève 20 l Suisse
Imprimé en Suisse
ii
NORME INTERNATIONALE o ISO ISO 814:1996(F) -
Détermination de l’adhérence au
Caoutchouc vulcanisé -
métal - Méthode à deux plaques
AVERTISSEMENT - Les utilisateurs de la présente Norme internationale doivent être familiarisés avec les
pratiques d’usage en laboratoire. La présente Norme internationale n’a pas la prétention d’aborder tous les
problèmes de sécurité concernés par son usage. II est de la responsabilité de l’utilisateur de consulter et
d’établir des règles de sécurité et d’hygiène appropriées et de déterminer I’applicabilité des restrictions
réglementaires avant utilisation.
ISO 5893:i 993, Appareils d’essai du caoutchouc et
1 Domaine d’application
des plastiques - Types pour traction, flexion et com-
La présente Norme internationale prescrit une mé- pression (vitesse de translation constante) - Descrip-
thode pour la détermination de la force d’adhérence du tion.
caoutchouc vulcanisé collé à un métal, lorsque ce
caoutchouc est assemblé entre deux plaques métalli-
3 Principe
ques parallèles par un système d’adhérence étudié au
cours de l’essai.
Mesurage de la force nécessaire pour provoquer la
rupture d’une éprouvette, de dimensions prescrites,
La méthode est applicable principalement aux éprou-
constituée d’une bande de caoutchouc collée à deux
vettes préparées en laboratoire, dans des conditions
plaques métalliques parallèles, la force appliquée
déterminées, afin d’obtenir des données utilisables
étant perpendiculaire à la surface collée.
pour l’élaboration des mélanges de caoutchouc et le
contrôle des procédés de fabrication.
4 Appareillage
2 Références normatives
4.1 Machine d’essai de traction, conforme aux
Les normes suivantes contiennent des dispositions prescriptions de I’ISO 5893, capable de mesurer une
qui, par suite de la référence qui en est faite, consti-
force avec une précision correspondant à la classe B
tuent des dispositions valables pour la présente telle qu’elle est définie dans I’ISO 5893, et ayant une
Norme internationale. Au moment de la publication, les
vitesse de translation de la mâchoire mobile de
éditions indiquées étaient en vigueur. Toute norme est 25 mm/min + 5 mm/min.
sujette à révision et les parties prenantes des accords
fondés sur la présente Norme internationale sont invi- NOTE - Les dynamomètres à inertie (du type pendulaire)
peuvent donner des résultats qui diffèrent en raison des ef-
tées à rechercher la possibilité d’appliquer les éditions
fets de frottement et d’inertie; il convient donc d’utiliser de
les plus récentes des normes indiquées ci-après. Les
préférence des dynamomètres à basse inertie (par exemple
membres de la CEI et de I’ISO possèdent le registre
du type à lecteur électronique ou optique) car ils donnent des
des Normes internationales en vigueur à un moment
résultats dans lesquels ces effets n’interviennent pas.
donné.
4.2 Dispositifs de fixation, permettant d’assujettir
ISO 471:1995, Caoutchouc - Températures, humidi-
les éprouvettes à la machine d’essai (4.1) et de centrer
tés et durées pour le conditionnement et l’essai.
avec précision la charge appliquée au cours de l’essai.
ISO 46483 991, Caoutchouc vulcanisé ou thermoplas-
Un dispositif de fixation convenable est représenté à la
tique - Détermination des dimensions des éprou-
figure 1.
vettes et des produits en vue des essais.
0 ISO
Dimensions en millimètres
B
C
Pièce A - Pièce arrière à raccorder
à la machine d’essai
E
D
Pièce B - Bride pour le maintien
de la pièce arrière filetée
Ensemble des pièces
pour recevoir la pièce C
D = p
...












Questions, Comments and Discussion
Ask us and Technical Secretary will try to provide an answer. You can facilitate discussion about the standard in here.
Loading comments...