ISO 6115:1981
(Main)Shipbuilding — Trawl winches
Shipbuilding — Trawl winches
Construction navale — Treuils de pêche
General Information
- Status
- Withdrawn
- Publication Date
- 30-Jun-1981
- Withdrawal Date
- 30-Jun-1981
- Technical Committee
- ISO/TC 8/SC 4 - Outfitting and deck machinery
- Drafting Committee
- ISO/TC 8/SC 4 - Outfitting and deck machinery
- Current Stage
- 9599 - Withdrawal of International Standard
- Start Date
- 01-Nov-1988
- Completion Date
- 12-Feb-2026
Relations
- Consolidated By
ISO 176:2005 - Plastics — Determination of loss of plasticizers — Activated carbon method - Effective Date
- 06-Jun-2022
- Effective Date
- 15-Apr-2008
Get Certified
Connect with accredited certification bodies for this standard

DNV
DNV is an independent assurance and risk management provider.

Lloyd's Register
Lloyd's Register is a global professional services organisation specialising in engineering and technology.

ABS Quality Evaluations Inc.
American Bureau of Shipping quality certification.
Sponsored listings
Frequently Asked Questions
ISO 6115:1981 is a standard published by the International Organization for Standardization (ISO). Its full title is "Shipbuilding — Trawl winches". This standard covers: Shipbuilding — Trawl winches
Shipbuilding — Trawl winches
ISO 6115:1981 is classified under the following ICS (International Classification for Standards) categories: 47.020.50 - Deck equipment and installations. The ICS classification helps identify the subject area and facilitates finding related standards.
ISO 6115:1981 has the following relationships with other standards: It is inter standard links to ISO 176:2005, ISO 6115:1988. Understanding these relationships helps ensure you are using the most current and applicable version of the standard.
ISO 6115:1981 is available in PDF format for immediate download after purchase. The document can be added to your cart and obtained through the secure checkout process. Digital delivery ensures instant access to the complete standard document.
Standards Content (Sample)
International Standard @ 6115
INTERNATIONAL ORGANIZATION FOR STANDARDIZATION*MEWYHAPOL1HAR OPrAHHJAUHR no CTAHLLAPTH3AUHHN)RGANlSATlON INTERNATIONALE DE NORMALISATION
L Shipbuilding - Trawl winches
Construction navale - Treuils de pêche
First edition - 1981-07-15
- UDC 621.864 : 629.124.72 Ref. No. IS0 6115-1981 (E)
Descriptors : shipbuilding, inland navigation, couplings, winches, specifications, dimensions, designation, tests.
$
G
Price based on 7 pages
Foreword
IS0 (the International Organization for standardization) is a worldwide federation of
national standards institutes (IS0 member bodies). The work of developing Inter-
national Standards is carried out through IS0 technical committees. Every member
body interested in a subject for which a technical committee has been set up has the
right to be represented on that committee. International organizations, governmental
and non-governmental, in liaison with ISO, also take part in the work.
Draft International Standards adopted by the technical committees are circulated to
the member bodies for approval before their acceptance as International Standards by
the IS0 Council.
International Standard IS0 61 15 was developed by Technical Committee ISO/TC 8,
Shipbuilding, and was circulated to the member bodies in April 1980.
It has been approved by the member bodies of the following countries :
Austria India Poland
Belgium
Ireland Romania
Brazil Italy Spain
China Japan United Kingdom
Czechoslovakia Korea, Dem. P. Rep. of USSR
Finland Korea, Rep. of Y ugoçlavia
France Netherlands
Germany, F. R. Norway
No member body expressed disapproval of the document.
CC) International Organization for Standardization, 1981 O
Printed in Switzerland
INTERNATIONAL STANDARD IS0 6115-1981 (E)
Shipbuilding - Trawl winches
3.4 Nominal trawl rope winding diameter
1 Scope and field of application
This International Standard specifies requirements and
3.4.1 winding diameter full-length rope : Diameter when
characteristics of single-drum and double-drum trawl winches
the whole design length of the rope has been wound onto the
provided with electric, electro-hydraulic, hydraulic diesel or ex-
drum, i.e. it corresponds to the outermost layer of the rope.
ternally powered drive.
3.4.2 winding diameter half-length rope : Diameter when
The winches are provided for hauling-in, paying-out and
half of the design length of the rope has been wound onto the
holding the trawl rope while fishing by means of trawling
drum.
fishing gear.
When equipped with additional auxiliav drums, they may be
3.5 nominal speed of a trawl rope : Maximum hauling-in
also used for auxiliary operations when hauling-in, paying-out
speed of a rope obtainable by the winch at drum load applied to
and emptying the trawl net.
the appropriate nominal rope winding diameter.
3.6 Paying-out speed of a trawl rope
2 References
IS0 2408. Steel wire ropes for general purposes -
3.6.1 paying-out speed under regenerative braking (or
Characteristics.
: Maximum paying-out speed of a
equivalent type of braking)
rope obtainable by the winch at 0.5 drum load applied to the
IS0 3828, Shipbuilding - Deck machinery - Vocabulary.
appropriate nominal rope winding diameter, while paying-out
the rope by means other than a friction brake.
Ls 3 Definitions
3.6.2 paying-out speed under friction braking : Twice the
nominal speed at 0,5 drum load applied to the appropriate
Definitions are to be as in IS0 3828, except for the following
nominal rope winding diameter, while paying-out the rope
terms :
using the friction brake.
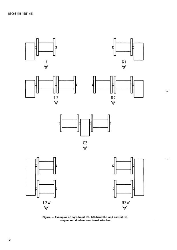
3.1 nominal size : For a single-drum trawl winch, a nominal
size corresponds to the drum load on the trawl rope drum (in single-drum trawl winch : Winch equipped with one
3.7
tonnes), as stated in the table.
main trawl rope drum (Ll-Rl) (see the figure).
For a double-drum trawl winch, a nominal size corresponds to
3.8 double-drum trawl winch : Winch equipped with two
twice the drum load stated in the table.
main trawl rope drums, double in line or waterfall, provided
with a common drive (L2-R2-C2-UW-R2W) (see the figure).
3.2 drum load : The maximum trawl rope tension, measured
at the drum exit with a trawl rope being hauled-in at the
nominal speed and being wound onto the appropriate nominal 3.9 right-hand and left-hand single-drum trawl winch :
Winch is termed a right-hand winch in relation to an observer
trawl rope winding diameter of the drum.
situated on the side of the motor, power supply or controller
3.3 design torque : For a single-drum winch, the design when the reduction gear or the drive for the drum IS on the
right-hand side of the maiv drum
torque is the driving torque available at the drum. It results from
the drum load applied to the half-length rope nominal trawl
- \,ci -> -
A winch IS termed a Seft-hand winch in relation to an observer
rope winding diameter.
situated on the side of the motor, power supply or controller
when the reduction gear or the drive is on the left-hand side of
For a double-drum winch, the design torque is two times the
the main drum
design torque of a single-drum.
IS0 6115-1981 (E)
v
U
R2
v
c2
V
R2W
L2W
V
V
Figure - Examples of right-hand (RI, left-hand (LI, and central (Cl,
single- and double-drum trawl winches
IS0 6115-1981 (E)
b) which components of the winch are being operated;
4 Design and operation
c) the engaging of clutches and/or drum brakes;
4.1 Auxiliary equipment
d) failure of winch components;
4.1.1 The trawl winches may be also provided with auxiliav
drums and warping ends.
e) overloads and other dangerous conditions, for ex-
ample :
If auxiliary drums or warping ends are provided, their positions
-
and characteristics shall be agreed between the purchaser and the trawl rope being wound on the first layer on the
the manufacturer.
drum while paying-out the fishing gear,
- no release of the automatic brake,
4.1.2 A spooling gear is to be fitted to the main drum in order
to get uniform winding of a trawl rope, unless otherwise agreed
-
allowable temperature of the electric motor wind-
between the purchaser and the manufacturer.
ings being exceeded,
The auxiliary drums may also be provided with spooling gears,
-
slipping of the trawl drum while trawling the fishing
if agreed between the purchaser and the manufacturer.
gear,
Provisions shall be made for manual adjustment of any spooling
'L
-
overloading of the spooling gear.
gear fitted.
Mechanical spooling gear (if fitted) shall be designed to operate
4.4 Protection
against the drum load, at fleet angles up to 6O per side in
horizontal and vertical planes.
4.4.1 Overload protection of trawl winches shall be provided
If the spooling gear is automatically driven, it shall be possible
during hauling in. It shall operate under overload not exceeding
to disengage the spooling carriage. Subject to agreement be-
1,5 times the value of drum load at the outermost layer of a
tween manufacturer and purchaser, the spooling gear shall be
trawl rope being fully wound onto the drum, unless a higher
adaptable to wires of more than one diameter.
value is agreed between the purchaser and the manufacturer. A
time interval protection device should be fitted to overcome the
transient overloads experienced in service. When the protec-
4.2 Control and measuring instruments
tion device of one winch has operated, the second winch stops
simultaneously.
4.2.1 A trawl winch may be provided with an instrument to
measure the tension in the trawl rope, if agreed between the
purchaser and the manufacturer. The equipment shall be
4.4.2 Facilities for paying-out the rope under the overload of a
capable of measuring the tension while the rope is being paid
winch, while trawling the fishing net, shall be provided. For
out, hauled in and trawling the fishing gear. The measurement
overloads up to 1,5 times the drum load at the outermost layer,
of tension may be replaced by the measurement of torque at
a multi-step or continuous control of such device shall be possi-
the drum whilst trawling, if agreed between the purchaser and
ble. If agreed between the purchaser and the manufacturer, the
'L,
the manufacturer. It is recommended for winches greater than
device may operate automatically in which case the possibility
nominal size 4 that the tension should be measured without
of switching off the device shall be provided. Brake release
contact of the measurement instruments (pick-up) with the
should be provided as well, if agreed between purchaser and
trawl rope.
manufacturer.
4.2.2 A trawl winch may be provided with an instrument to
measure the length of paid-out trawl rope, if agreed between
4.4.3 Means protecting against paying-out of the whole
the purchaser and the manufacturer. Instrument error should
length of a trawl rope from the main drum may be provided.
not exceed 0,15 % of the trawl rope lengths. Not less than 20 windings of the trawl rope shall still remain
wound onto the drum when such means have operated, unless
otherwise agreed between the purchaser and the manufac-
4.2.3 A trawl winch may be provided with instruments to
turer.
measure the electrical and/or hydraulic values as agreed be-
tween the purchaser and the manufacturer.
4.4.4 Emergency means of stopping the winch shall be pro-
4.3 Signalling devices vided. They shall be fitted at the winch position and at the
remote control position where one exists and near the rope
If agreed between the purchaser and the manufacturer, a trawl sheaves. For single-drum trawl winches, the single operation,
winch may be provided with adequate signalling devices giving where practicable, shall cause the stopping of both winches.
:
necessary information on
the winch and its components being ready for opera- 4.4.5 Protection against overspeeding of the drive during
a)
tion: paying-out shall be pro
...
Norme internationale
INTERNATIONAL ORGANIZATION FOR STANOARDIZATlONOME~YHAPOAHAR OPTAHH3AUHR no CTAHAAFTH3AL(HHU3RGANlSATlON INTERNATIONALE DE NORMALISATION
-. .
' '- Construction navale - Treuils de pêche
Shipbuilding - Trawl winches
Première édition - 1981-07-15
Réf. no : IS0 6115-1981 (FI
CDU 621.864 : 629.124.72
- U
-
Descripteurs : construction navale, navigation fluviale, accouplement, treuil, spécification, dimension, désignation, essai.
@
$
c
W
O
Prix basé sur 7 pages
v,
Ava n t- propos
L‘ISO (Organisation internationale de normalisation) est une fédération mondiale
d’organismes nationaux de normalisation (comités membres de I’ISO). L’élaboration
des Normes internationales est confiée aux comités techniques de I’ISO. Chaque
comité membre intéressé par une étude a le droit de faire partie du comité technique
correspondant. Les organisations internationales, gouvernementales et non gouverne-
mentales, en liaison avec I’IÇO, participent également aux travaux.
Les projets de Normes internationales adoptés par les comités techniques sont soumis
aux comités membres pour approbation, avant leur acceptation comme Normes inter-
nationales par le Conseil de I’ISO.
La Norme internationale IS0 6115 a été élaborée par le comité technique ISO/TC 8,
Construction navale, et a été soumise aux comités membres en avril 1980.
Les comités membres des pays suivants l’ont approuvée :
Allemagne, R. F. Finlande Pologne
Autriche France Roumanie
Belgique Inde Royaume- Uni
Brésil Irlande Tchécoslovaquie
Chine Italie URSS
Corée, Rép. dém. p. de Japon Yougoslavie
Corée, Rép. de Norvège
Espagne Pays- Bas
Aucun comité membre ne l‘a désapprouvée.
O Organisation internationale de normalisation, 1981 O
IrnDrirné en Suisse
IS0 61 15-1981 (FI
NOR ME INTERN AT1 ON ALE
Construction navale - Treuils de pêche
1 Objet et domaine d’application 3.4 Diamètre nominal d‘enroulement
La présente Norme internationale spécifie les exigences et les
3.4.1 diamètre d’enroulement de la longueur totale de
caractéristiques auxquelles doivent répondre les treuils de
fune : Diamètre obtenu une fois le câble enroulé sur toute sa
pêche à un ou deux tambours et à entraînement électrique,
longueur théorique sur le tambour. La mesure s’effectue sur la
hydro-électrique, diesel-hydraulique ou à entraînement indi-
-
dernière couche d’enroulement du câble.
‘L rect.
3.4.2 diamètre d’enroulement de la fune à mi-longueur :
Ces treuils doivent permettre le relevage, le filage et le maintien
Diamètre obtenu quand la moitié de la longueur théorique de
des funes de l‘engin de pêche au chalut.
câble est enroulée sur le tambour.
Équipés de tambours auxiliaires supplémentaires, ces treuils
3.5 vitesse nominale d‘une fune : Vitesse maximale de
peuvent également servir à des opérations auxiliaires de remon-
relevage d’une fune par le treuil à l‘effort au tambour corres-
tée, de mise à l’eau ou d‘ouverture de la poche du chalut.
pondant au diamètre d’enroulement de la longueur totale de
cette fune.
2 Références
3.6 Vitesse de filage d’une fune
IS0 2408, Câbles en acierpour usages courants - Caractéristi-
3.6.1 vitesse de filage avec freinage par récupération (ou
ques.
de type équivalent) : Vitesse maximale de filage d‘une fune sur
un treuil travaillant à 0.5 fois l’effort au tambour s’exercant sur
IS0 3828, Construction navale - Auxiliaires de pont - Voca-
le diamètre nominal d’enroulement approprié, le freinage étant
bulaire.
effectué par un système autre qu’à frottement.
3.6.2 vitesse de filage avec freinage par frottement :
3 Définitions
Double de la vitesse nominale, sous charge correspondant à
0,5 fois l‘effort au tambour au diamètre nominal d’enroulement
Les définitions sont celles de I’ISO 3828, sauf pour les termes
approprié, la fune étant filée sur freins à frottement.
suivants :
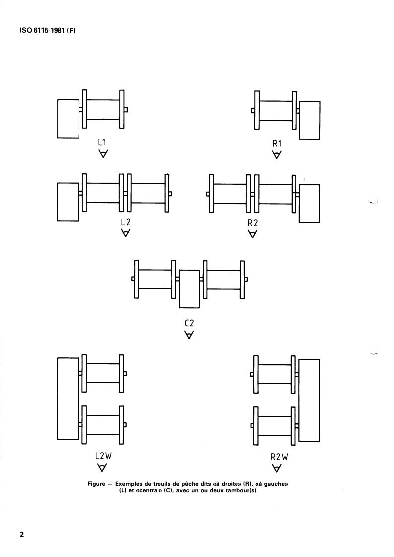
3.7 treuil de pêche à un seul tambour : Treuil équipé d’un
3.1 dimension nominale : Pour un treuil à un seul tambour,
tambour principal unique pour la manœuvre d’une fune (LI-RI)
la dimension nominale correspond à l’effort (en tonnes) exercé
(voir la figure).
sur le tambour où s’enroule la fune, comme l’indique le tableau.
3.8 treuil de pêche à deux tambours : Treuil équipé de
Pour les treuils à deux tambours, la dimension nominale corres-
deux tambours principaux en ligne ou à chute à entraînement
pond au double de l’effort au tambour indiqué dans le tableau.
commun pour la manœuvre des funes (L2-R2-C2-L2W-R2W)
(voir la figure).
3.2 effort au tambour : Traction maximale au câble mesu-
à la sortie du tambour, la fune étant relevée à la vitesse
rée
3.9 treuil à droite ou treuil à gauche : Un treuil de pêche à
nominale et enroulée sur le nombre de couches convenables
un seul tambour est dit «à droite)) par rapport à un observateur
sur le tambour.
placé du côté du moteur, de la source d‘alimentation ou du
contrôleur quand le réducteur ou le dispositif d‘entraînement se
3.3 couple théorique : Pour un treuil à un seul tambour,
trouve sur le côté droit du tambour principal.
II
couple d‘entraînement disponible au niveau du tambour.
Un treuil de pêche à un seul tambour est dit «à gauche)) par rap-
découle de l‘effort exercé à la sortie du tambour sur la fune
port à un observateur placé du côté du moteur, de la source
enroulée sur la moitié de sa longueur nominale sur le tambour.
d‘alimentation ou du contrôleur quand le réducteur ou le dispo-
sitif d‘entraînement se trouve sur le côté gauche du tambour
Pour un treuil à deux tambours, double du couple théorique
correspondant d‘un treuil à tambour unique. principal.
IS0 6115-1981 (FI
I
m LI Q
R1
v
L
U
c
L2
R2
V
v
c2
V
L2W
R2W
V V
Figure - Exemples de treuils de pêche dits «à droite)) (RI, «à gauche))
(LI et «central» (CI, avec un ou deux tambourk)
IS0 6115-1981 (FI
4 Conception et fonctionnement le fonctionnement des embrayages ou des freins de
c)
ta mbou r:
4.1 Matériel auxiliaire
la défaillance éventuelle de composants du treuil;
di
4.1.1 Les treuils de pêche peuvent aussi être équipés de tam-
une surcharge éventuelle ou autre incident dangereux,
e)
bours auxiliaires et de poupées.
par exemple :
Dans ce cas, leur position et leurs caractéristiques doivent faire
-
fune enroulée sur une seule couche sur le tambour
l’objet d’un accord entre l‘acheteur et le constructeur.
au moment où l‘on file l’engin de pêche,
-
non déblocage du frein automatique,
4.1.2 Sauf accord contraire entre l’acheteur et le construc-
teur, un guide-fune doit être adapté au tambour principal de
-
dépassement de la température autorisée au niveau
facon à assurer un enroulement uniforme de la fune.
du moteur électrique,
Les tambours auxiliaires peuvent également être munis de ces
-
dispositifs si l‘acheteur et le constructeur sont d’accord. glissement du tambour pendant le chalutage,
- surcharge du guide-fune.
Les guide-funes montés doivent être munis d’un système de
réglage manuel.
4.4 Protection
Les guide-funes mécaniques (éventuels) doivent être concus
pour fonctionner en opposition de l‘effort au frein, à des angles
4.4.1 Les treuils de pêche doivent être protégés contre la sur-
pouvant aller jusqu’à 6O de chaque côté dans les plans horizon-
charge au relevage. La surchage ne doit pas dépasser 1,5 fois la
tal et vertical.
valeur de l’effort au tambour mesuré sur la dernière couche de
fune enroulée, à moins que le constructeur et l’acheteur soient
Si le guide-fune est automatique, il doit être possible de retirer
convenus d’une valeur plus élevée. Un système de protection
le chariot. Par accord entre le constructeur et l’acheteur, le
temporisé doit être prévu pour prévenir les surcharges transitoi-
guide-fune doit pouvoir servir pour des câbles de différents dia-
res en service. Si la protection d’un treuil a fonctionné, le
mètres.
second treuil s’arrête automatiquement.
4.2 Matériel de contrôle et de mesure
4.4.2 Des moyens doivent être prévus pour filer la fune en cas
à chaluter. Lorsque
de surcharge d’un treuil, tout en continuant
la surcharge ne dépasse pas 1,5 fois l’effort au tambour mesuré
4.2.1 Un treuil de pêche peut être muni d’instruments permet-
sur la dernière couche de câble, on peut procéder par réglage
tant de mesurer la tension des funes si le constructeur et I’ache-
discontinu ou continu de ce système. Le dispositif peut égale-
teur sont d’accord. Ce matériel doit pouvoir effectuer les mesu-
ment, selon accord entre l‘acheteur et le constructeur, fonc-
res au filage, au relevage et pendant le chalutage. La mesure de
tionner automatiquement, mais dans ce cas, un interrupteur
l‘effort de traction peut être remplacée par une mesure de cou-
doit aussi être prévu, de même qu‘un système de déclenche-
ple au niveau du tambour en cours de chalutage si le construc-
ment du frein si l’acheteur et le constructeur sont d’accord.
teur et l’acheteur sont d‘accord. Pour les treuils de dimension
nominale supérieure à 4, il est recommandé de mesurer la trac-
tion sans que l’instrument de mesure touche la fune (capteur).
4.4.3 Des moyens doivent être prévus pour empêcher le
déroulement de toute la longueur de fune. Un minimum de
20 tours de câble doit rester enroulé sur le tambour au moment
4.2.2 Un treuil de pêche peut être équipé d’un instrument
du déclenchement de ce dispositif, à moins d’accord contraire
capable de mesurer la longueur de fune filée si le constructeur
entre l‘acheteur et le constructeur.
et l’acheteur sont d’accord. L’erreur de l’instrument ne doit pas
dépasser 0,15 YO de la longueur de fune.
4.4.4 Un système d‘arrêt d’urgence du treuil doit être prévu. II
doit fonctionner au niveau du treuil lui-même, au poste de com-
4.2.3 Un treuil de pêche peut, si le constructeur et l’acheteur
à distance, s’il en existe un, et au niveau des réas sur les
mande
en sont convenus, être équipé d’instruments permettant de
chalutiers équipés de treuils à un seul tambour, l’arrêt
mesurer les grandeurs électriques ou hydrauliques.
d’urgence d’un seul treuil doit également arrêter l’autre.
4.3 Appareils de signalisation
4.4.5 Des moyens doivent être prévus pour empêcher
l‘emballement de l‘entraînement au filage.
Selon accord entre le constructeur et l‘acheteur, un treuil de
pêche peut être équipé d’appareils de signalisation donnant
4.5 Commande
tout renseignement sur
ai le moment où le treuil et ses auxiliaires sont prêts à 4.5.1 Position de la commande
fonctionner;
Chaque treuil de pêche doit être équipé d’une commande, soit
les parties en fonctionnement du treuil; à distance, soit une combinaison des deux.
b) locale, soit
...








Questions, Comments and Discussion
Ask us and Technical Secretary will try to provide an answer. You can facilitate discussion about the standard in here.
Loading comments...