ISO 484-1:1981
(Main)Shipbuilding — Ship screw propellers — Manufacturing tolerances — Part 1: Propellers of diameter greater than 2,50 m
Shipbuilding — Ship screw propellers — Manufacturing tolerances — Part 1: Propellers of diameter greater than 2,50 m
Applies to monobloc, built-up and controllable pitch propellers. Defines the various tolerances, describes also methods for measuring pitch, thickness of the section and gives the accuracy classes.
Construction navale — Hélices de navires — Tolérances de fabrication — Partie 1: Hélice de diamètre supérieur à 2,50 m
La présente Norme internationale définit les tolérances de fabrication des hélices de navires d'un diamètre supérieur à 2,50 m. NOTE -- Certains dépassements des tolérances peuvent être acceptés dans certains cas particuliers, s'ils sont acceptés par le client ou par l'auteur des plans et le client. La présente Norme internationale s'applique aux hélices monoblocs, aux hélices à ailes rapportées et aux hélices à ailes orientables.
General Information
- Status
- Withdrawn
- Publication Date
- 31-Jul-1981
- Withdrawal Date
- 31-Jul-1981
- Technical Committee
- ISO/TC 8/SC 3 - Piping and machinery
- Drafting Committee
- ISO/TC 8/SC 3 - Piping and machinery
- Current Stage
- 9599 - Withdrawal of International Standard
- Start Date
- 19-Nov-2015
- Completion Date
- 12-Feb-2026
Relations
- Effective Date
- 04-Nov-2015
ISO 484-1:1981 - Shipbuilding -- Ship screw propellers -- Manufacturing tolerances
ISO 484-1:1981 - Construction navale -- Hélices de navires -- Tolérances de fabrication
ISO 484-1:1981 - Construction navale -- Hélices de navires -- Tolérances de fabrication
Get Certified
Connect with accredited certification bodies for this standard

DNV
DNV is an independent assurance and risk management provider.

Lloyd's Register
Lloyd's Register is a global professional services organisation specialising in engineering and technology.

ABS Quality Evaluations Inc.
American Bureau of Shipping quality certification.
Sponsored listings
Frequently Asked Questions
ISO 484-1:1981 is a standard published by the International Organization for Standardization (ISO). Its full title is "Shipbuilding — Ship screw propellers — Manufacturing tolerances — Part 1: Propellers of diameter greater than 2,50 m". This standard covers: Applies to monobloc, built-up and controllable pitch propellers. Defines the various tolerances, describes also methods for measuring pitch, thickness of the section and gives the accuracy classes.
Applies to monobloc, built-up and controllable pitch propellers. Defines the various tolerances, describes also methods for measuring pitch, thickness of the section and gives the accuracy classes.
ISO 484-1:1981 is classified under the following ICS (International Classification for Standards) categories: 47.020.20 - Marine engines and propulsion systems. The ICS classification helps identify the subject area and facilitates finding related standards.
ISO 484-1:1981 has the following relationships with other standards: It is inter standard links to ISO 484-1:2015. Understanding these relationships helps ensure you are using the most current and applicable version of the standard.
ISO 484-1:1981 is available in PDF format for immediate download after purchase. The document can be added to your cart and obtained through the secure checkout process. Digital delivery ensures instant access to the complete standard document.
Standards Content (Sample)
International Standard 48411
INTERNATIONAL ORGANIZATION FOR STANDARDIZATIONWlEIK,QYHAPOAHAR OPl-AHM3AUMR fl0 CTAHAAPTkl3A~MM.ORGANISATION INTERNATIONALE DE &ORMALISATION
Shipbuilding - Ship screw Propellers - Manufacturing
tolerantes -
Part 1 : Propellers of diameter greater than 2,50 m
Cons truc tion navale - H&lices de navires - Tokrances de fabrica tion - Partie I : Helice de diamktre superieur 5 2,50 m
First edition - 1981-08-15
UDC 629.12.037.1 : 621.753.1
Ref. No. ISO 484/1-1981 (E)
Descriptors : shipbuilding, ship screw propellers, manufacturing, measurement, dimensions, toierances, dimensional tolerantes, form
tolerantes, classifications.
Price based on 7 pages
Foreword
ISO (the International Organization for Standardization) is a worldwide federation of
national Standards institutes (ISO member bodies). The work of developing Inter-
national Standards is carried out through ISO technical committees. Every member
body interested in a subject for which a technical committee has been set up has the
right to be represented on that committee. International organizations, governmental
and non-governmental, in liaison with ISO, also take patt in the work.
Draft International Standards adopted by the technical committees are circulated to
the member bodies for approval before their acceptance as International Standards by
the ISO Council.
International Standard ISO 484/1 was developed by Technical Committee ISO/TC 8,
Shipbulding, and was circulated to the member bodies in November 1979.
lt has been approved by the member bodies of the following countries :
Australia France Korea, Rep. of
Austria Germany, F. R. Netherlands
Belgium India Norway
Brazil Ireland Romania
Chile Italy Spain
China Japan USSR
Czechoslovakia Korea, Dem. Rep. of
bodies of the following
The member countries expressed disapproval of the document
on technical grounds :
Poland
Sweden
United Kingdom
This International Standard cancels and replaces ISO Recommendation R 484-1966, of
which it constitutes a technical revision.
0 International Organkation for Standardkation, 1981
Printed in Switzerland
ISO 484/1-1981 (E)
INTERNATIONALSTANDARD
Shipbuilding - Ship screw propellers - Manufacturing
tolerantes -
Part 1 : Propellers of diameter greater than 2,50 m
4 Methods for measuring pitch
0 Introduction
The propeller manufacturer is at liberty to use any equip-
4.1 The principle of one method of measurement consists in
ment and method that enables the tolerantes to be verified to
setting out along a helicoidal line of radius r a certain length
the required accuracy.
PQ, corresponding to the desired angle a, and in measuring the
differente h in the heights of the Points P and Q with respect to
a reference plane. (See figure 1).
1 Scope
The length PQ shall be set out by one of the methods described
This International Standard defines manufacturing tolerantes
in 4.1.1 or 4.1.21).
for ship screw propellers of a diameter greater than 2,50 m.
4.1.1 Use of marking gauges
NOTE - Some deviations for the tolerante should be permitted in cer-
tain cases subject to the discretion of the customer or of the designer
The length PQ shall be set out by means of marking gauges.
and the customer.
4.1.2 Method with a graduated ring
2 Field of application
The length PQ shall be set out by means of angle a on a patt of
This International Standard applies to monobloc, built-up and
a graduated ring of suitable radius (sec figure 1).
controllable pitch propellers.
5 Methods for measuring the thickness
3 References
of the section
ISO/R 468, Surface roughness.
5.1 The thickness of a cylindrical section at a Point S shall be
measured along direction SV (see figure 2) on the plane
ISO 48412, Shipbuilding - Ship screw propellers - Manufac-
turing tolerantes - Part 2 : Propellers of diameters between tangent to the coaxial cylinder and perpendicular to the pitch
line of the pressure side of the section (and only along direction
0,80 m and 230 m inclusive.
SU perpendicular to the pressure side surface or direction ST
parallel to the Propeller axis when defined in this way on the
ISO 3715, Shipbuilding - Ship screw propellers - List of
drawings).
equivalen t terms.
1) Other methods giving the required accuracy may be used if necessary.
ISO 484/1-1981 (El
Small graduated ri
Large graduated rin
Figure 1
,- Pressure side
Developed cylindrical section
l-
Developed section
perpendicular to
the pressure side
/-
V
S
,/‘u ’
S
/
/
/
/
s2
/
S3
/
/
s4
Pressu re side
S5
Figure 2
ISO 484/1-1981 (EI
7.2 The measurement of local pitches for classes S and I is
5.2 The maximum thickness at each radius shall be deter-
further controlled as described in clause 10.
mined by means of a pair of outside calipers or from the Profile
obtained by plotting the thickness at various Points, S, S,, SZ,
7.3 The tolerantes on the local pitch and on the mean pitch
S3, etc.
of each radius of each blade given in table 2 a) and b) are
increased by 50 % for sections at 0,4 R or less.
5.3 For checking the leading and trailing edges, use tan be
made of section templates. These templates shall be calculated
7.4 Should the propeller manufacturer wish to compensate
along a straight path or formed to the pitch and radius of the
for an error on the pitch (inside or outside the tabulated
tested section. The length of these templates shall be at least
tolerantes) by means of an alteration in the Propeller diameter,
15 % of the length of the section with a minimum of 125 mm.
he may do so only with the customer’s agreement.
The leading and trailing edges shall be checked by templates for
7.5 The design pitch is the pitch of the reference line as
classes S and I (see table 1). For the other classes, checking
defined below.
may be required by special request at the time of ordering.
The design pitch line of a section is a helical reference line for
the section in question from which the section ordinates for the
6 Accuracy classes
face and the back are given.
The accuracy class shall be selected by the customer; the
lt could be a line joining the nose and tail of the section but may
indications in table 1 serve as guide in this choice.
be any other conveniently placed helical line.
Table 1
7.6 The local pitch at a Point B (figure 1) is determined by
measuring the differente in height between two Points P and 0
Class Manufacturing accuracy
I I
I
situated at equal distances from Point B and on either side of
Very high accuracy
the latter (BP = BQ) and by multiplying the differente in
High accuracy
height by ~ . This shall be compared with the local pitch as
Medium accuracy
a
calculated from the face offsets for the same Points.
Wide tolerantes
The distance between any two Points used for a local pitch
measurement may range between 100 mm and 400 mm. One
7 Tolerantes on the pitch
pitch measurement is to be near the leading edge, one near the
trailing edge and there shall be at least two other pitch
Table 2
measurements in between. As far as possible the pitch
measurements should be consecutive.
Class
Designation of pitch
Ill
S I II
7.7 The pitch per radius and per blade is determined for each
r
radius by multiplying the differente in height between the
Ib 1,5% I!I 2 % It:3% -
extreme measuring Points by - .
each radius of + 1 % f 1,5% f: 2 % AI 5 %
a
c) Mean pitch per 7.8 The mean pitch per blade is defined as the arithmetic
I!I 0,75 % f 1 % + 1,5% I!I 4 %
mean of the pitches per radius for the blade in question.
. I
I
I I I I
7.9 The mean pitch for the screw Propeller is defined as the
arithmetic mean of the mean pitches per blade.
NOTE - The tolerantes of table 2 are expressed as percentages of the
design pitch corresponding to the radius for designations a) and b) and
the mean design pitch for designations c) and d).
8 Tolerantes on the extreme radius of the
screw Propeller
7.1 Pitch shall be measured at least at the radii indicated in
table 3 below. By agreement between the interested Parties dif-
8.1 The tolerantes in table 4 are expressed as percentages of
ferent radii may be measured.
screw Propeller radius.
Table 3
Table 4
1 Cl
...
Norme internationale
INTERNATlONAL ORGANIZATION FOR STANDARDlZATIONWlE~YHAPO~HAR OPI-AHM3AL&lfI I-IO CTAH~APTM3A~MM@ORGANiSATlON INTERNATIONALE DE NORMALISATION
Construction navale - H6lices de navires - Tokrances
de fabrication -
Partie 1 I Helice de diam&re supbrieur ti 2,50 m
Ship screw propellers - Manufacturing tolerances - Part 1 : Propellers of diameter greater than 2,50 m
Shipbuilding -
Premihe bdition - 1981-08-15
iii
CDU 629.12.037.1 : 621.753.1
- R&f. no : IS0 484/l-1981 (F)
‘c
4:
Descripteurs : construction navale, h6lice de navire, fabrication, mesurage, dimension, tolerance, tolhaxe de dimension, tokrance de forme,
classification.
5:
Prix bash sur 7 pages
Avant-propos
L’ISO (Organisation internationaie de normalisation) est une federation mondiale
d’organismes nationaux de normalisation komites membres de I’ISO). L’elaboration
des Normes internationales est confide aux comites techniques de I’ISO. Chaque
comite membre inter-e& par une etude a le droit de faire partie du comite technique
correspondant. Les organisations internationales, gouvernementales et non gouverne-
mentales, en liaison avec I’ISO, participent egalement aux travaux.
Les projets de Normes internationales adopt& par les comites techniques sont soumis
aux comites membres pour approbation, avant leur acceptation comme Normes inter-
nationales par le Conseil de I’ISO.
La Norme internationale IS0 484/l a ete elaboree par le comite technique ISO/TC 8,
Construction navale, et a ete soumise aux comites membres en novembre 1979.
Les comites membres des pays suivants I’ont approuvee :
Allemagne, R. F. Coree, Rep. dem. p. de Japon
Australie Coree, Rep. de Norvege
Au triche Espagne Pays- Bas
France
Belgique Roumanie
Bresil lnde Tchecoslovaquie
Chili I rlande
URSS
Chine ltalie
Les comites membres des pays suivants I’ont desapprouvee pour des raisons tech-
niques :
Pologne
Royaume-Uni
Suede
Cette Norme internationale annule et remp lace la R ecommandatio n ISO/R 484-l 966,
dont elle constitue une revision technique.
0 Organisation internationale de normalisation, 1981
Imprim en Suisse
IS0 484/l-1981 (F)
NORME INTERNATIONALE
Construction navale - H6lices de navires - Tokrances
de fabrication -
Partie 1 I H6lice de diametre supkieur G 2,50 m
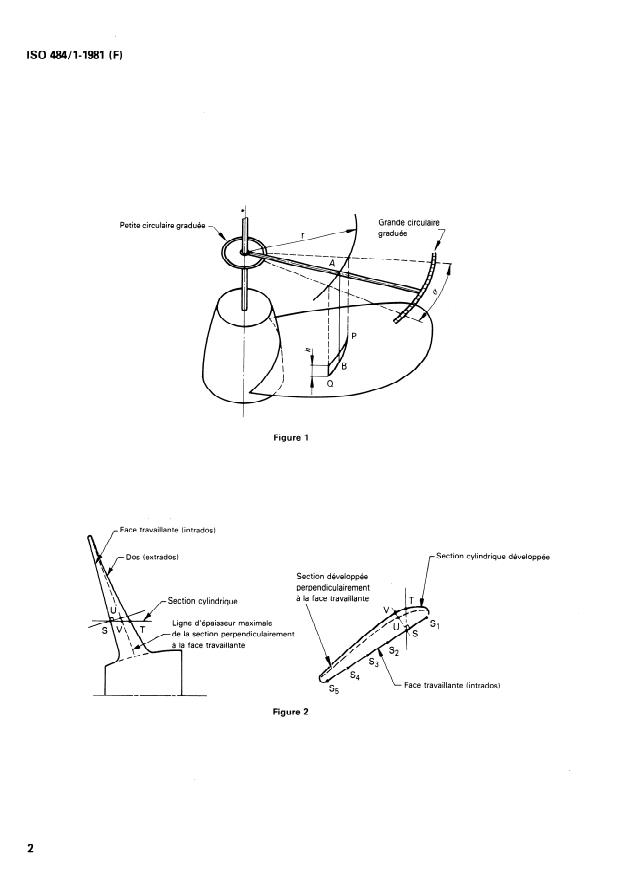
4 Methodes de mesure du pas
0 Introduction
Le choix d’appareils et de methodes de mesures convenables
4.1 Un principe de mesure consiste a porter sur une ligne
est laisse a I’initiative du fabricant de I’helice, a condition que
helicoidale de rayon r une certaine longueur PQ, correspondant
les &arts puissent etre determines avec la precision requise.
a l’angle desire a, et a mesurer la difference h des totes des
points P et Q par rapport a un plan de reference. (Voir
figure 1.)
1 Objet
La longueur PQ doit etre portee en utilisant I’une des methodes
La presente Norme internationale definit les tolerances de fabri-
definies en 4.1.1 ou 4.1.21).
cation des helices de navires d’un diametre superieur a 2,50 m.
4.1.1 Emploi de trusquins
NOTE - Certains depassements des tokances peuvent etre accept&
dans certains cas particuliers, s’ils sont accept& par le client ou par
La longueur PQ doit etre portee au moyen de trusquins.
I’auteur des plans et le client.
4.1.2 Emploi d’une circulaire graduke
2 Domaine d’application
La longueur PQ doit etre caracterisee par I’angle a releve au
La presente Norme internationale s’applique aux helices mono-
moyen d’une circulaire graduee de rayon convenable (voir
blocs, aux helices a ailes rapportees et aux helices a ailes orien-
figure 1).
tables.
5 MBthodes de mesure de ISpaisseur
3 References
des sections
ISO/R 468, Rugosit6 de s&ace.
5.1 L’epaisseur d’une section en un point S doit etre mesu-
ree suivant la direction SV (voir figure 2) sit&e dans le plan
IS0 4&l/2, Construction navale - H&es de navires - To/&
tangent au cylindre coaxial et perpendiculaire a la ligne d’intra-
rances de fabrication - Partie 2 : H&lice de diamktre compris
dos de la section (et seulement selon la direction SU perpendi-
entre 0,80 m et 2,50 m inclus,
culaire 8 la surface de la face travaillante ou selon la direction
ST parallele a I’axe de I’helice, si defini de cette man&e sur les
IS0 3715, Construction navale - H6lices de navires - Liste de
plans).
termes kquivalen ts.
1) D’autres m6thodes donnant I’exactitude requise peuvent 6tre employees en cas de besoin.
IS0 484/l-1981 (F)
\ Grande circulaire
Petite circulaire grad u6e
Figure 1
r Face travaillante (intrados
Section cylindrique dbveloppbe
DOS (extrados)
r
Section dbveloppbe
perpendiculairement
Section cylindrique
Ligne d’epaisseur maximale
de la section perpendiculairement
‘lante (intrados)
Figure 2
IS0 484/l-1981 (F)
7.2 La mesure des pas locaux des classes S et I est de plus
5.2 L’epaisseur maximale pour chaque rayon doit etre deter-
controlee conformement au chapitre IO.
mike au moyen d’un compas d’epaisseur ou a partir du profil
obtenu en faisant le trace graphique des epaisseurs aux points
s, Sl, s2, s3, etc. 7.3 Les tolerances sur le pas local et sur le pas moyen de cha-
que rayon de chaque pale donnees en a) et b) du tableau 2 sont
majorees de 50 % pour les sections a 0,4 R ou en dessous.
5.3 Pour la verification des bords d’attaque et de fuite, on
devra faire usage de calibres. Ces calibres doivent etre calcules
selon une trajectoire rectiligne ou formes au pas et au rayon des
7.4 Si le fabricant de I’helice desire corriger un &art sur le
sections a verifier. La longueur de ces calibres doit etre au
pas (t-entrant ou non dans les tolerances du tableau) par une
moins I5 % de la longueur de la section, avec un minimum de
modification du diametre de I’helice, il ne peut le faire qu’avec
125 mm.
I’agrement du client.
Les bards d’attaque et de fuite doivent etre verifies au moyen
7.5 Le pas theorique est le pas de la ligne en reference definie
de calibres, pour les classes S et I (tableau I). Pour les autres
ci-dessous.
classes, cette verification peut etre exigee sur demande spe-
ciale a la commande.
La ligne du pas theorique pour une section est une ligne helico’i-
dale de reference pour la section consideree, a partir de laquelle
sont donnees les ordonnees de la face et du dos.
6 Classes de prkision
Cette ligne peut etre une ligne reliant les extremites avant et
La classe de precision doit etre choisie par le client, les indica-
arriere de la section ou toute autre ligne helicoidale convenable-
tions du tableau I peuvent servir de guide pour ce choix.
ment sit&e.
Tableau 1
7.6 En un point B (figure I), le pas local est determine en
Prbcision de I’usinage
Classe
r -1 I
mesurant la difference de tote entre deux points P et Q situ& a
Tres grande precision
egale distance du point B et de part et d’autre de celui-ci (soit
Grande precision
-
BP = BQ) et en multipliant la difference de hauteur par - .
Precision moyenne
Cette valeur doit etre comparee avec le pas local calcule a pirtir
Larges tolerances
des totes de la face aux memes points.
La distance entre deux points de mesure peut etre de 100 a
7 Tobances sur le pas
400 mm. Une mesure du pas sera effect&e pres du bord d’atta-
que, une autre pres du bord de fuite et au moins deux autres
Tableau 2
entre les deux. Dans la mesure du possible, les mesures du pas
doivent etre consecutives.
Classe
Dhsignation du pas
s I I 1 II / Ill
r
7.7 Le pas par rayon et par pale est determine pour chaque
a) Pas local f 1,5% z!I 2 % k3% -
rayon en multipliant la difference de hauteur entre les points
b) Pas moyen de
chaque rayon de It 1 % zk 1,5% I!z 2 % extremes de mesure par - .
a
chaque pale
c) Pas moyen par
It 0,75 % I I!I 1 % rt 1,5% 1 + 4% 1
pale 7.8 Le pas moyen par pale est defini comme la moyenne
L
arithmetique des pas par rayon pour la pale consideree.
d) Pas moyen pour
I!I 0,5 % AI 0,75 % I?I 1 % Ik 3 %
I I’helice I I
7.9 Le pas moyen pour I’helice est defini comme la moyenne
NOTE - Les tolerances indiquees dans le tableau 2 sont exprimees en
arithmetique des pas moyens par pale.
pourcentage du pas theorique correspondant au rayon pour les desi-
gnations a) et b) et du pas moyen theorique pour les designations c)
et d).
8 Tolbances sur le rayon extreme de I’hblice
7.1 Le pas sera mesure au moins sur les rayons indiques dans
le tableau 3. Par accord entre les parties interessees, differents
8.1 Les tolerances indiquees dans le tableau 4 sont expr
...
Norme internationale
INTERNATlONAL ORGANIZATION FOR STANDARDlZATIONWlE~YHAPO~HAR OPI-AHM3AL&lfI I-IO CTAH~APTM3A~MM@ORGANiSATlON INTERNATIONALE DE NORMALISATION
Construction navale - H6lices de navires - Tokrances
de fabrication -
Partie 1 I Helice de diam&re supbrieur ti 2,50 m
Ship screw propellers - Manufacturing tolerances - Part 1 : Propellers of diameter greater than 2,50 m
Shipbuilding -
Premihe bdition - 1981-08-15
iii
CDU 629.12.037.1 : 621.753.1
- R&f. no : IS0 484/l-1981 (F)
‘c
4:
Descripteurs : construction navale, h6lice de navire, fabrication, mesurage, dimension, tolerance, tolhaxe de dimension, tokrance de forme,
classification.
5:
Prix bash sur 7 pages
Avant-propos
L’ISO (Organisation internationaie de normalisation) est une federation mondiale
d’organismes nationaux de normalisation komites membres de I’ISO). L’elaboration
des Normes internationales est confide aux comites techniques de I’ISO. Chaque
comite membre inter-e& par une etude a le droit de faire partie du comite technique
correspondant. Les organisations internationales, gouvernementales et non gouverne-
mentales, en liaison avec I’ISO, participent egalement aux travaux.
Les projets de Normes internationales adopt& par les comites techniques sont soumis
aux comites membres pour approbation, avant leur acceptation comme Normes inter-
nationales par le Conseil de I’ISO.
La Norme internationale IS0 484/l a ete elaboree par le comite technique ISO/TC 8,
Construction navale, et a ete soumise aux comites membres en novembre 1979.
Les comites membres des pays suivants I’ont approuvee :
Allemagne, R. F. Coree, Rep. dem. p. de Japon
Australie Coree, Rep. de Norvege
Au triche Espagne Pays- Bas
France
Belgique Roumanie
Bresil lnde Tchecoslovaquie
Chili I rlande
URSS
Chine ltalie
Les comites membres des pays suivants I’ont desapprouvee pour des raisons tech-
niques :
Pologne
Royaume-Uni
Suede
Cette Norme internationale annule et remp lace la R ecommandatio n ISO/R 484-l 966,
dont elle constitue une revision technique.
0 Organisation internationale de normalisation, 1981
Imprim en Suisse
IS0 484/l-1981 (F)
NORME INTERNATIONALE
Construction navale - H6lices de navires - Tokrances
de fabrication -
Partie 1 I H6lice de diametre supkieur G 2,50 m
4 Methodes de mesure du pas
0 Introduction
Le choix d’appareils et de methodes de mesures convenables
4.1 Un principe de mesure consiste a porter sur une ligne
est laisse a I’initiative du fabricant de I’helice, a condition que
helicoidale de rayon r une certaine longueur PQ, correspondant
les &arts puissent etre determines avec la precision requise.
a l’angle desire a, et a mesurer la difference h des totes des
points P et Q par rapport a un plan de reference. (Voir
figure 1.)
1 Objet
La longueur PQ doit etre portee en utilisant I’une des methodes
La presente Norme internationale definit les tolerances de fabri-
definies en 4.1.1 ou 4.1.21).
cation des helices de navires d’un diametre superieur a 2,50 m.
4.1.1 Emploi de trusquins
NOTE - Certains depassements des tokances peuvent etre accept&
dans certains cas particuliers, s’ils sont accept& par le client ou par
La longueur PQ doit etre portee au moyen de trusquins.
I’auteur des plans et le client.
4.1.2 Emploi d’une circulaire graduke
2 Domaine d’application
La longueur PQ doit etre caracterisee par I’angle a releve au
La presente Norme internationale s’applique aux helices mono-
moyen d’une circulaire graduee de rayon convenable (voir
blocs, aux helices a ailes rapportees et aux helices a ailes orien-
figure 1).
tables.
5 MBthodes de mesure de ISpaisseur
3 References
des sections
ISO/R 468, Rugosit6 de s&ace.
5.1 L’epaisseur d’une section en un point S doit etre mesu-
ree suivant la direction SV (voir figure 2) sit&e dans le plan
IS0 4&l/2, Construction navale - H&es de navires - To/&
tangent au cylindre coaxial et perpendiculaire a la ligne d’intra-
rances de fabrication - Partie 2 : H&lice de diamktre compris
dos de la section (et seulement selon la direction SU perpendi-
entre 0,80 m et 2,50 m inclus,
culaire 8 la surface de la face travaillante ou selon la direction
ST parallele a I’axe de I’helice, si defini de cette man&e sur les
IS0 3715, Construction navale - H6lices de navires - Liste de
plans).
termes kquivalen ts.
1) D’autres m6thodes donnant I’exactitude requise peuvent 6tre employees en cas de besoin.
IS0 484/l-1981 (F)
\ Grande circulaire
Petite circulaire grad u6e
Figure 1
r Face travaillante (intrados
Section cylindrique dbveloppbe
DOS (extrados)
r
Section dbveloppbe
perpendiculairement
Section cylindrique
Ligne d’epaisseur maximale
de la section perpendiculairement
‘lante (intrados)
Figure 2
IS0 484/l-1981 (F)
7.2 La mesure des pas locaux des classes S et I est de plus
5.2 L’epaisseur maximale pour chaque rayon doit etre deter-
controlee conformement au chapitre IO.
mike au moyen d’un compas d’epaisseur ou a partir du profil
obtenu en faisant le trace graphique des epaisseurs aux points
s, Sl, s2, s3, etc. 7.3 Les tolerances sur le pas local et sur le pas moyen de cha-
que rayon de chaque pale donnees en a) et b) du tableau 2 sont
majorees de 50 % pour les sections a 0,4 R ou en dessous.
5.3 Pour la verification des bords d’attaque et de fuite, on
devra faire usage de calibres. Ces calibres doivent etre calcules
selon une trajectoire rectiligne ou formes au pas et au rayon des
7.4 Si le fabricant de I’helice desire corriger un &art sur le
sections a verifier. La longueur de ces calibres doit etre au
pas (t-entrant ou non dans les tolerances du tableau) par une
moins I5 % de la longueur de la section, avec un minimum de
modification du diametre de I’helice, il ne peut le faire qu’avec
125 mm.
I’agrement du client.
Les bards d’attaque et de fuite doivent etre verifies au moyen
7.5 Le pas theorique est le pas de la ligne en reference definie
de calibres, pour les classes S et I (tableau I). Pour les autres
ci-dessous.
classes, cette verification peut etre exigee sur demande spe-
ciale a la commande.
La ligne du pas theorique pour une section est une ligne helico’i-
dale de reference pour la section consideree, a partir de laquelle
sont donnees les ordonnees de la face et du dos.
6 Classes de prkision
Cette ligne peut etre une ligne reliant les extremites avant et
La classe de precision doit etre choisie par le client, les indica-
arriere de la section ou toute autre ligne helicoidale convenable-
tions du tableau I peuvent servir de guide pour ce choix.
ment sit&e.
Tableau 1
7.6 En un point B (figure I), le pas local est determine en
Prbcision de I’usinage
Classe
r -1 I
mesurant la difference de tote entre deux points P et Q situ& a
Tres grande precision
egale distance du point B et de part et d’autre de celui-ci (soit
Grande precision
-
BP = BQ) et en multipliant la difference de hauteur par - .
Precision moyenne
Cette valeur doit etre comparee avec le pas local calcule a pirtir
Larges tolerances
des totes de la face aux memes points.
La distance entre deux points de mesure peut etre de 100 a
7 Tobances sur le pas
400 mm. Une mesure du pas sera effect&e pres du bord d’atta-
que, une autre pres du bord de fuite et au moins deux autres
Tableau 2
entre les deux. Dans la mesure du possible, les mesures du pas
doivent etre consecutives.
Classe
Dhsignation du pas
s I I 1 II / Ill
r
7.7 Le pas par rayon et par pale est determine pour chaque
a) Pas local f 1,5% z!I 2 % k3% -
rayon en multipliant la difference de hauteur entre les points
b) Pas moyen de
chaque rayon de It 1 % zk 1,5% I!z 2 % extremes de mesure par - .
a
chaque pale
c) Pas moyen par
It 0,75 % I I!I 1 % rt 1,5% 1 + 4% 1
pale 7.8 Le pas moyen par pale est defini comme la moyenne
L
arithmetique des pas par rayon pour la pale consideree.
d) Pas moyen pour
I!I 0,5 % AI 0,75 % I?I 1 % Ik 3 %
I I’helice I I
7.9 Le pas moyen pour I’helice est defini comme la moyenne
NOTE - Les tolerances indiquees dans le tableau 2 sont exprimees en
arithmetique des pas moyens par pale.
pourcentage du pas theorique correspondant au rayon pour les desi-
gnations a) et b) et du pas moyen theorique pour les designations c)
et d).
8 Tolbances sur le rayon extreme de I’hblice
7.1 Le pas sera mesure au moins sur les rayons indiques dans
le tableau 3. Par accord entre les parties interessees, differents
8.1 Les tolerances indiquees dans le tableau 4 sont expr
...












Questions, Comments and Discussion
Ask us and Technical Secretary will try to provide an answer. You can facilitate discussion about the standard in here.
Loading comments...