IEC 62271-211:2014/COR1:2015
(Corrigendum)Corrigendum 1 - High-voltage switchgear and controlgear - Part 211: Direct connection between power transformers and gas-insulated metal-enclosed switchgear for rated voltages above 52 kV
Corrigendum 1 - High-voltage switchgear and controlgear - Part 211: Direct connection between power transformers and gas-insulated metal-enclosed switchgear for rated voltages above 52 kV
Corrigendum 1 - Appareillage à haute tension - Partie 211: Raccordements directs entre transformateurs de puissance et appareillage sous enveloppe métallique à isolation gazeuse de tensions assignées supérieures à 52 kV
General Information
- Status
- Published
- Publication Date
- 06-Aug-2015
- Technical Committee
- SC 17C - Assemblies
- Current Stage
- DELPUB - Deleted Publication
- Start Date
- 04-Sep-2024
- Completion Date
- 13-Feb-2026
Relations
- Effective Date
- 05-Sep-2023
- Effective Date
- 05-Sep-2023
- Effective Date
- 05-Sep-2023
IEC 62271-211:2014/COR1:2015 - Corrigendum 1 - High-voltage switchgear and controlgear - Part 211: Direct connection between power transformers and gas-insulated metal-enclosed switchgear for rated voltages above 52 kV Released:8/7/2015
Get Certified
Connect with accredited certification bodies for this standard

Intertek Testing Services NA Inc.
Intertek certification services in North America.

UL Solutions
Global safety science company with testing, inspection and certification.

ANCE
Mexican certification and testing association.
Sponsored listings
Frequently Asked Questions
IEC 62271-211:2014/COR1:2015 is a standard published by the International Electrotechnical Commission (IEC). Its full title is "Corrigendum 1 - High-voltage switchgear and controlgear - Part 211: Direct connection between power transformers and gas-insulated metal-enclosed switchgear for rated voltages above 52 kV". This standard covers: Corrigendum 1 - High-voltage switchgear and controlgear - Part 211: Direct connection between power transformers and gas-insulated metal-enclosed switchgear for rated voltages above 52 kV
Corrigendum 1 - High-voltage switchgear and controlgear - Part 211: Direct connection between power transformers and gas-insulated metal-enclosed switchgear for rated voltages above 52 kV
IEC 62271-211:2014/COR1:2015 is classified under the following ICS (International Classification for Standards) categories: 29.130.10 - High voltage switchgear and controlgear. The ICS classification helps identify the subject area and facilitates finding related standards.
IEC 62271-211:2014/COR1:2015 has the following relationships with other standards: It is inter standard links to IEC 62271-211:2014, IEC 62271-211:2014/COR2:2017, IEC 62271-211:2024. Understanding these relationships helps ensure you are using the most current and applicable version of the standard.
IEC 62271-211:2014/COR1:2015 is available in PDF format for immediate download after purchase. The document can be added to your cart and obtained through the secure checkout process. Digital delivery ensures instant access to the complete standard document.
Standards Content (Sample)
IEC 2015
INTERNATIONAL ELECTROTECHNICAL COMMISSION
COMMISSION ÉLECTROTECHNIQUE INTERNATIONALE
____________
IEC 62271-211 IEC 62271-211
Edition 1.0 2014-04 Édition 1.0 2014-04
HIGH-VOLTAGE SWITCHGEAR AND APPAREILLAGE À HAUTE TENSION –
CONTROLGEAR –
Partie 211: Raccordements directs entre
Part 211: Direct connection between power transformateurs de puissance et appareillage
transformers and gas-insulated metal-enclosed sous enveloppe métallique à isolation gazeuse
switchgear for rated voltages above 52 kV de tensions assignées supérieures à 52 kV
CO RRI G E NDUM 1
Corrections to the French version appear after the English text.
Les corrections à la version française sont données après le texte anglais.
IEC 62271-211:2014-04/COR1:2015-08(en-fr)
– 2 – IEC 62271-211:2014/COR1:2015
IEC 2015
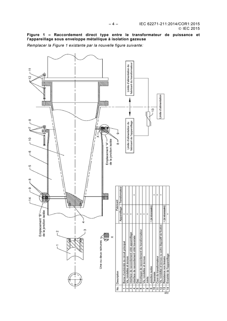
Figure 1 – Typical direct connection between power transformer and gas-insulated
metal-enclosed switchgear
Replace the existing F
...




Questions, Comments and Discussion
Ask us and Technical Secretary will try to provide an answer. You can facilitate discussion about the standard in here.
Loading comments...