ASTM A100-07(2024)
(Specification)Standard Specification for Ferrosilicon
Standard Specification for Ferrosilicon
ABSTRACT
This specification covers grades of ferrosilicon used for steel-making and foundry. The grades shall conform to the required chemical composition for silicon, carbon, sulfur, phosphorous, aluminum, manganese, calcium, and boron. Sizes available of ferrosilicon for various grades are specified. Ferroalloys exhibit varying degrees of friability; therefore, some attrition may be expected in transit, storage, and handling. Chemical analysis of the material shall be made.
SCOPE
1.1 This specification covers grades of ferrosilicon for steelmaking and foundry uses.
1.2 The values stated in inch-pound units are to be regarded as the standard. The metric equivalents of inch-pound units (SI units) given in parentheses may be approximate.
1.3 This international standard was developed in accordance with internationally recognized principles on standardization established in the Decision on Principles for the Development of International Standards, Guides and Recommendations issued by the World Trade Organization Technical Barriers to Trade (TBT) Committee.
General Information
- Status
- Published
- Publication Date
- 29-Feb-2024
- Technical Committee
- A01 - Steel, Stainless Steel and Related Alloys
- Drafting Committee
- A01.18 - Castings
Relations
- Effective Date
- 01-Mar-2024
- Effective Date
- 01-Mar-2024
Overview
ASTM A100-07(2024): Standard Specification for Ferrosilicon establishes technical requirements for various grades of ferrosilicon used in steelmaking and foundry applications. Developed by ASTM International, this standard specifies the chemical composition, sizing, and delivery conditions for ferrosilicon intended as an essential ferroalloy additive in the production of iron and steel. The specification ensures that manufacturers, suppliers, and end-users have clear guidelines regarding material quality and consistent performance in both steel plants and foundries.
Key Topics
Grades and Composition
ASTM A100-07(2024) covers several grades of ferrosilicon, each defined by specific ranges and maximums for silicon, carbon, sulfur, phosphorous, aluminum, manganese, calcium, and boron. Supplementary limits on elements such as chromium, nickel, copper, and titanium may also apply as required by the purchaser.Physical Sizes and Sieve Analysis
Ferrosilicon is supplied in a wide range of standard sizes, such as 8-inch lumps, chips, and granules, conforming to ASTM E11 sieve specifications. Sizing tolerances are provided to support efficient handling and consistent melting behavior.Friability Ratings
The standard addresses friability - the tendency of ferrosilicon to break down during transportation and handling - by assigning friability ratings and noting expected attrition.Testing and Analysis
Chemical analysis for silicon and other alloying elements is performed according to established ASTM methods, ensuring traceability and accuracy for each shipment. The specification outlines procedures for resolving analytical discrepancies.Units and International Recognition
Inch-pound units are standard, with approximate metric equivalents provided. The standard is developed in alignment with the WTO Technical Barriers to Trade (TBT) principles, promoting global harmonization.
Applications
Ferrosilicon produced under ASTM A100-07(2024) is primarily used as:
Deoxidizer and Alloying Agent
In steelmaking, ferrosilicon acts as a deoxidizer, preventing unwanted reactions during steel production, and as an alloying element to impart desirable mechanical properties.Foundry Additive
In foundries, ferrosilicon enhances the quality of cast iron by improving fluidity, strength, and machinability.Control of Microstructure
The specified chemical limits help producers achieve targeted microstructures in both ferrous and non-ferrous alloys.Custom Industrial Requirements
Steel and foundry suppliers can specify grades and sizing of ferrosilicon products tailored to their individual process needs, as documented in the specification.
Related Standards
- ASTM A1025/A1025M: General requirements for ferroalloys and other alloying materials, referenced for delivery and supplementary requirements.
- ASTM E11: Specification for wire cloth and test sieves used for particle size analysis.
- ASTM E360 (withdrawn): Test methods for chemical analysis of silicon and ferrosilicon.
- International Standards and WTO TBT: The specification is aligned with international standardization practices to facilitate global trade and acceptance.
Keywords: ASTM A100, ASTM A100-07(2024), ferrosilicon standard, ferroalloy specification, steelmaking, foundry alloys, chemical analysis, friability, sieving, alloying elements.
Buy Documents
ASTM A100-07(2024) - Standard Specification for Ferrosilicon
Get Certified
Connect with accredited certification bodies for this standard

Element Materials Technology
Materials testing and product certification.
Inštitut za kovinske materiale in tehnologije
Institute of Metals and Technology. Materials testing, metallurgical analysis, NDT.
Sponsored listings
Frequently Asked Questions
ASTM A100-07(2024) is a technical specification published by ASTM International. Its full title is "Standard Specification for Ferrosilicon". This standard covers: ABSTRACT This specification covers grades of ferrosilicon used for steel-making and foundry. The grades shall conform to the required chemical composition for silicon, carbon, sulfur, phosphorous, aluminum, manganese, calcium, and boron. Sizes available of ferrosilicon for various grades are specified. Ferroalloys exhibit varying degrees of friability; therefore, some attrition may be expected in transit, storage, and handling. Chemical analysis of the material shall be made. SCOPE 1.1 This specification covers grades of ferrosilicon for steelmaking and foundry uses. 1.2 The values stated in inch-pound units are to be regarded as the standard. The metric equivalents of inch-pound units (SI units) given in parentheses may be approximate. 1.3 This international standard was developed in accordance with internationally recognized principles on standardization established in the Decision on Principles for the Development of International Standards, Guides and Recommendations issued by the World Trade Organization Technical Barriers to Trade (TBT) Committee.
ABSTRACT This specification covers grades of ferrosilicon used for steel-making and foundry. The grades shall conform to the required chemical composition for silicon, carbon, sulfur, phosphorous, aluminum, manganese, calcium, and boron. Sizes available of ferrosilicon for various grades are specified. Ferroalloys exhibit varying degrees of friability; therefore, some attrition may be expected in transit, storage, and handling. Chemical analysis of the material shall be made. SCOPE 1.1 This specification covers grades of ferrosilicon for steelmaking and foundry uses. 1.2 The values stated in inch-pound units are to be regarded as the standard. The metric equivalents of inch-pound units (SI units) given in parentheses may be approximate. 1.3 This international standard was developed in accordance with internationally recognized principles on standardization established in the Decision on Principles for the Development of International Standards, Guides and Recommendations issued by the World Trade Organization Technical Barriers to Trade (TBT) Committee.
ASTM A100-07(2024) is classified under the following ICS (International Classification for Standards) categories: 77.100 - Ferroalloys. The ICS classification helps identify the subject area and facilitates finding related standards.
ASTM A100-07(2024) has the following relationships with other standards: It is inter standard links to ASTM A100-07(2018), ASTM A1025/A1025M-10(2020). Understanding these relationships helps ensure you are using the most current and applicable version of the standard.
ASTM A100-07(2024) is available in PDF format for immediate download after purchase. The document can be added to your cart and obtained through the secure checkout process. Digital delivery ensures instant access to the complete standard document.
Standards Content (Sample)
This international standard was developed in accordance with internationally recognized principles on standardization established in the Decision on Principles for the
Development of International Standards, Guides and Recommendations issued by the World Trade Organization Technical Barriers to Trade (TBT) Committee.
Designation: A100 − 07 (Reapproved 2024)
Standard Specification for
Ferrosilicon
This standard is issued under the fixed designation A100; the number immediately following the designation indicates the year of
original adoption or, in the case of revision, the year of last revision. A number in parentheses indicates the year of last reapproval. A
superscript epsilon (´) indicates an editorial change since the last revision or reapproval.
1. Scope ments of Specification A1025/A1025M constitutes nonconfor-
mance with this specification. In case of conflict between the
1.1 This specification covers grades of ferrosilicon for
requirements of this specification and Specification A1025/
steelmaking and foundry uses.
A1025M, this specification shall prevail.
1.2 The values stated in inch-pound units are to be regarded
4. Chemical Composition
as the standard. The metric equivalents of inch-pound units (SI
units) given in parentheses may be approximate.
4.1 The various grades shall conform to the requirements as
to chemical composition prescribed in Table 1.
1.3 This international standard was developed in accor-
dance with internationally recognized principles on standard-
4.2 The manufacturer shall furnish an analysis of each
ization established in the Decision on Principles for the
shipment showing the silicon content and, when required, such
Development of International Standards, Guides and Recom-
of the other elements specified in Table 1.
mendations issued by the World Trade Organization Technical
5. Size
Barriers to Trade (TBT) Committee.
5.1 The various grades are available in sizes as listed in
2. Referenced Documents
Table 2.
2.1 ASTM Standards:
5.2 The sizes listed in Table 2 are typical as shipped from
A1025/A1025M Specification for Ferroalloys and Other Al-
the manufacturer’s plant. These alloys exhibit varying degrees
loying Materials, General Requirements
of friability; therefore, some attrition may be expected in
E11 Specification for Woven Wire Test Sieve Cloth and Test
transit, storage, and handling. A quantitative test is not avail-
Sieves
able for rating relative friability of ferroalloys. A code system
E360 Test Methods for Chemical Analysis of Silicon and
has been developed, therefore, for this purpose, and a number
Ferrosilicon (Withdrawn 2006)
rating for each product type is shown in the last column of
Table 2. Definitions applicable to these code numbers are given
3. General Conditions of Delivery
in Specification A1025/A1025M.
3.1 Materials furnished to this specification shall conform to
the requirements of Specification A1025/A1025M, including
6. Chemical Analysis
any supplementary requirements that are indicated in the
6.1 Unless otherwise agreed upon, the chemical analysis of
purchase order. Failure to comply with the general require-
the material shall be made in accordance with Test Methods
E360.
This specification is under the jurisdiction of ASTM Committee A01 on Steel,
6.2 If alternative methods of analysis are used, Methods
Stainless Steel and Related Alloys and is the direct responsibility of Subcommittee
E360 shall be used for referee.
A01.18 on Castings.
Current edition approved March 1, 2024. Published March 2024. Originally
6.3 Where a method is not given in Methods E360 for the
approved in 1925. Last previous edition approved in 2018 as A100 – 07 (2018).
analysis for a particular element, the analysis shall be made in
DOI: 10.1520/A0100-07R24.
For referenced ASTM standards, visit the ASTM website, www.astm.org, or accordance with a procedure agreed upon between the manu-
contact ASTM Customer Service at service@astm.org. For Annual Book of ASTM
facturer and the purchaser.
Standards volume information, refer to the standard’s Document Summary page on
the ASTM website.
7. Keywords
The last approved version of this historical standard is referenced on
www.astm.org. 7.1 ferroalloy; ferrosilicon
Copyright © ASTM International, 100 Barr Harbor Drive, PO Box C700, West Conshohocken, PA 19428-2959. United States
A100 − 07 (2024)
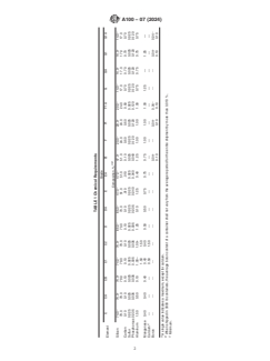
TABLE 1 Chemical Requirements
Grade
C CA CB C1 C2 D DA E EA E1 F F1 F1A G GA G1 G1A
Element
A,B
Composition, %
Silicon 74.0– 74.0– 74.0– 74.0– 74.0– 65.0– 65.0– 47.0– 47.0– 47.0– 20.0– 20.0– 20.0– 14.0– 14.0– 14.0– 14.0–
79.0 79.0 79.0 79.0 79.0 70.0 70.0 51.0 51.0 51.0 24.0 24.0 24.0 17.0 17.0 17.0 17.0
Carbon 0.10 0.10 0.10 0.10 0.10 0.10 0.10 .010 .010 0.10 0.50 0.50 0.50 0.70 0.70 0.70 0.70
Sulfur 0.025 0.025 0.025 0.025 0.025 0.025 0.025 0.025 0.025 0.025 0.025 0.025 0.025 0.025 0.025 0.025 0.025
Phosphorous 0.035 0.035 0.035 0.035 0.035 0.035 0.035 0.040 0.040 0.040 0.120 0.120 0.120 0.120 0.120 0.120 0.120
Aluminum 1.50 0.50 0.10 1.00– 1.00– 1.25 0.10 1.25 0.40 1.25 1.00 1.00 1.00 0.75 0.75 0.75 0.75
1.50 1.50
Manganese 0.40 0.40 0.40 0.40 0.40 0.50 0.50 0.75 0.75 0.75 1.00 1.00 1.00 1.25 — 1.25 —
C
Calcium — — — 0.50 1.50 — — — — — — — — — — — —
Boron
...




Questions, Comments and Discussion
Ask us and Technical Secretary will try to provide an answer. You can facilitate discussion about the standard in here.
Loading comments...