ASTM E2472-12(2018)e3
(Test Method)Standard Test Method for Determination of Resistance to Stable Crack Extension under Low-Constraint Conditions
Standard Test Method for Determination of Resistance to Stable Crack Extension under Low-Constraint Conditions
SIGNIFICANCE AND USE
5.1 This test method characterizes a metallic material’s resistance to stable crack extension in terms of crack-tip-opening angle (CTOA), ψ and/or crack-opening displacement (COD), δ5 under the laboratory or application environment of interest. This method applies specifically to fatigue pre-cracked specimens that exhibit low constraint and that are tested under slowly increasing displacement.
5.2 When conducting fracture tests, the user must consider the influence that the loading rate and laboratory environment may have on the fracture parameters. The user should perform a literature review to determine if loading rate effects have been observed previously in the material at the specific temperature and environment being tested. The user should document specific information pertaining to their material, loading rates, temperature, and environment (relative humidity) for each test.
5.3 The results of this characterization include the determination of a critical, lower-limiting value, of CTOA (ψc) or a resistance curve of δ5, a measure of crack-opening displacement against crack extension, or both.
5.4 The test specimens are the compact, C(T), and middle-crack-tension, M(T), specimens.
5.5 Materials that can be evaluated by this standard are not limited by strength, thickness, or toughness, if the crack-size-to-thickness (a/B) ratio or ligament-to-thickness (b/B) ratio are equal to or greater than 4, which ensures relatively low and similar global crack-front constraint for both the C(T) and M(T) specimens (2, 3).
5.6 The values of CTOA and COD (δ5) determined by this test method may serve the following purposes:
5.6.1 In research and development, CTOA (ψc) or COD (δ5), or both, testing can show the effects of certain parameters on the resistance to stable crack extension of metallic materials significant to service performance. These parameters include, but are not limited to, material thickness, material composition, thermo-mechanical processing,...
SCOPE
1.1 This standard covers the determination of the resistance to stable crack extension in metallic materials in terms of the critical crack-tip-opening angle (CTOA), ψc and/or the crack-opening displacement (COD), δ5 resistance curve (1).2 This method applies specifically to fatigue pre-cracked specimens that exhibit low constraint (crack-size-to-thickness and un-cracked ligament-to-thickness ratios greater than or equal to 4) and that are tested under slowly increasing remote applied displacement. The test specimens are the compact, C(T), and middle-crack-tension, M(T), specimens. The fracture resistance determined in accordance with this standard is measured as ψc (critical CTOA value) and/or δ5 (critical COD resistance curve) as a function of crack extension. Both fracture resistance parameters are characterized using either a single-specimen or multiple-specimen procedures. These fracture quantities are determined under the opening mode (Mode I) of loading. Influences of environment and rapid loading rates are not covered in this standard, but the user must be aware of the effects that the loading rate and laboratory environment may have on the fracture behavior of the material.
1.2 Materials that are evaluated by this standard are not limited by strength, thickness, or toughness, if the crack-size-to-thickness (a/B) ratio and the ligament-to-thickness (b/B) ratio are greater than or equal to 4, which ensures relatively low and similar global crack-front constraint for both the C(T) and M(T) specimens (2, 3).
1.3 The values stated in SI units are to be regarded as standard. No other units of measurement are included in this standard.
1.4 This standard does not purport to address all of the safety concerns, if any, associated with its use. It is the responsibility of the user of this standard to establish appropriate safety, health, and environmental practices and determine the applicability of regulatory lim...
General Information
- Status
- Published
- Publication Date
- 31-Oct-2018
- Technical Committee
- E08 - Fatigue and Fracture
- Drafting Committee
- E08.07 - Fracture Mechanics
Relations
- Effective Date
- 01-Nov-2018
- Effective Date
- 01-Nov-2018
- Effective Date
- 01-Nov-2018
Overview
ASTM E2472-12(2018)e3 is an international standard issued by ASTM International for the determination of resistance to stable crack extension under low-constraint conditions in metallic materials. The test method characterizes a material's resistance to crack growth using parameters like crack-tip-opening angle (CTOA) and crack-opening displacement (COD, δ5). The standard is specifically structured to assess fatigue pre-cracked specimens exhibiting low constraint, typically in configurations such as compact, C(T), and middle-crack-tension, M(T), specimens.
This test is critical in understanding how metallic materials behave under extended crack growth, particularly in environments and scenarios reflective of real-world applications. It provides valuable data for research, development, and quality control within industries reliant on metallic components’ structural integrity.
Key Topics
- Material Resistance to Stable Crack Extension: The primary focus is on determining how well metallic materials can resist progressive crack growth under slowly increasing displacement.
- Measurement Parameters:
- Crack-Tip-Opening Angle (CTOA, ψ), especially its critical steady-state value (ψc)
- Crack-Opening Displacement (COD, δ5), presented as a resistance curve versus crack extension
- Applicable Specimens: Emphasis on fatigue pre-cracked, low constraint compact (C(T)) and middle-crack-tension (M(T)) specimens, with specific geometric requirements to ensure low global crack-front constraint (a/B and b/B ratios ≥ 4).
- Testing Conditions: Tests are performed under controlled, slowly increasing remote applied displacement. The effects of laboratory environment, temperature, and loading rate on fracture parameters should be considered and documented.
- Documentation: Precise documentation of testing conditions-material characteristics, loading rates, temperature, and humidity-is required.
- Fracture Resistance Determination: CTOA (ψc) or COD (δ5) values serve as benchmarks for material selection, R&D, and engineering analysis.
Applications
This ASTM standard has broad practical applications in various fields requiring reliable assessment of metallic materials’ fracture toughness:
- Research & Development: Enables engineers and scientists to study effects of factors such as material composition, thickness, thermo-mechanical processing, and welding on crack resistance.
- Material Qualification & Quality Control: Supports base material specification and acceptance, ensuring material reliability before deployment in service.
- Design & Structural Assessment: CTOA (ψc) and COD (δ5) values can be used in conjunction with finite-element analyses for accurate prediction of structural performance of cracked components.
- Inspection & Flaw Assessment: Provides a framework for evaluating tolerance to flaws or defects in metallic structures, contributing to safe failure assessments.
- Industry Sectors: Aerospace, automotive, civil infrastructure, and energy sectors benefit from these test procedures for safety-critical components where fracture resistance is paramount.
Related Standards
Several other key standards are referenced or related to ASTM E2472-12(2018)e3 for comprehensive evaluation of metallic materials’ fracture behavior:
- ASTM E399 – Test Method for Linear-Elastic Plane-Strain Fracture Toughness of Metallic Materials
- ASTM E647 – Test Method for Measurement of Fatigue Crack Growth Rates
- ASTM E1820 – Test Method for Measurement of Fracture Toughness
- ASTM E561 – K-R Curve Determination
- ASTM E2309 – Verification of Displacement Measuring Systems and Devices
- ISO 22889:2007 – Metallic Materials-Method of Test for the Determination of Resistance to Stable Crack Extension Using Specimens of Low Constraint
- ISO 12135 – Metallic Materials-Unified Method of Test for the Determination of Quasistatic Fracture Toughness
These related documents provide a broad context for selecting and performing appropriate fracture mechanics tests for various engineering and research applications.
By following ASTM E2472-12(2018)e3, organizations gain robust, repeatable, and internationally recognized methods to ensure the fracture resistance of metallic materials, contributing to safer and more reliable product and infrastructure designs.
Buy Documents
ASTM E2472-12(2018)e3 - Standard Test Method for Determination of Resistance to Stable Crack Extension under Low-Constraint Conditions
Get Certified
Connect with accredited certification bodies for this standard

Element Materials Technology
Materials testing and product certification.
Inštitut za kovinske materiale in tehnologije
Institute of Metals and Technology. Materials testing, metallurgical analysis, NDT.
Sponsored listings
Frequently Asked Questions
ASTM E2472-12(2018)e3 is a standard published by ASTM International. Its full title is "Standard Test Method for Determination of Resistance to Stable Crack Extension under Low-Constraint Conditions". This standard covers: SIGNIFICANCE AND USE 5.1 This test method characterizes a metallic material’s resistance to stable crack extension in terms of crack-tip-opening angle (CTOA), ψ and/or crack-opening displacement (COD), δ5 under the laboratory or application environment of interest. This method applies specifically to fatigue pre-cracked specimens that exhibit low constraint and that are tested under slowly increasing displacement. 5.2 When conducting fracture tests, the user must consider the influence that the loading rate and laboratory environment may have on the fracture parameters. The user should perform a literature review to determine if loading rate effects have been observed previously in the material at the specific temperature and environment being tested. The user should document specific information pertaining to their material, loading rates, temperature, and environment (relative humidity) for each test. 5.3 The results of this characterization include the determination of a critical, lower-limiting value, of CTOA (ψc) or a resistance curve of δ5, a measure of crack-opening displacement against crack extension, or both. 5.4 The test specimens are the compact, C(T), and middle-crack-tension, M(T), specimens. 5.5 Materials that can be evaluated by this standard are not limited by strength, thickness, or toughness, if the crack-size-to-thickness (a/B) ratio or ligament-to-thickness (b/B) ratio are equal to or greater than 4, which ensures relatively low and similar global crack-front constraint for both the C(T) and M(T) specimens (2, 3). 5.6 The values of CTOA and COD (δ5) determined by this test method may serve the following purposes: 5.6.1 In research and development, CTOA (ψc) or COD (δ5), or both, testing can show the effects of certain parameters on the resistance to stable crack extension of metallic materials significant to service performance. These parameters include, but are not limited to, material thickness, material composition, thermo-mechanical processing,... SCOPE 1.1 This standard covers the determination of the resistance to stable crack extension in metallic materials in terms of the critical crack-tip-opening angle (CTOA), ψc and/or the crack-opening displacement (COD), δ5 resistance curve (1).2 This method applies specifically to fatigue pre-cracked specimens that exhibit low constraint (crack-size-to-thickness and un-cracked ligament-to-thickness ratios greater than or equal to 4) and that are tested under slowly increasing remote applied displacement. The test specimens are the compact, C(T), and middle-crack-tension, M(T), specimens. The fracture resistance determined in accordance with this standard is measured as ψc (critical CTOA value) and/or δ5 (critical COD resistance curve) as a function of crack extension. Both fracture resistance parameters are characterized using either a single-specimen or multiple-specimen procedures. These fracture quantities are determined under the opening mode (Mode I) of loading. Influences of environment and rapid loading rates are not covered in this standard, but the user must be aware of the effects that the loading rate and laboratory environment may have on the fracture behavior of the material. 1.2 Materials that are evaluated by this standard are not limited by strength, thickness, or toughness, if the crack-size-to-thickness (a/B) ratio and the ligament-to-thickness (b/B) ratio are greater than or equal to 4, which ensures relatively low and similar global crack-front constraint for both the C(T) and M(T) specimens (2, 3). 1.3 The values stated in SI units are to be regarded as standard. No other units of measurement are included in this standard. 1.4 This standard does not purport to address all of the safety concerns, if any, associated with its use. It is the responsibility of the user of this standard to establish appropriate safety, health, and environmental practices and determine the applicability of regulatory lim...
SIGNIFICANCE AND USE 5.1 This test method characterizes a metallic material’s resistance to stable crack extension in terms of crack-tip-opening angle (CTOA), ψ and/or crack-opening displacement (COD), δ5 under the laboratory or application environment of interest. This method applies specifically to fatigue pre-cracked specimens that exhibit low constraint and that are tested under slowly increasing displacement. 5.2 When conducting fracture tests, the user must consider the influence that the loading rate and laboratory environment may have on the fracture parameters. The user should perform a literature review to determine if loading rate effects have been observed previously in the material at the specific temperature and environment being tested. The user should document specific information pertaining to their material, loading rates, temperature, and environment (relative humidity) for each test. 5.3 The results of this characterization include the determination of a critical, lower-limiting value, of CTOA (ψc) or a resistance curve of δ5, a measure of crack-opening displacement against crack extension, or both. 5.4 The test specimens are the compact, C(T), and middle-crack-tension, M(T), specimens. 5.5 Materials that can be evaluated by this standard are not limited by strength, thickness, or toughness, if the crack-size-to-thickness (a/B) ratio or ligament-to-thickness (b/B) ratio are equal to or greater than 4, which ensures relatively low and similar global crack-front constraint for both the C(T) and M(T) specimens (2, 3). 5.6 The values of CTOA and COD (δ5) determined by this test method may serve the following purposes: 5.6.1 In research and development, CTOA (ψc) or COD (δ5), or both, testing can show the effects of certain parameters on the resistance to stable crack extension of metallic materials significant to service performance. These parameters include, but are not limited to, material thickness, material composition, thermo-mechanical processing,... SCOPE 1.1 This standard covers the determination of the resistance to stable crack extension in metallic materials in terms of the critical crack-tip-opening angle (CTOA), ψc and/or the crack-opening displacement (COD), δ5 resistance curve (1).2 This method applies specifically to fatigue pre-cracked specimens that exhibit low constraint (crack-size-to-thickness and un-cracked ligament-to-thickness ratios greater than or equal to 4) and that are tested under slowly increasing remote applied displacement. The test specimens are the compact, C(T), and middle-crack-tension, M(T), specimens. The fracture resistance determined in accordance with this standard is measured as ψc (critical CTOA value) and/or δ5 (critical COD resistance curve) as a function of crack extension. Both fracture resistance parameters are characterized using either a single-specimen or multiple-specimen procedures. These fracture quantities are determined under the opening mode (Mode I) of loading. Influences of environment and rapid loading rates are not covered in this standard, but the user must be aware of the effects that the loading rate and laboratory environment may have on the fracture behavior of the material. 1.2 Materials that are evaluated by this standard are not limited by strength, thickness, or toughness, if the crack-size-to-thickness (a/B) ratio and the ligament-to-thickness (b/B) ratio are greater than or equal to 4, which ensures relatively low and similar global crack-front constraint for both the C(T) and M(T) specimens (2, 3). 1.3 The values stated in SI units are to be regarded as standard. No other units of measurement are included in this standard. 1.4 This standard does not purport to address all of the safety concerns, if any, associated with its use. It is the responsibility of the user of this standard to establish appropriate safety, health, and environmental practices and determine the applicability of regulatory lim...
ASTM E2472-12(2018)e3 is classified under the following ICS (International Classification for Standards) categories: 77.040.10 - Mechanical testing of metals. The ICS classification helps identify the subject area and facilitates finding related standards.
ASTM E2472-12(2018)e3 has the following relationships with other standards: It is inter standard links to ASTM E2472-12(2018)e2, ASTM E3039-20, ASTM E1823-24a. Understanding these relationships helps ensure you are using the most current and applicable version of the standard.
ASTM E2472-12(2018)e3 is available in PDF format for immediate download after purchase. The document can be added to your cart and obtained through the secure checkout process. Digital delivery ensures instant access to the complete standard document.
Standards Content (Sample)
This international standard was developed in accordance with internationally recognized principles on standardization established in the Decision on Principles for the
Development of International Standards, Guides and Recommendations issued by the World Trade Organization Technical Barriers to Trade (TBT) Committee.
´3
Designation: E2472 − 12 (Reapproved 2018)
Standard Test Method for
Determination of Resistance to Stable Crack Extension
under Low-Constraint Conditions
This standard is issued under the fixed designation E2472; the number immediately following the designation indicates the year of
original adoption or, in the case of revision, the year of last revision. A number in parentheses indicates the year of last reapproval. A
superscript epsilon (´) indicates an editorial change since the last revision or reapproval.
ε NOTE—Sections 7.4.1, 7.4.2, 9.3.1.4, A1.1.3, A2.1.3, and Fig. 7 were editorially corrected in May 2020.
ε NOTE—Section A2.1.3 was editorially corrected in June 2023.
ε NOTE—Section 3.2.21 was editorially corrected in April 2024.
1. Scope 1.4 This standard does not purport to address all of the
safety concerns, if any, associated with its use. It is the
1.1 This standard covers the determination of the resistance
responsibility of the user of this standard to establish appro-
to stable crack extension in metallic materials in terms of the
priate safety, health, and environmental practices and deter-
critical crack-tip-opening angle (CTOA), ψ and/or the crack-
c
2 mine the applicability of regulatory limitations prior to use.
opening displacement (COD), δ resistance curve (1). This
1.5 This international standard was developed in accor-
method applies specifically to fatigue pre-cracked specimens
dance with internationally recognized principles on standard-
that exhibit low constraint (crack-size-to-thickness and un-
ization established in the Decision on Principles for the
cracked ligament-to-thickness ratios greater than or equal to 4)
Development of International Standards, Guides and Recom-
and that are tested under slowly increasing remote applied
mendations issued by the World Trade Organization Technical
displacement. The test specimens are the compact, C(T), and
Barriers to Trade (TBT) Committee.
middle-crack-tension, M(T), specimens. The fracture resis-
tance determined in accordance with this standard is measured
2. Referenced Documents
as ψ (critical CTOA value) and/or δ (critical COD resistance
c 5
2.1 ASTM Standards:
curve) as a function of crack extension. Both fracture resis-
E4 Practices for Force Calibration and Verification of Test-
tance parameters are characterized using either a single-
ing Machines
specimen or multiple-specimen procedures. These fracture
E8/E8M Test Methods for Tension Testing of Metallic Ma-
quantities are determined under the opening mode (Mode I) of
terials
loading. Influences of environment and rapid loading rates are
not covered in this standard, but the user must be aware of the E399 Test Method for Linear-Elastic Plane-Strain Fracture
Toughness of Metallic Materials
effects that the loading rate and laboratory environment may
have on the fracture behavior of the material. E561 Test Method for K Curve Determination
R
E647 Test Method for Measurement of Fatigue Crack
1.2 Materials that are evaluated by this standard are not
Growth Rates
limited by strength, thickness, or toughness, if the crack-size-
E1290 Test Method for Crack-Tip Opening Displacement
to-thickness (a/B) ratio and the ligament-to-thickness (b/B)
(CTOD) Fracture Toughness Measurement (Withdrawn
ratio are greater than or equal to 4, which ensures relatively
2013)
low and similar global crack-front constraint for both the C(T)
E1820 Test Method for Measurement of Fracture Toughness
and M(T) specimens (2, 3).
E1823 Terminology Relating to Fatigue and Fracture Testing
1.3 The values stated in SI units are to be regarded as
E2309 Practices for Verification of Displacement Measuring
standard. No other units of measurement are included in this
Systems and Devices Used in Material Testing Machines
standard.
This test method is under the jurisdiction of ASTM Committee E08 on Fatigue
and Fracture and is the direct responsibility of Subcommittee E08.07 on Fracture
Mechanics. For referenced ASTM standards, visit the ASTM website, www.astm.org, or
Current edition approved Nov. 1, 2018. Published December 2018. Originally contact ASTM Customer Service at service@astm.org. For Annual Book of ASTM
ε1
approved in 2006. Last previous edition approved in 2012 as E2472–12 . DOI: Standards volume information, refer to the standard’s Document Summary page on
10.1520/E2472-12R18E03. the ASTM website.
2 4
The boldface numbers in parentheses refer to the list of references at the end of The last approved version of this historical standard is referenced on
this standard. www.astm.org.
Copyright © ASTM International, 100 Barr Harbor Drive, PO Box C700, West Conshohocken, PA 19428-2959. United States
´3
E2472 − 12 (2018)
2.2 ISO Standards: 3.2.6 crack-tip-opening displacement (CTOD), δ [L],
ISO 22889:2007 Metallic Materials—Method of Test for the n—relative displacement of crack surfaces resulting from the
Determination of Resistance to Stable Crack Extension total deformation (elastic plus plastic) measured (or calculated)
Using Specimens of Low Constraint at 1- mm behind the current crack tip as the crack stably tears.
ISO 12135 Metallic Materials—Unified Method of Test for
3.2.7 critical crack-tip-opening displacement (CTOD ), δ
c 1c
the Determination of Quasistatic Fracture Toughness
[L], n—steady-state relative displacement of crack surfaces
resulting from the total deformation (elastic plus plastic)
3. Terminology
measured (or calculated) at 1-mm behind the current crack tip
3.1 Terminology E1823 is applicable to this test standard.
as the crack stably tears.
3.2 Definitions:
3.2.8 crack extension resistance curve (R curve),
3.2.1 crack extension, Δa [L], n—an increase in crack size.
n—variation of δ with crack extension, Δa.
3.2.1.1 Discussion—It should be noted that in thin-sheet and
-2
3.2.9 effective yield strength, σ [FL ], n—an assumed
Y
thick-plate materials under low constraint conditions, the crack
value of uniaxial yield strength that represents the influence of
extension observed on the surface of the specimen may be
plastic yielding upon fracture test parameters.
significantly less than that in the interior of the specimen due
3.2.9.1 Discussion—Effective yield strength is calculated as
to the effects of crack tunneling. This must be considered if
the average of the 0.2 % offset yield strength σ , and the
direct optical techniques are used to monitor and measure YS
ultimate tensile strength, σ as follows:
free-surface crack extension. Indirect crack extension measure-
TS
ment techniques such as unloading compliance and electric-
σ 5 ~σ 1σ !/2 (1)
Y YS TS
potential drop method may be used in place of (or to comple-
NOTE 1—The yield and ultimate tensile strength are determined from
ment) the direct optical techniques to provide a measure of Test Methods E8/E8M.
average crack extension. (See Test Method E647 for compli-
3.2.9.2 Discussion—In estimating σ , influences of testing
Y
ance methods for C(T) and M(T) specimens; and ISO 12135
conditions, such as loading rate and temperature, should be
and Test Method E647 for electric potential-drop methods for
considered.
C(T) specimens.)
3.2.10 final crack size, a [L], n—crack extension at end of
f
3.2.2 crack size, a [L], n—principal linear dimension used
stable tearing (a = a + Δa ).
f o f
in the calculation of fracture mechanics parameters for through
3.2.11 final remaining ligament, b [L], n—distance from
thickness cracks.
f
the tip of the final crack size to the back edge of the specimen,
3.2.2.1 Discussion—A measure of the crack size after the
that is b = W – a .
fatigue pre-cracking stage is denoted as the original crack size,
f f
a . The value for a may be obtained using surface
o o
3.2.12 force, P [F], n—force applied to a test specimen or to
measurement, unloading compliance, electric-potential drop or
a component.
other methods where validation procedures for the measure-
3.2.13 minimum crack extension, Δa [L], n—crack exten-
min
ments are available.
sion beyond which ψ is nearly constant.
c
3.2.3 crack-tip-opening angle (CTOA), ψ [deg], n—relative
3.2.14 maximum crack extension, Δa [L], n—crack ex-
max
angle of crack surfaces resulting from the total deformation
tension limit for ψ and δ controlled crack extension.
c 5
(elastic plus plastic) measured (or calculated) at 1-mm behind
–1
the current crack tip as the crack stably tears, where ψ = 2 tan
3.2.15 maximum fatigue force, P [F] , n—maximum fatigue
f
(δ /2). force applied to specimen during pre-cracking stage.
-2
3.2.4 critical crack-tip-opening angle (CTOA ), ψ [deg],
3.2.16 modulus of elasticity, E [FL ], n—the ratio of stress
c c
n—steady-state relative angle of crack surfaces resulting from
to corresponding strain below the proportional limit.
the total deformation (elastic plus plastic) measured (or calcu-
3.2.17 notch size, a [L], n—distance from a reference plane
n
lated) at 1-mm behind the current crack tip as the crack stably
to the front of the machined notch, such as the force line in the
–1
tears, where ψ = 2 tan (δ /2).
c 1c
compact specimen to the notch front or from the center line in
3.2.4.1 Discussion—Critical CTOA value tends to approach
the middle-crack-tension specimen to the notch front.
a constant, steady-state value after a small amount of crack
3.2.18 original crack size, a [L], n—the physical crack size
extension (associated with crack tunneling and transition from o
at the start of testing.
flat-to-slant crack extension).
3.2.19 original ligament, b [L], n—distance from the origi-
3.2.5 crack-opening displacement, (COD) δ [L]—force-
o
nal crack front to the back edge of the specimen, that is b = W
induced separation vector between two points. The direction of
o
– a .
the vector is normal to the crack plane (normal to the facing o
surfaces of a crack) at a specified gage length. In this standard,
3.2.20 remaining ligament, b [L], n—distance from the
δ is measured at the fatigue precrack tip location over a gage
5 physical crack front to the back edge of the specimen, that is b
length of 5-mm as the crack stably tears.
= W – a.
3.2.21 specimen thickness, B [L], n—the distance between
Available from International Organization for Standardization (ISO), 1, ch. de
the parallel sides of a test specimen as depicted in Fig. 1, Fig.
la Voie-Creuse, Case postale 56, CH-1211, Geneva 20, Switzerland, http://
www.iso.ch. 2, and Fig. 3.
´3
E2472 − 12 (2018)
FIG. 1 Clevis for Compact, C(T), Specimen Testing
´3
E2472 − 12 (2018)
FIG. 2 Compact, C(T), Specimen with Anti-Buckling Guides
3.2.21.1 Discussion—for side-grooved specimens, the net terized using either a single-specimen or multiple-specimen
thickness, B , is the distance between the roots of the side- procedure. In all cases, tests are performed by applying slowly
N
grooves. increasing displacements to the test specimen and measuring
the forces, displacements, crack extension and angles realized
3.2.22 specimen width, W [L], n—distance from a reference
during the test. The forces, displacements and angles are then
position (for example, the force line of a compact specimen or
used in conjunction with certain pre-test and post-test specimen
center line in the middle-crack-tension specimen) to the rear
measurements to determine the material’s resistance to stable
surface of the specimen. (Note that the total width of the M(T)
crack extension.
specimen is defined as 2W.)
4.3 Four procedures for measuring crack extension are:
4. Summary of Test Method
surface visual, unloading compliance, electrical potential, and
4.1 The objective of this standard is to induce stable crack multiple specimens.
extension in a fatigue pre-cracked, low-constraint test speci-
4.4 Two techniques are presented for measuring CTOA:
men while monitoring and measuring the COD at the original
optical microscopy (OM) (8) and digital image correlation
fatigue pre-crack-tip location (4, 5) or the CTOA (or CTOD) at
(DIC) (9).
1-mm behind the stably tearing crack tip (6, 7), or both. The
4.5 Three techniques are presented for measuring COD: δ
resistance curve associated with the δ measurements and the
clip gage (5), optical microscopy (OM) (8), and digital image
critical limiting value of the CTOA measurements are used to
correlation (DIC) (9).
characterize the corresponding resistance to stable crack ex-
tension. In contrast, the CTOD values determined from Test 4.6 Data generated following the procedures and guidelines
Method E1290 (high-constraint bend specimens) are values at
contained in this standard are labeled qualified data and are
one or more crack extension events, such as the CTOD at the insensitive to in-plane dimensions and specimen type (tension
onset of brittle crack extension with no significant stable crack
or bending forces), but are dependent upon sheet or plate
extension. thickness.
4.2 Either of the fatigue pre-cracked, low-constraint test
5. Significance and Use
specimen configurations specified in this standard [C(T) or
M(T)] may be used to measure or calculate either of the 5.1 This test method characterizes a metallic material’s
fracture resistance parameters considered. The fracture resis- resistance to stable crack extension in terms of crack-tip-
tance parameters, CTOA (or CTOD) and δ , may be charac- opening angle (CTOA), ψ and/or crack-opening displacement
´3
E2472 − 12 (2018)
FIG. 3 Middle-Crack-Tension, M(T), Specimen with Anti-Buckling Guides
(COD), δ under the laboratory or application environment of 5.6 The values of CTOA and COD (δ ) determined by this
5 5
interest. This method applies specifically to fatigue pre-cracked test method may serve the following purposes:
specimens that exhibit low constraint and that are tested under 5.6.1 In research and development, CTOA (ψ ) or COD
c
slowly increasing displacement.
(δ ), or both, testing can show the effects of certain parameters
on the resistance to stable crack extension of metallic materials
5.2 When conducting fracture tests, the user must consider
significant to service performance. These parameters include,
the influence that the loading rate and laboratory environment
but are not limited to, material thickness, material composition,
may have on the fracture parameters. The user should perform
thermo-mechanical processing, welding, and thermal stress
a literature review to determine if loading rate effects have
relief.
been observed previously in the material at the specific
5.6.2 For specifications of acceptance and manufacturing
temperature and environment being tested. The user should
quality control of base materials.
document specific information pertaining to their material,
5.6.3 For inspection and flaw assessment criteria, when used
loading rates, temperature, and environment (relative humid-
in conjunction with fracture mechanics analyses. Awareness of
ity) for each test.
differences that may exist between laboratory test and field
5.3 The results of this characterization include the determi-
conditions is required to make proper flaw assessment.
nation of a critical, lower-limiting value, of CTOA (ψ ) or a
c
5.6.4 The critical CTOA (ψ ) has been used with the
c
resistance curve of δ , a measure of crack-opening displace-
elastic-plastic finite-element method to accurately predict
ment against crack extension, or both.
structural response and force carrying capacity of simple and
5.4 The test specimens are the compact, C(T), and middle-
complex cracked structural components, see Appendix X1.
crack-tension, M(T), specimens.
5.6.5 The δ parameter has been related to the J-integral by
means of the Engineering Treatment Model (ETM) (10) and
5.5 Materials that can be evaluated by this standard are not
provides an engineering approach to predict the structural
limited by strength, thickness, or toughness, if the crack-size-
response and force carrying capacity of cracked structural
to-thickness (a/B) ratio or ligament-to-thickness (b/B) ratio are
components.
equal to or greater than 4, which ensures relatively low and
similar global crack-front constraint for both the C(T) and 5.6.6 The K-R curve method (Practice E561) is similar to
M(T) specimens (2, 3). the δ -resistance curve, in that, the concept has been applied to
´3
E2472 − 12 (2018)
both C(T) and M(T) specimens (under low-constraint condi- with anti-buckling guide plates, as shown in Fig. 2. The
tions) and the K-R curve concept has been used successfully in anti-buckling guide plates must cover a large portion of the
industry (11). However, the δ parameter has been related to specimen. Placing thin sheets of a low friction material, such as
the J-integral and the parameter incorporates the material TFE-fluorocarbon, between the anti-buckling plates and the
non-linear effects in its measurement. Comparisons have also specimen surface, and only hand-tightening the perimeter bolts
been made among various fracture criteria on fracture of C(T), has been shown to provide adequate stability while minimizing
M(T) and a structurally configured crack configuration (12) friction. As shown in Fig. 2, openings must be machined into
that were made of several different materials (two aluminum the anti-buckling plates in the appropriate locations to allow for
alloys and a very ductile steel), and the K-R curve concept was the monitoring and measuring of crack extension and the
found to have limited application, in comparison to the critical crack-tip-opening angles and δ . Measurement of crack-
CTOA (ψ ) concept. mouth-opening displacements using a clip gage may be made
c c
to determine crack size using the unloading compliance
6. Apparatus
method.
6.1 This procedure involves measurement of applied force,
6.3 Fixturing for the Middle-Crack–Tension [M(T)]
P, crack extension, Δa, and crack-opening displacement at the
Specimens—Middle-crack-tension specimens shall be loaded
original fatigue crack tip location or crack-tip-opening angle at
using hydraulically-clamped or bolted grips designed to carry
the current crack tip, or both. Testing is performed under
the applied force in friction. Bolt bearing should be avoided to
crosshead displacement control in a tension-testing machine
minimize non-uniform loading. The arrangement shall ensure
that conforms to the requirements of Practice E4.
alignment of the specimen to minimize in-plane and out-of-
6.1.1 Calibration—Calibration of all measuring apparatus
plane bending. All specimens shall be tested with anti-buckling
shall be traceable either directly or indirectly via a hierarchical
guide plates, as shown in Fig. 3. The anti-buckling guide plates
chain to an accredited calibration laboratory.
must cover a large portion of the specimen. Support only along
6.1.2 Force Application—The combined force sensing and
the crack plane has been shown to be insufficient to prevent
recording devices shall conform to ASTM standards, such as
buckling between the grip lines and the crack plane for
Practices E4 and E2309. The test machine shall operate at a
thin-sheet materials. Flat plates, as shown in Fig. 3(a), are
constant displacement rate. A force measuring system of
sufficient for small M(T) specimens (2W < 600 mm), but flat
nominal capacity exceeding 1.2P shall be used, where:
L
plates stiffened with I-beams, as illustrated in Fig. 3(b), have
P 5 B W 2 a σ / 2W1a for compact specimen (2)
~ ! ~ !
L o TS o been shown to be required for M(T) specimens with widths
(2W) larger than about 600 mm. As shown in Fig. 3, gap(s) are
P 5 2B ~W 2 a ! σ for middle 2 crack 2 tension specimen (3)
L o TS
left in the anti-buckling plates on either one or both sides of the
6.2 Fixturing for the Compact [C(T)] Specimens—Compact
specimen to allow for the monitoring and measuring of crack
specimens shall be loaded using a clevis and pin arrangement
extension and the crack-tip-opening angles, and δ . Measure-
designed to minimize friction. The arrangement shall ensure
ment of crack-mouth-opening displacements using a clip gage
load train alignment as the specimen is loaded in tension. A
may also be made to determine crack size using the unloading
loading clevis suitable for testing C(T) specimens is shown in
compliance method.
Fig. 1. Each half of the specimen is held by such a clevis and
6.4 Crack Extension Measurement—Several methods can be
loaded through pins, in order to allow rotation of the specimen
used to monitor and measure crack extension: (1) direct optical
during testing. To provide rolling contact between the loading
method, (2) unloading compliance method, (3) electric-
pins and the clevis holes, these holes are produced with small
potential-drop method, and (4) multiple-specimen method.
flats on the loading surfaces. Other clevis designs may be used
Indirect crack extension measurement techniques, such as
if it can be demonstrated that they will accomplish the same
unloading compliance and electric-potential-drop methods
result as the design shown. Round-bottomed holes shall not be
may be used in place of (or to complement) the direct optical
allowed for single specimen (unloading compliance) tests
method to provide a measure of average through-the-thickness
because pin movement may be restricted. Clevises and pins
should be fabricated from steels of sufficient strength and crack extension. The multiple-specimen method is used to
provide information on the extent of tunneling and to deter-
hardness (greater than 40 HRC (400 HV)) to elastically resist
mine a three-point (B ≤ 5 mm) or five-point (B > 5 mm)
indentation forces. The critical tolerances and suggested pro-
weighted average crack extension.
portions of the clevis and pins are given in Fig. 1. The pin
diameter is 0.24W (+0.000W/–0.005 W). The particular con- 6.4.1 Direct Optical Method—The direct optical method
measures the crack size and crack extension on the specimen
figuration and dimensions in the gripping area should be
selected by the user to match the test machine fixtures and free surface using optical microscopes. It should be noted that
in thin-sheet materials and low constraint specimens, the crack
capabilities. These proportions are based on specimens having
W/B = 8. If a 1900-MPa yield strength maraging or stainless extension observed on the free surface of the specimen may be
significantly less than that on the interior of the specimen due
steel is used for the clevis and pins, adequate strength will be
obtained. If a lower strength grip material is used, or if to the effects of crack tunneling. This must be kept in mind if
direct optical techniques are used to monitor and measure
substantially larger specimens are required at a given σ /E
YS
ratio, then heavier grips may be required. Attention should be free-surface crack extension.
given to achieving good alignment through careful machining 6.4.2 Unloading Compliance Method—By the unloading
of all auxiliary gripping fixtures. All specimens shall be tested compliance method, a specimen is partially unloaded and then
´3
E2472 − 12 (2018)
reloaded at specified intervals during the test. The unloading mm behind the current crack tip. Several methods can be used
slopes, which tend to be linear and independent of prior plastic to determine CTOA: (1) direct measurements during stable
deformation, are used to estimate the crack size at each tearing using optical methods (8, 9), (2) post test measurements
unloading from analytical elastic compliance relationships. (microtopography) (17-19), (3) finite element analyses (6-8,
The specimen compliance is determined from either crack-
20-26), and (4) indirect determination using δ . The two
mouth-opening or force-line compliance, and the crack size is techniques that are used for direct measurement of ψ (CTOA)
estimated using compliance equations (see Test Methods E647
during stable tearing of cracks are the Optical Microscopy
and E1820). If the displacement is measured at an alternative (OM) (8) and Digital Image Correlation (DIC) (8, 9) methods.
point, then the appropriate compliance function must be
Both of these methods produce nearly identical CTOA results
developed and utilized. Errors may occur in the compliance
(8, 20).
measurement as a result of displacement-gage transducer
6.6.1.1 Optical Microscopy (OM) Method—This method
non-linearity. Significant improvement in accuracy can be
includes: (a) a long focal length microscope, (b) a high-
achieved by curve-fitting the lowest-order polynomial function
resolution video camera with resolution of 512 by 512 pixels
possible through the calibration data. This method is ideally
(or better) to obtain images of the stably tearing crack, (c) a
suited to computer control and subsequent analysis of the test
recording mechanism to store the images (PC or video
data. However, it should be noted that the method requires
recorder), and (d) a personal computer with both monitor and
careful experimentation and sophisticated test equipment in
software to precisely control the three-dimensional positioning
order to realize its full capability.
of the long focal length microscope and also to analyze the
6.4.3 Electric Potential Drop Method—The electrical poten-
images to obtain CTOA. A transverse magnification of ap-
tial method (13-16) relies on the fact that the distribution of
proximately 320 pixels per mm has been shown to provide
electrical potential in the vicinity of a crack changes with crack
satisfactory results. To obtain clear images of the crack using
extension. With suitable instrumentation, the changes in poten-
OM, the surface of the specimen must be polished to a mirror
tial can be detected and calibrated to provide an estimate of
finish and lighting of the crack region must be carefully
increase in crack size. The applied potential is either direct or
controlled so that the crack tip region has optimum contrast and
alternating and the procedure referred to as either the D.C. or
clarity. Recommended procedures to measure CTOA using this
the A.C. potential technique, respectively. This method is
method will be discussed in 9.1.1 of this document.
ideally suited to computer control and subsequent analysis of
6.6.1.2 Digital Image Correlation (DIC) Method—This
the test data. However, it should be noted that the method
method includes: (a) a video camera, (b) a lens system to
requires careful experimentation and sophisticated test equip-
obtain the appropriate level of magnification (for example, a
ment in order to realize its full capability. (See ISO 12135 and
200 mm lens with 2× magnifier and several extension tubes has
Test Method E647 for descriptions of the electric-potential
been used effectively in previous applications), (c) translation
drop methods for the C(T) specimen.)
stage for positioning of the video camera and following the
6.4.4 Multiple-Specimen Method—The multiple-specimen
growing crack, (d) video monitor to view the crack tip region,
method relies on fatigue marking, heat-tinting, or other means
(e) video board to digitize images, and (f) a microcomputer
to mark the crack front after stable tearing. The multiple-
with software for controlling the image acquisition process and
specimen method is used to provide information on the extent
storing images. The DIC method is similar to previously
of tunneling and to determine a three-point (B ≤ 5 mm) or
reported image correlation systems, except that in this case the
five-point (B > 5 mm) weighted average crack extension.
video camera is translated parallel to the specimen surface
6.5 Force Measurement—The sensitivity of the force-
during the experiment so that the current crack tip remains
sensing device shall be sufficient to avoid distortion caused by
within the field of view. Note that, after each translation of the
over amplification. The combination of force sensing device
video camera, the current image and previous image overlap by
and recording system shall permit the maximum force (P) to be
at least 50 pixels so that a continuous record of crack size is
determined from the test record within an accuracy of 61 %.
maintained if the crack grows beyond the current field of view.
Recommended procedures to measure CTOA using this
6.6 Displacement and Angle Measuring Technique—This
method will be discussed in 9.1.2 of this document.
test method covers the characterization of resistance to stable
6.6.2 Crack-Opening Displacement, δ , Measurement—
crack extension in fatigue pre-cracked (at low ΔK levels),
This procedure involves the displacement-controlled loading of
low-constraint test specimens. Two methods are introduced to
a fatigue pre-cracked, low-constraint specimen, [C(T) or
provide this characterization, the first is based on the crack-
M(T)], while simultaneously measuring the applied force (P),
tip-opening angle (CTOA), ψ, and the second is based on a
crack extension (Δa), and crack-opening displacement (δ )
measure of crack-opening displacement (COD), δ . Both
measured at the original fatigue crack tip location.
methods may employ either a single-specimen or multiple-
specimen procedure. In the following sections, these two 6.6.2.1 Clip-Gage Method——This method includes a dis-
characterizations techniques will be discussed in parallel.
placement gage for the determination of δ at the original
6.6.1 Crack-Tip-Opening Angle Measurement—This proce- fatigue crack tip location and shall have an electrical output
dure involves the displacement-controlled loading of a fatigue that represents the displacement between two precisely located
pre-cracked, low-constraint specimen, C(T) or M(T), while gage positions 5-mm apart and spanning the crack at the
simultaneously measuring the applied force (P), crack exten- original fatigue crack tip location. The basic arrangement for
sion (Δa) and crack-tip-opening angle (CTOA) measured 1 measuring δ is shown in Fig. 4. The area around the expected
´3
E2472 − 12 (2018)
FIG. 4 Basic Clip Gage and Specimen Arrangement for Measuring δ
fatigue pre-crack path is to be polished. After fatigue pre- 200 mm lens with 2× magnifier and several extension tubes has
cracking, Vickers hardness indentations are placed 2.5 mm to been used effectively in previous applications), (c) a translation
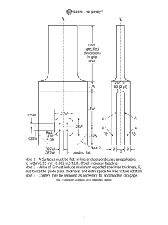
either side of the crack tip to give a gage length of 5 mm. A clip stage for positioning of the video camera and following the
gage with needle tips is seated into the hardness indentations growing crack, (d) video monitor to view the crack tip region,
and held against the specimen using the lever mechanism (e) video board to digitize images, and (f) microcomputer with
shown in Fig. 5 for the compact specimen. Similar arrange- software for controlling the image acquisition process and
ments and clip-gage fixtures are used for middle-crack-tension storing images. The DIC method is similar to previously
specimens. The recommended displacement gage configura- reported systems, except that the video camera remains sta-
tion and dimensions are shown in Fig. 6. The displacement tionary so that the original crack tip remains within the field of
gage has a working range of not more than twice the displace- view. Recommended procedures to measure δ -resistance
ment expected during the test. When the expected displace- curves using this method will be discussed in 9.2 of this
ment is less than 3.75 mm , the gage recommended in Fig. 6 document.
may be used. When a greater working range is needed, an 6.6.2.3 Optical Microscopy (OM) Method—This method
enlarged gage or the optical methods are recommended. includes: (a) a long focal length microscope positioned at the
Accuracy shall be within 61 % of the full working range. In original crack-tip location, (b) a high-resolution video camera
calibration, the maximum deviation of the individual data with resolution of 512 by 512 pixels (or better) to obtain
points from a linear fit to the data shall be less than 60.3 % of images of the displacement field, (c) a recording mechanism to
the working range of the gage. Vickers hardness indentations at store the images (PC or video recorder), and (d) a personal
5-mm gage length are required for seating the gage. The computer with both monitor and software to measure the
displacement gage should be removed from the specimen δ -displacement. After fatigue pre-cracking, Vickers hardness
before the specimen fails. Recommended procedures to mea- indentations are placed 2.5 mm to either side of the crack tip to
sure δ -resistance curves using this method will be discussed in give a gage length of 5 mm. The displacement of the
9.2 of this document. indentation marks is measured as a function of the applied
6.6.2.2 Digital Image Correlation (DIC) Method—This force and crack extension. Recommended procedures to mea-
method includes: (a) a video camera, (b) a lens system to sure δ -resistance curves using this method will be discussed in
obtain the appropriate level of magnification (for example, a 9.2 of this document.
´3
E2472 − 12 (2018)
FIG. 5 Fixtures for Attachment of the δ Clip Gage to Compact Specimen
7. Specimen Configuration, Dimensions, and Preparation and 10 depending on specimen size, notch preparation, and
stress intensity level.) The dimensions of the notch and the
7.1 Materials that can be evaluated by this standard are not
pre-crack, and the sharpness of the pre-crack shall meet certain
limited by strength, thickness, or toughness, if the crack-size-
conditions that can be readily met with most engineering
to-thickness (a/B) ratio or ligament-to-thickness (b/B) ratio are
materials, since the fatigue cracking process can be closely
equal to or greater than 4, which ensures relatively low and
controlled when careful attention is given to the known
similar global crack-front constraint for both the C(T) and
contributory factors. However, there are some materials that
M(T) specimens.
are too brittle to be fatigue-cracked, since they fracture as soon
NOTE 2—The total width of the M(T) specimen is defined as 2W.
as the fatigue crack initiates; these are outside the scope of the
7.2 Specimen Configurations—The crack configurations of
present test method.
the standard specimens are shown in Annex A1 and Annex A2.
7.4.1 Fatigue Crack Starter Notch—Several forms of fa-
To produce a reliable critical CTOA (ψ ) and a large amount of
c tigue crack starter notches are shown in Fig. 7. The notch
the δ -resistance curve, the specimens have a minimum width
height, h, is equal to or less than 5 mm. The notch configura-
(W) of 150 mm.
tions shall fit within the envelope shown by the dashed lines in
Fig. 7. In the case of an electrical-discharge machined slot or a
7.3 Crack Plane Orientation—The crack plane orientation
slot with a drilled hole at the tip, it will be necessary to provide
shall be considered in preparing the test specimen. The
a sharp stress raiser at the end of the slot or hole. To facilitate
orientation of the crack plane in the material of interest can
fatigue cracking at low stress-intensity factor levels, the root
affect the critical crack-opening displacement parameters con-
radius for a straight-through slot terminating in a V-notch
sidered in this standard (see Terminology E1823).
should be 0.2 mm or less.
7.4 Specimen Pre-cracking—All specimens shall be pre-
7.4.2 Fatigue Crack Size—The fatigue crack size from the
cracked in fatigue. Experience has shown that it is impractical
notch front shall be equal to or exceed the envelope, as shown
to obtain a reproducibly sharp, narrow machined notch that
by the dashed lines in Fig. 7. The fatigue crack extension, Δa,
will simulate a natural crack well enough to provide a
shall be equal to or greater than 0.5h, but not less than 2-mm
satisfactory fracture toughness test result. The most effective
in size.
artifice for this purpose is a narrow notch from which extends
a comparatively short fatigue crack, called the pre-crack. (A 7.4.3 Equipment and Fixtures—The equipment and fixtures
fatigue pre-crack is produced by cyclically loading the notched used for fatigue cracking should be such that the stress
specimen for a number of cycles usually between about 10 distribution through the specimen thickness is uniform (no
´3
E2472 − 12 (2018)
FIG. 6 Crack-Opening Displacement, δ , Clip Gage Design
out-of-plane bending); otherwise the crack will not grow where:
-4 1/2
uniformly. The stress distribution should also be symmetrical ξ = 1.6 × 10 m , and
about the plane of the prospective crack (no shear mode stress
21.5
g ~a /W! 5 ~1 2 a /W! ~21a /W!× (5)
1 o o o
intensity factors); otherwise the crack may deviate from that
2 3 4
plane and the test result can be significantly affected. Fixtures 0.88614.64 a /W 2 13.32 a /W 114.72 a /W 2 5.6 a /W
@ ~ ! ~ ! ~ ! ~ ! #
o o o o
used for fatigue cracking should be machined with the same
For middle-crack tension [M(T)] specimens:
tolerances as those used for testing.
21/2
7.4.4 Fatigue Pre-cracking Procedure—Fatigue pre- P 5 ξ E B W @πa sec~πa /~2W!!# (6)
f o o
cracking shall be performed with the material in the finally
where:
heat-treated, mechanically worked, or environmentally condi-
-4 1/2
ξ = 1.6 × 10 m
tioned state. Intermediate treatments between fatigue pre-
7.4.4.3 Measured values of specimen thickness B and width
cracking and testing are acceptable only when such treatments
W should be used to determine the maximum fatigue pre-
are necessary to simulate the conditions of a specific structural
cracking force P .
f
application; such departure from recommended practice shall
7.4.4.4 The ratio of minimum-to-maximum force (R) in the
be explicitly reported.
fatigue cycle shall be in the range 0 to 0.1, except that to
7.4.4.1 The maximum fatigue pre-cracking force during any
expedite crack formation one cycle of R = –1.0 may be first
stage of the fatigue pre-cracking process shall be accurate to
applied.
65 %.
7.4.4.2 Fatigue pre-cracking should be carried out such that
8. Procedure
the maximum fatigue pre-cracking force (P ) during the pre-
f
crack extension shall be equal to or less than:
8.1 Testing Rate—Tests shall be conducted under displace-
For compact [C(T)] specimens:
ment control. Force-line displacement rate shall be such that
1/2
P 5 ξ EB W /g a /W (4) within the linear elastic region the stress intensification rate is
~ !
f 1 o
´3
E2472 − 12 (2018)
FIG. 7 Envelope of Fatigue Crack Starter Notch Configurations
1/2 -1 1/2 -1
within the range 0.2 MPa-m s to 3 MPa-m s . For each 8.3.1 Testing—The stable tearing fracture tests performed
series of tests, all specimens shall be loaded at the same on the pre-cracked, low-constraint specimens consist of a
nominal rate. displacement controlled ramp waveform that would slowly pull
the specimen apart until stable tearing was initiated. Using the
8.2 Specimen Test Temperature—Specimen test temperature
appropriate video equipment, the region around the stably
shall be controlled and recorded to an accuracy of 62°C. Tests
growing crack is to be continuously monitored to allow for the
shall be made in situ in suitable low or high temperature media.
determination of post-test CTOA and crack extension measure-
Before testing in a liquid medium, the specimen shall be
ments. During the fracture tests, the force and load line
retained in the liquid for at least 30 s/mm of thickness B after
displacement signals are to be continuously recorded.
the specimen surface has reached the test temperature. When
using a gaseous medium, a soaking time of at least 60 s/mm of 8.3.2 Single-Specimen CTOA Characterization
thickness shall be employed. Minimum soaking time at the test Technique—In this approach, a single specimen is used to
temperature shall be 15 minutes. The temperature of the test generate CTOA against crack extension data from which the
specimen shall remain within 62°C of the nominal test
critical CTOA value can be determined. Using the displace-
temperature throughout the test and shall be recorded. ment rate specified earlier, the fatigue pre-cracked specimen is
loaded until a stable crack extension event is detected. As the
8.3 Crack-Tip-Opening Angle—The objective of this proce-
fracture test is initiated, the video recording equipment is
dure is to identify CTOA values that can be used as measures
started (for example, typically a video recorder when using
of resistance to stable crack extension in fatigue pre-cracked,
OM method and a digital camera for the DIC method). For
low-constraint specimens [C(T) or M(T)]. This procedure
both methods, images of the crack tip are displayed on a
involves the displacement-controlled loading of a fatigue
monitor. When a stable tearing event is observed, the testing
pre-cracked, low-constraint specimen, C(T) or M(T) while
machine is paused and a record of the force, time, crack size,
simultaneously measuring the applied force (P), crack exten-
and displacement is obtained. At the same time, images are
sion (Δa) and crack-tip-opening angle (CTOA) measured
acquired by the image acquisition system(s) just prior to and
1-mm behind the current crack tip. Using either of the
also just after crack extension.
recommended specimens specified in this test method, the
resistance to stable crack extension may be characterized using 8.3.2.1 While the testing system is paused, adjustments are
the crack-tip-opening angle in either a single-specimen or made to the image acquisition equipment. In the OM method,
multiple-specimen technique. lighting is adjusted and the imaging system is refocused. In the
´3
E2472 − 12 (2018)
DIC method, the digital camera is translated parallel to the crack extension can be characterized using the crack-tip-
crack extension direction to ensure that the crack tip region will opening displacement in either a single-specimen or multiple-
specimen technique.
remain in the field of view during future crack extension. The
displacement loading is then resumed until another stable
8.4.1 Testing—The stable tearing fracture tests performed
tearing event is observed. This process is repeated until
on the pre-cracked, low-constraint specimens consist of a
complete specimen fracture occurs. displacement controlled ramp waveform that would slowly pull
the specimen apart until stable tearing was initiated. Using the
8.3.2.2 As an alternate single specimen CTOA characteriza-
appropriate clip gage fixtures or DIC equipment, or both, the
tion approach, the displacement controlled fracture test may be
displacements at the δ location are to be continuously moni-
run in a continuous (rather than incremental) manner. During 5
tored as a function of crack extension measurements. Using the
this process, images of the crack tip region must be continu-
OM method, the displacement at the δ location is measured as
ously recorded in a synchronized manner with the crack 5
a point value against the corresponding crack-extension mea-
extensions, force, and displacement measurements. For both
surement. During the fracture tests, the force and force-line
the OM and DIC methods, this may require automated trans-
displacement signals are to be continuously recorded.
lation stages to keep the crack tip region in the field of view.
8.4.2 Single-Specimen δ Characterization Technique—A
Once a test is completed, the entire video history is reviewed to
continuous record of δ against crack extension, Δa, is deter-
obtain CTOA and crack size measurements.
mined in a test in the crack extension range zero to Δa . Due
max
8.3.3 Multiple-Specimen CTOA Characterization
to the non-local nature of δ for an extending crack, δ loses its
5 5
Technique—In this approach, multiple specimens are used to
ability to uniquely correlating crack extension for large
generate a series of CTOA against crack extension data points.
amounts of crack extension under bending force, such as those
Each specimen is used to analyze a single stable tearing event,
for the compact specimen. However, the middle-crack-tension
at various stages of crack extension. These data are then
specimen exhibits a different behavior, in that the δ resistance
combined to create a CTOA against crack extension history
curve is unique for large amounts of crack extension.
from
...




Questions, Comments and Discussion
Ask us and Technical Secretary will try to provide an answer. You can facilitate discussion about the standard in here.
Loading comments...