ASTM F910-04(2023)
(Specification)Standard Specification for Face Guards for Youth Baseball
Standard Specification for Face Guards for Youth Baseball
ABSTRACT
This specification covers protective face guards designed to be attached to a pre-existing helmet for youth baseball. General requirements for protective face guards shall include mechanical strength, durability, flexibility, finish, padding, attachment system, and shall not cause skin irritation. The face guard shall undergo velocity and impact testing using apparatus such as headform and mounting, ball propelling device, and gage.
SCOPE
1.1 This specification covers protective face guards for sports such as youth baseball (batters and baserunners).
1.2 This type of face guard is designed to be attached to a pre-existing helmet.
1.3 The equipment covered by this specification is intended to reduce hazards of injury to the face, including eyes and mouth, due to impacts from baseballs or softballs.
1.4 The values stated in SI units are to be regarded as the standard. The values given in parentheses are for information only.
1.5 The following precautionary caveat pertains only to the test method portion, Section 5, of this specification: This standard does not purport to address all of the safety concerns, if any, associated with its use. It is the responsibility of the user of this standard to establish appropriate safety, health, and environmental practices and determine the applicability of regulatory limitations prior to use.
1.6 This international standard was developed in accordance with internationally recognized principles on standardization established in the Decision on Principles for the Development of International Standards, Guides and Recommendations issued by the World Trade Organization Technical Barriers to Trade (TBT) Committee.
General Information
- Status
- Published
- Publication Date
- 31-Jul-2023
- Technical Committee
- F08 - Sports Equipment, Playing Surfaces, and Facilities
- Drafting Committee
- F08.53 - Headgear and Helmets
Overview
ASTM F910-04(2023) is the internationally recognized standard specification for face guards for youth baseball. Developed by ASTM International, this standard outlines comprehensive performance and design requirements for protective face guards intended to be attached to pre-existing helmets. Its primary intent is to reduce the risk of facial injuries, including those to the eyes and mouth, from impacts with baseballs or softballs. This document applies to face guards used by youth baseball batters and baserunners, ensuring that equipment provides effective protection without compromising fit, comfort, or safety.
Key Topics
Scope and Purpose
The standard covers face guards specifically designed for youth baseball, detailing minimum requirements for materials, construction, and performance to withstand typical game impacts.Material Requirements
- Mechanical strength and durability suited for repeated impacts
- Use of flexible, resilient materials that do not cause skin irritation
- No significant loss of strength or flexibility due to sweat, oils, or temperature changes
Design and Finish
- All edges and surfaces must be smooth, without sharp points or irregularities that could cause injury.
- Padding, especially on chin straps, must fully cover hard surfaces that come in contact with the skin and remain secure under normal playing conditions.
Attachment System
- Secure interface between the helmet and face guard to prevent disengagement or reduction in helmet protection.
- Markings must clearly identify the compatible helmet models and manufacturers.
Performance and Testing
- Impact tests simulate baseballs hitting the face guard at speeds representative of youth pitchers (up to ~30 m/s or ~67 mph).
- Testing is conducted at various temperatures to ensure performance under different environmental conditions.
- Face guards must not crack, break, or detach from the helmet during testing.
Applications
Youth Baseball Safety Equipment
This standard is essential for manufacturers and organizations involved in the design, production, and certification of baseball protective gear. By complying with ASTM F910, products help reduce the risk of severe facial injuries for young athletes.Sports Leagues and Regulatory Bodies Leagues can reference ASTM F910 for equipment selection, ensuring that players are provided with face guards that meet international safety benchmarks.
Retail and Distribution Retailers and distributors of youth baseball equipment can use ASTM F910 as a key quality assurance indicator, helping customers choose protective face guards with proven performance.
Quality Control and Educational Use The standard supports quality control processes and educational programs that promote proper helmet and face guard usage, assembly, maintenance, and emergency removal procedures.
Related Standards
- ASTM F1163 - Specification for Helmets Used in Horse Sports and Horseback Riding
- NOCSAE Standards - Test methods and performance requirements for athletic protective equipment, including helmets and face guards
- ISO/IEC Standards on Personal Protective Equipment - Broader requirements for design, performance, and testing of head and face protective gear across disciplines
By following the guidelines in ASTM F910-04(2023), stakeholders in youth baseball can significantly increase protection levels for players, ensuring safer participation in the sport. For further information, always refer to the official publication and consult ASTM International.
Buy Documents
ASTM F910-04(2023) - Standard Specification for Face Guards for Youth Baseball
Get Certified
Connect with accredited certification bodies for this standard

NSF International
Global independent organization facilitating standards development and certification.
CIS Institut d.o.o.
Personal Protective Equipment (PPE) certification body. Notified Body NB-2890 for EU Regulation 2016/425 PPE.

Kiwa BDA Testing
Building and construction product certification.
Sponsored listings
Frequently Asked Questions
ASTM F910-04(2023) is a technical specification published by ASTM International. Its full title is "Standard Specification for Face Guards for Youth Baseball". This standard covers: ABSTRACT This specification covers protective face guards designed to be attached to a pre-existing helmet for youth baseball. General requirements for protective face guards shall include mechanical strength, durability, flexibility, finish, padding, attachment system, and shall not cause skin irritation. The face guard shall undergo velocity and impact testing using apparatus such as headform and mounting, ball propelling device, and gage. SCOPE 1.1 This specification covers protective face guards for sports such as youth baseball (batters and baserunners). 1.2 This type of face guard is designed to be attached to a pre-existing helmet. 1.3 The equipment covered by this specification is intended to reduce hazards of injury to the face, including eyes and mouth, due to impacts from baseballs or softballs. 1.4 The values stated in SI units are to be regarded as the standard. The values given in parentheses are for information only. 1.5 The following precautionary caveat pertains only to the test method portion, Section 5, of this specification: This standard does not purport to address all of the safety concerns, if any, associated with its use. It is the responsibility of the user of this standard to establish appropriate safety, health, and environmental practices and determine the applicability of regulatory limitations prior to use. 1.6 This international standard was developed in accordance with internationally recognized principles on standardization established in the Decision on Principles for the Development of International Standards, Guides and Recommendations issued by the World Trade Organization Technical Barriers to Trade (TBT) Committee.
ABSTRACT This specification covers protective face guards designed to be attached to a pre-existing helmet for youth baseball. General requirements for protective face guards shall include mechanical strength, durability, flexibility, finish, padding, attachment system, and shall not cause skin irritation. The face guard shall undergo velocity and impact testing using apparatus such as headform and mounting, ball propelling device, and gage. SCOPE 1.1 This specification covers protective face guards for sports such as youth baseball (batters and baserunners). 1.2 This type of face guard is designed to be attached to a pre-existing helmet. 1.3 The equipment covered by this specification is intended to reduce hazards of injury to the face, including eyes and mouth, due to impacts from baseballs or softballs. 1.4 The values stated in SI units are to be regarded as the standard. The values given in parentheses are for information only. 1.5 The following precautionary caveat pertains only to the test method portion, Section 5, of this specification: This standard does not purport to address all of the safety concerns, if any, associated with its use. It is the responsibility of the user of this standard to establish appropriate safety, health, and environmental practices and determine the applicability of regulatory limitations prior to use. 1.6 This international standard was developed in accordance with internationally recognized principles on standardization established in the Decision on Principles for the Development of International Standards, Guides and Recommendations issued by the World Trade Organization Technical Barriers to Trade (TBT) Committee.
ASTM F910-04(2023) is classified under the following ICS (International Classification for Standards) categories: 13.340.20 - Head protective equipment; 97.220.40 - Outdoor and water sports equipment. The ICS classification helps identify the subject area and facilitates finding related standards.
ASTM F910-04(2023) is available in PDF format for immediate download after purchase. The document can be added to your cart and obtained through the secure checkout process. Digital delivery ensures instant access to the complete standard document.
Standards Content (Sample)
This international standard was developed in accordance with internationally recognized principles on standardization established in the Decision on Principles for the
Development of International Standards, Guides and Recommendations issued by the World Trade Organization Technical Barriers to Trade (TBT) Committee.
Designation: F910 − 04 (Reapproved 2023) An American National Standard
Standard Specification for
Face Guards for Youth Baseball
This standard is issued under the fixed designation F910; the number immediately following the designation indicates the year of original
adoption or, in the case of revision, the year of last revision. A number in parentheses indicates the year of last reapproval. A superscript
epsilon (´) indicates an editorial change since the last revision or reapproval.
INTRODUCTION
In baseball, or similar sports, where the force of a pitched, hit, or deflected ball can cause facial
injury, there is a need for head, facial, eye, and teeth protection. After careful consideration of the
mechanisms and forces involved in this context, this specification for eye and facial protective
equipment has been prepared.
The impact test is designed to approximate the impact of a direct perpendicular blow from a
baseball traveling at 30 m/s (67.1 mph). These speeds have been confirmed by actual measurements
on baseballs thrown by youth league pitchers. Performance and design requirements developed on this
basis are intended to minimize injury and to prolong the useful life of the equipment. However,
because of complex interactions of variables such as ball speed, direction and point of impact, and
particularly, individual differences in reaction to impact forces, it must be kept in mind that some
injuries, even some serious injuries, are still possible.
1. Scope mendations issued by the World Trade Organization Technical
Barriers to Trade (TBT) Committee.
1.1 This specification covers protective face guards for
sports such as youth baseball (batters and baserunners).
2. General Requirements
1.2 This type of face guard is designed to be attached to a
2.1 Materials:
pre-existing helmet.
2.1.1 The design of the face guards and the choice of
1.3 The equipment covered by this specification is intended
materials shall be such as to combine mechanical strength and
to reduce hazards of injury to the face, including eyes and
durability consistent with the intended use of the equipment.
mouth, due to impacts from baseballs or softballs.
2.1.2 Materials coming into contact with the wearer’s face
1.4 The values stated in SI units are to be regarded as the shall not be a type known to cause skin irritation or disease,
standard. The values given in parentheses are for information and shall not undergo significant loss of strength, flexibility, or
only. other physical change as a result of contact with perspiration,
oil, or grease from the wearer’s head or skin.
1.5 The following precautionary caveat pertains only to the
test method portion, Section 5, of this specification: This
2.2 Finishes—All points shall be well finished, and free of
standard does not purport to address all of the safety concerns,
sharp edges or other irregularities that would present potential
if any, associated with its use. It is the responsibility of the user
hazards of scratching and cutting the user or an opposing
of this standard to establish appropriate safety, health, and
player.
environmental practices and determine the applicability of
2.3 Padding—Where padded chin straps are used, the pad-
regulatory limitations prior to use.
ding material shall be attached to the device in such a way as
1.6 This international standard was developed in accor-
to cover all the hard surfaces that come into contact with the
dance with internationally recognized principles on standard-
chin. The method of securing padding shall maintain the
ization established in the Decision on Principles for the
padding material in position under normal conditions of heat,
Development of International Standards, Guides and Recom-
cold, moisture, or force distortion by the wearer. Any adhesive
used to attach the padding to the face guard shall be of such a
type as to cause no deterioration or stress of the face guard
This specification is under the jurisdiction of ASTM Committee F08 on Sports
material.
Equipment, Playing Surfaces, and Facilities and is the direct responsibility of
Subcommittee F08.53 on Headgear and Helmets.
2.4 Attachment System—Face guards shall be attached to the
Current edition approved Aug. 1, 2023. Published August 2023. Originally
helmet in such a way as to avoid reduction of the degree of
approved in 1985. Last previous edition approved in 2015 as F910 – 04 (2015).
DOI: 10.1520/F0910-04R23. protection offered by the helmet or the combination of helmet
Copyright © ASTM International, 100 Barr Harbor Drive, PO Box C700, West Conshohocken, PA 19428-2959. United States
F910 − 04 (2023)
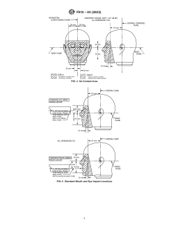
and guard. The protection offered by the helmet or guard shall any part of the face guard (from Zone A) as a result of the
be considered impaired if there is visual evidence of stress to impact specified in 5.3.1. Paste residue transferred from “no
the helmet or guard or any disengagement of the guard contact areas” as determined above and in Fig. 4 will constitute
following the tests as set forth in 5.3 or while in use. a failure. The paste can be colored using a food coloring or
other suitable material in order to apply different colors to Zone
3. Performance Requirements
A and Zone B so that areas of facial contact are more easily
distinguishable when examining the ball and face guard.
3.1 All testing shall be done with the face guard mounted on
a helmet of a make or model specified by the face guard
4. Sample Preparation
manufacturer and placed on a headform as specified in 5.1.1.
3.2 Impact Requirements: 4.1 Test only face guards as offered for sale and only when
attached to an appropriate helmet.
3.2.1 When testing in accordance with Section 5, the fol-
lowing applies:
4.2 Condition face guards at the temperatures of 36 6 2°C
3.2.1.1 The wire face guard shall be deemed a failure if any
(97 6 4°F) and at 10 6 2°C (50 6 4°F) for a minimum period
weld completely separates or if any fractures in the wire
of 4 h prior to test. The face guard will be tested within 3 min
between any two welds occur on any specimen as a result of
from removal from the conditioning environment. The face
impact.
guard/helmet assemblies may be returned to the conditioning
3.2.1.2 The plastic face guard shall be deemed a failure if
environment in order to meet this requirement. Prior to the
any full-thickness cracks or fractures occur on any specimen as
resumption of testing, specimens must remain in the condition-
a result of impact.
ing environment for a minimum of 15 min for each period up
3.2.1.3 The protection by the face guard shall be deemed a
to 5 min long that they are out of the conditioning environment.
failure if the face guard becomes disengaged from the helmet
4.3 Assemble face guards to the helmets in accordance with
during testing in accordance with 5.3.
instructions provided. (See 7.1.)
3.2.2 Neither the ball nor the face guard may contact Zone
A of Fig. 4. The ball may not contact Zone B, but the face
5. Impact Test Method
guard may contact Zone B as the result o
...




Questions, Comments and Discussion
Ask us and Technical Secretary will try to provide an answer. You can facilitate discussion about the standard in here.
Loading comments...