ASTM C1354/C1354M-22
(Test Method)Standard Test Method for Strength of Individual Stone Anchorages in Dimension Stone
Standard Test Method for Strength of Individual Stone Anchorages in Dimension Stone
SIGNIFICANCE AND USE
5.1 This test method is intended to provide information from which applicable design data can be determined for a given anchor used to support a dimension stone panel. The strength of a limited length of anchor may be related to a longer length of support when the flexibility of the support is properly considered by the designer. Refer to Guide C1242.
SCOPE
1.1 This test method provides procedures for determining the ultimate strength of an assembly consisting of stone with mechanical anchor (anchorage). Load is applied, separately, perpendicular to the surface of the panel and parallel to the surface of the panel. This test is intended to represent the interaction of the anchor with the stone panel. However, influence of the backup structure on the strength of the assemblies is not included.
1.2 This test method is applicable to stone panels supported by mechanical anchors.
1.3 The values stated in either SI units or inch-pound units are to be regarded separately as standard. The values stated in each system may not be exact equivalents; therefore, each system shall be used independently of the other. Combining values from the two systems may result in non-conformance with the standard.
1.4 This standard does not purport to address all of the safety concerns, if any, associated with its use. It is the responsibility of the user of this standard to establish appropriate safety, health, and environmental practices and determine the applicability of regulatory limitations prior to use.
1.5 This international standard was developed in accordance with internationally recognized principles on standardization established in the Decision on Principles for the Development of International Standards, Guides and Recommendations issued by the World Trade Organization Technical Barriers to Trade (TBT) Committee.
General Information
- Status
- Published
- Publication Date
- 31-Dec-2021
- Technical Committee
- C18 - Dimension Stone
- Drafting Committee
- C18.01 - Test Methods
Relations
- Effective Date
- 15-Nov-2023
- Effective Date
- 01-Nov-2023
- Effective Date
- 01-Oct-2023
- Effective Date
- 01-Nov-2019
- Effective Date
- 01-Apr-2019
- Effective Date
- 01-Jul-2018
- Effective Date
- 01-Mar-2018
- Effective Date
- 01-Feb-2018
- Effective Date
- 01-Sep-2016
- Effective Date
- 15-Jul-2015
- Effective Date
- 01-Mar-2015
- Effective Date
- 15-Oct-2014
- Effective Date
- 01-Jun-2014
- Effective Date
- 01-May-2014
- Effective Date
- 15-Jun-2012
Overview
ASTM C1354/C1354M-22 is the internationally recognized standard for testing the strength of individual stone anchorages in dimension stone panels. Developed by ASTM International, this test method provides uniform procedures to determine the ultimate load-bearing capacity of stone panels affixed with mechanical anchors. The method is specifically designed to assess the performance of an assembly-comprising a stone panel and its anchor-when subjected to loads applied either perpendicular or parallel to the panel surface. By simulating real-life load conditions, this standard ensures the safety and reliability of dimension stone construction in architectural and structural applications.
Key Topics
- Test Specimen Preparation: The standard outlines specific requirements for fabricating test assemblies using stone panels and anchors that reflect actual construction conditions.
- Load Application: Procedures are detailed for the separate application of loads perpendicular and parallel to the panel surface, simulating realistic stresses that stone anchorages would encounter in service.
- Failure Observation: The method requires careful documentation of both the load at failure and the mode of failure for each test specimen.
- Units of Measurement: Test results can be reported in SI units or inch-pound units, but mixing systems is not permitted within a single application to ensure conformity.
- Reporting Requirements: Detailed documentation of testing, including the description of specimens, testing procedures, results, and deviations from standard practices, is mandated for transparency and repeatability.
- Suitability and Limitations: The method does not assess the influence of backup structures or address all potential safety concerns; users are responsible for appropriate risk assessments and adherence to local regulatory requirements.
Applications
ASTM C1354/C1354M-22 is widely used in a variety of practical scenarios within the building and construction industry:
- Design Validation: Engineers and architects use the test data to validate or refine the design of mechanical anchorages for dimension stone façades, ensuring systems can safely bear expected loads.
- Quality Assurance: Stone suppliers and contractors employ this standard to demonstrate the suitability and durability of their anchorage systems before installation.
- Code Compliance: Building officials and project consultants reference this standard to confirm that installations meet safety regulations and industry best practices.
- Product Development: Manufacturers of anchors and stone attachment systems rely on the results obtained from this method for product testing and certification.
- Failure Analysis: The test provides insights that can be used to investigate the causes of anchorage or panel failures in the field.
Related Standards
To ensure comprehensive evaluation and installation of dimension stone anchorage systems, ASTM C1354/C1354M-22 is often used in conjunction with the following associated standards:
- ASTM C1242: Guide for Selection, Design, and Installation of Dimension Stone Attachment Systems
- ASTM C1799: Guide to Dimension Stone Test Specimen Sampling and Preparation
- ASTM E4: Practices for Force Calibration and Verification of Testing Machines
- ASTM E575: Practice for Reporting Data from Structural Tests of Building Constructions, Elements, Connections, and Assemblies
By referencing and applying ASTM C1354/C1354M-22, construction professionals can ensure that stone panels anchored in building façades meet stringent safety, durability, and performance criteria, supporting the longevity and structural integrity of modern masonry and architectural stone installations.
Keywords: ASTM C1354/C1354M-22, stone anchor strength, dimension stone, mechanical anchor testing, building façade standards, stone panel attachment, construction safety, architectural stone anchorage, ultimate load test, anchor performance evaluation
Buy Documents
ASTM C1354/C1354M-22 - Standard Test Method for Strength of Individual Stone Anchorages in Dimension Stone
REDLINE ASTM C1354/C1354M-22 - Standard Test Method for Strength of Individual Stone Anchorages in Dimension Stone
Get Certified
Connect with accredited certification bodies for this standard

ICC Evaluation Service
Building products evaluation and certification.

QAI Laboratories
Building and construction product testing and certification.

Aboma Certification B.V.
Specialized in construction, metal, and transport sectors.
Sponsored listings
Frequently Asked Questions
ASTM C1354/C1354M-22 is a standard published by ASTM International. Its full title is "Standard Test Method for Strength of Individual Stone Anchorages in Dimension Stone". This standard covers: SIGNIFICANCE AND USE 5.1 This test method is intended to provide information from which applicable design data can be determined for a given anchor used to support a dimension stone panel. The strength of a limited length of anchor may be related to a longer length of support when the flexibility of the support is properly considered by the designer. Refer to Guide C1242. SCOPE 1.1 This test method provides procedures for determining the ultimate strength of an assembly consisting of stone with mechanical anchor (anchorage). Load is applied, separately, perpendicular to the surface of the panel and parallel to the surface of the panel. This test is intended to represent the interaction of the anchor with the stone panel. However, influence of the backup structure on the strength of the assemblies is not included. 1.2 This test method is applicable to stone panels supported by mechanical anchors. 1.3 The values stated in either SI units or inch-pound units are to be regarded separately as standard. The values stated in each system may not be exact equivalents; therefore, each system shall be used independently of the other. Combining values from the two systems may result in non-conformance with the standard. 1.4 This standard does not purport to address all of the safety concerns, if any, associated with its use. It is the responsibility of the user of this standard to establish appropriate safety, health, and environmental practices and determine the applicability of regulatory limitations prior to use. 1.5 This international standard was developed in accordance with internationally recognized principles on standardization established in the Decision on Principles for the Development of International Standards, Guides and Recommendations issued by the World Trade Organization Technical Barriers to Trade (TBT) Committee.
SIGNIFICANCE AND USE 5.1 This test method is intended to provide information from which applicable design data can be determined for a given anchor used to support a dimension stone panel. The strength of a limited length of anchor may be related to a longer length of support when the flexibility of the support is properly considered by the designer. Refer to Guide C1242. SCOPE 1.1 This test method provides procedures for determining the ultimate strength of an assembly consisting of stone with mechanical anchor (anchorage). Load is applied, separately, perpendicular to the surface of the panel and parallel to the surface of the panel. This test is intended to represent the interaction of the anchor with the stone panel. However, influence of the backup structure on the strength of the assemblies is not included. 1.2 This test method is applicable to stone panels supported by mechanical anchors. 1.3 The values stated in either SI units or inch-pound units are to be regarded separately as standard. The values stated in each system may not be exact equivalents; therefore, each system shall be used independently of the other. Combining values from the two systems may result in non-conformance with the standard. 1.4 This standard does not purport to address all of the safety concerns, if any, associated with its use. It is the responsibility of the user of this standard to establish appropriate safety, health, and environmental practices and determine the applicability of regulatory limitations prior to use. 1.5 This international standard was developed in accordance with internationally recognized principles on standardization established in the Decision on Principles for the Development of International Standards, Guides and Recommendations issued by the World Trade Organization Technical Barriers to Trade (TBT) Committee.
ASTM C1354/C1354M-22 is classified under the following ICS (International Classification for Standards) categories: 91.080.30 - Masonry. The ICS classification helps identify the subject area and facilitates finding related standards.
ASTM C1354/C1354M-22 has the following relationships with other standards: It is inter standard links to ASTM C1242-23c, ASTM C1242-23b, ASTM C1242-23a, ASTM C1242-19a, ASTM C1242-19, ASTM E575-05(2018), ASTM C1242-18a, ASTM C1242-18, ASTM C1242-16, ASTM C1242-15a, ASTM C1242-15, ASTM C1242-14a, ASTM E4-14, ASTM C1242-14, ASTM C1242-12a. Understanding these relationships helps ensure you are using the most current and applicable version of the standard.
ASTM C1354/C1354M-22 is available in PDF format for immediate download after purchase. The document can be added to your cart and obtained through the secure checkout process. Digital delivery ensures instant access to the complete standard document.
Standards Content (Sample)
This international standard was developed in accordance with internationally recognized principles on standardization established in the Decision on Principles for the
Development of International Standards, Guides and Recommendations issued by the World Trade Organization Technical Barriers to Trade (TBT) Committee.
Designation: C1354/C1354M − 22
Standard Test Method for
Strength of Individual Stone Anchorages in Dimension
Stone
This standard is issued under the fixed designation C1354/C1354M; the number immediately following the designation indicates the
year of original adoption or, in the case of revision, the year of last revision. A number in parentheses indicates the year of last
reapproval. A superscript epsilon (´) indicates an editorial change since the last revision or reapproval.
1. Scope C1242 Guide for Selection, Design, and Installation of
Dimension Stone Attachment Systems
1.1 This test method provides procedures for determining
C1799 Guide to Dimension Stone Test Specimen Sampling
the ultimate strength of an assembly consisting of stone with
and Preparation
mechanical anchor (anchorage). Load is applied, separately,
E4 Practices for Force Calibration and Verification of Test-
perpendicular to the surface of the panel and parallel to the
ing Machines
surface of the panel. This test is intended to represent the
E575 Practice for Reporting Data from Structural Tests of
interaction of the anchor with the stone panel. However,
Building Constructions, Elements, Connections, and As-
influence of the backup structure on the strength of the
semblies
assemblies is not included.
1.2 This test method is applicable to stone panels supported
3. Terminology
by mechanical anchors.
3.1 Definitions:
1.3 The values stated in either SI units or inch-pound units
3.1.1 anchor, n—in general, a metal shape inserted into a
are to be regarded separately as standard. The values stated in
slot or hole in the stone panel that provides for the transfer of
each system may not be exact equivalents; therefore, each
loads from the stone to the building structure, either directly or
system shall be used independently of the other. Combining
through an intermediate structure.
values from the two systems may result in non-conformance
3.1.2 anchorage, n—assembly consisting of a stone panel
with the standard.
with a mechanical anchor.
1.4 This standard does not purport to address all of the
3.1.3 panel, n—cut stone with large face dimensions in
safety concerns, if any, associated with its use. It is the
relationtoitsthickness,forplacementinabuildingstructureor
responsibility of the user of this standard to establish appro-
frame assembly.
priate safety, health, and environmental practices and deter-
mine the applicability of regulatory limitations prior to use.
4. Summary of Test Method
1.5 This international standard was developed in accor-
4.1 Test specimens consisting of a stone panel sample and a
dance with internationally recognized principles on standard-
ization established in the Decision on Principles for the mechanical anchor are fabricated in the same manner and of
the same materials as their intended construction uses. The
Development of International Standards, Guides and Recom-
mechanical anchor is connected to a test support.Atest load is
mendations issued by the World Trade Organization Technical
applied perpendicular or parallel to the face of the stone panel.
Barriers to Trade (TBT) Committee.
The test load is applied gradually using a calibrated test
machine; load is increased until the stone or the mechanical
2. Referenced Documents
anchor fails.
2.1 ASTM Standards:
4.2 The load at failure and mode of failure of each test
specimenisobservedandrecorded.Thetestasdescribedabove
is repeated five times for each combination of stone and anchor
This test method is under the jurisdiction of ASTM Committee C18 on
to be tested and for each direction of load to be tested.
Dimension Stone and is the direct responsibility of Subcommittee C18.01 on Test
Methods
Current edition approved Jan. 1, 2022. Published February 2022. Originally
5. Significance and Use
approved in 1996. Last previous edition approved in 2021 as C1354–21. DOI:
10.1520/C1354_C1354M-22.
5.1 This test method is intended to provide information
For referenced ASTM standards, visit the ASTM website, www.astm.org, or
from which applicable design data can be determined for a
contact ASTM Customer Service at service@astm.org. For Annual Book of ASTM
given anchor used to support a dimension stone panel. The
Standards volume information, refer to the standard’s Document Summary page on
the ASTM website. strengthofalimitedlengthofanchormayberelatedtoalonger
Copyright © ASTM International, 100 Barr Harbor Drive, PO Box C700, West Conshohocken, PA 19428-2959. United States
C1354/C1354M − 22
length of support when the flexibility of the support is properly 7.2.2 A frame to support a stone sample with anchor in the
considered by the designer. Refer to Guide C1242. side edge of the stone is shown in Fig. 1. Fig. 1 represents
outward loading on a single stone panel. At the designer’s
6. Testing Machine
option, two stone panels can be tested on a single split anchor.
6.1 The testing machine shall conform to the requirements 7.2.2.1 The test specimen is supported at one end by the
of Practices E4. anchor.Theanchorshallbeattachedtothesupportframeinthe
same way it will be attached to the backup structure in
6.2 The load from the testing machine shall be applied
construction. The sample of stone is supported at the opposite
through appropriate devices (a lubricated ball-and-socket or a
end by a 1 in. [25 mm] diameter rod.
lubricated universal joint) to apply direct tension to the test
7.2.2.2 The load from the testing machine is applied to the
specimen without bending.
stone sample through a 1 in. [25 mm] diameter rod, located as
7. Support Frame and Loading Device close as possible to the anchor that supports the stone but at a
distance not less than the thickness of the panel.
7.1 The support frame (excluding the anchor to be tested)
7.2.3 A frame to test a stone sample with anchor in back of
shall have sufficient strength to not yield while supporting
the stone and the load applied in a direction perpendicular to
maximum applied load. In addition, the support frame shall be
the panel are shown in Figs. 2 and 3.The sample of stone panel
sufficiently stiff to limit deflection to less than 0.04 in. [1 mm]
is held down while the upward load is applied through a single
at maximum test load and to limit rotation to less than 2°.
sample of anchor. The stone sample may be held down by
7.2 For load perpendicular to the surface of the stone panel:
independent anchors as shown in Fig. 2 or by the device used
7.2.1 A rubber pad or a setting gypsum bed shall be used
to apply load as shown in Fig. 3.
between the stone and the loading or restraint surface to avoid
concentration of stress in the surface of the stone sample. 7.3 For load parallel to the surface of the stone panel:
FIG. 1A Edge of Panel Supported by Tab Inserted into Kerf in Edge of Panel
FIG. 1B Edge of Panel Supported by Pin Installed into Hole Drilled into Edge of Panel
FIG. 1 Setup for Testing Connection in Edge of Sample—Test Procedure A
C1354/C1354M − 22
FIG. 2 Setup for Load Testing of Stone Panel with Connection in Back of Sample and Sample Held Down Independently—Load Applied
Perpendicular to Surface
7.3.1 Thestonepanelsampleisrestrainedintheplaneofthe 8.2 Anchor Installation—Install the anchor and accessories
panel while a test load is applied parallel to the plane of the in accordance with the specified design.
panel as shown in Fig. 4. The area beneath the anchor shall be
8.3 Number of Specimens—For each combination of stone
kept unsupported to prevent restraint of spalls that may
and anchor to be tested, test at least five specimens. Where
artificially increase the strength. The surface between the
edge connections are used, a set of five specimens
...
This document is not an ASTM standard and is intended only to provide the user of an ASTM standard an indication of what changes have been made to the previous version. Because
it may not be technically possible to adequately depict all changes accurately, ASTM recommends that users consult prior editions as appropriate. In all cases only the current version
of the standard as published by ASTM is to be considered the official document.
Designation: C1354/C1354M − 21 C1354/C1354M − 22
Standard Test Method for
Strength of Individual Stone Anchorages in Dimension
Stone
This standard is issued under the fixed designation C1354/C1354M; the number immediately following the designation indicates the
year of original adoption or, in the case of revision, the year of last revision. A number in parentheses indicates the year of last
reapproval. A superscript epsilon (´) indicates an editorial change since the last revision or reapproval.
1. Scope
1.1 This test method provides procedures for determining the ultimate strength of an assembly consisting of stone with mechanical
anchor (anchorage). Load is applied, separately, perpendicular to the surface of the panel and parallel to the surface of the panel.
This test is intended to represent the interaction of the anchor with the stone panel. However, influence of the backup structure on
the strength of the assemblies is not included.
1.2 This test method is applicable to stone panels supported by mechanical anchors.
1.3 The values stated in either SI units or inch-pound units are to be regarded separately as standard. The values stated in each
system may not be exact equivalents; therefore, each system shall be used independently of the other. Combining values from the
two systems may result in non-conformance with the standard.
1.4 This standard does not purport to address all of the safety concerns, if any, associated with its use. It is the responsibility
of the user of this standard to establish appropriate safety, health, and environmental practices and determine the applicability of
regulatory limitations prior to use.
1.5 This international standard was developed in accordance with internationally recognized principles on standardization
established in the Decision on Principles for the Development of International Standards, Guides and Recommendations issued
by the World Trade Organization Technical Barriers to Trade (TBT) Committee.
2. Referenced Documents
2.1 ASTM Standards:
C1242 Guide for Selection, Design, and Installation of Dimension Stone Attachment Systems
C1799 Guide to Dimension Stone Test Specimen Sampling and Preparation
E4 Practices for Force Calibration and Verification of Testing Machines
E575 Practice for Reporting Data from Structural Tests of Building Constructions, Elements, Connections, and Assemblies
3. Terminology
3.1 Definitions:
3.1.1 anchor, n—in general, a metal shape inserted into a slot or hole in the stone panel that provides for the transfer of loads from
the stone to the building structure, either directly or through an intermediate structure.
This test method is under the jurisdiction of ASTM Committee C18 on Dimension Stone and is the direct responsibility of Subcommittee C18.01 on Test Methods
Current edition approved Oct. 1, 2021Jan. 1, 2022. Published November 2021February 2022. Originally approved in 1996. Last previous edition approved in 20152021
as C1354– 15. –21. DOI: 10.1520/C1354_C1354M-21.10.1520/C1354_C1354M-22.
For referenced ASTM standards, visit the ASTM website, www.astm.org, or contact ASTM Customer Service at service@astm.org. For Annual Book of ASTM Standards
volume information, refer to the standard’s Document Summary page on the ASTM website.
Copyright © ASTM International, 100 Barr Harbor Drive, PO Box C700, West Conshohocken, PA 19428-2959. United States
C1354/C1354M − 22
3.1.2 anchorage, n—assembly consisting of a stone panel with a mechanical anchor.
3.1.3 panel, n—cut stone with large face dimensions in relation to its thickness, for placement in a building structure or frame
assembly.
4. Summary of Test Method
4.1 Test specimens consisting of a stone panel sample and a mechanical anchor are fabricated in the same manner and of the same
materials as their intended construction uses. The mechanical anchor is connected to a test support. A test load is applied
perpendicular or parallel to the face of the stone panel. The test load is applied gradually using a calibrated test machine; load is
increased until the stone or the mechanical anchor fails.
4.2 The load at failure and mode of failure of each test specimen is observed and recorded. The test as described above is repeated
five times for each combination of stone and anchor to be tested and for each direction of load to be tested.
5. Significance and Use
5.1 This test method is intended to provide information from which applicable design data can be determined for a given anchor
used to support a dimension stone panel. The strength of a limited length of anchor may be related to a longer length of support
when the flexibility of the support is properly considered by the designer. Refer to Guide C1242.
6. Testing Machine
6.1 The testing machine shall conform to the requirements of Practices E4.
6.2 The load from the testing machine shall be applied through appropriate devices (a lubricated ball-and-socket or a lubricated
universal joint) to apply direct tension to the test specimen without bending.
7. Support Frame and Loading Device
7.1 The support frame (excluding the anchor to be tested) shall have sufficient strength to not yield while supporting maximum
applied load. In addition, the support frame shall be sufficiently stiff to limit deflection to less than 0.04 in. [1 mm] at maximum
test load and to limit rotation to less than 2°.
7.2 For load perpendicular to the surface of the stone panel:
7.2.1 A rubber pad or a setting gypsum bed shall be used between the stone and the loading or restraint surface to avoid
concentration of stress in the surface of the stone sample.
7.2.2 A frame to support a stone sample with anchor in the side edge of the stone is shown in Fig. 1. Fig. 1 represents outward
loading on a single stone panel. At the designer’s option, two stone panels can be tested on a single split anchor.
7.2.2.1 The test specimen is supported at one end by the anchor. The anchor shall be attached to the support frame in the same
way it will be attached to the backup structure in construction. The sample of stone is supported at the opposite end by a 1 in. [25
mm] diameter rod.
7.2.2.2 The load from the testing machine is applied to the stone sample through a 1 in. [25 mm] diameter rod, located as close
as possible to the anchor that supports the stone but at a distance not less than the thickness of the panel.
7.2.3 A frame to test a stone sample with anchor in back of the stone and the load applied in a direction perpendicular to the panel
are shown in Figs. 2 and 3. The sample of stone panel is held down while the upward load is applied through a single sample of
anchor. The stone sample may be held down by independent anchors as shown in Fig. 2 or by the device used to apply load as
shown in Fig. 3.
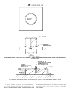
7.3 For load parallel to the surface of the stone panel:
C1354/C1354M − 22
FIG. 1A Edge of Panel Supported by Tab Inserted into Kerf in Edge of Panel
FIG. 1B Edge of Panel Supported by Pin Installed into Hole Drilled into Edge of Panel
FIG. 1 Setup for Testing Connection in Edge of Sample—Test Procedure A
7.3.1 The stone panel sample is restrained in the plane of the panel while a test load is applied parallel to the plane of the panel
as shown in Fig. 4. The area beneath the anchor shall be kept unsupported to prevent restraint of spalls that may artificially increase
the strength. The surface between the loading plate and the stone panel sample shall be lubricated.
8. Test Specimens
8.1 Anchorage System—The anchorage system shall be representative of the type to be used in field construction and shall include
the anchor to be used and all accessories normally required to attach the anchor to the backup structure. If sealant, epoxy, or other
form of kerf filler is specified to be used in field construction, the bond between the sealant, epoxy, or other form of kerf filler shall
be intentionally prevented in the test assembly. Alternatively, provisions may be made to distribute the load from the anchor to the
stone with a soft
...








Questions, Comments and Discussion
Ask us and Technical Secretary will try to provide an answer. You can facilitate discussion about the standard in here.
Loading comments...