ISO 8764-1:1992
(Main)Screwdrivers for cross-recessed head screws — Part 1: Driver points
Screwdrivers for cross-recessed head screws — Part 1: Driver points
Tournevis pour vis à empreinte cruciforme — Partie 1: Extrémités de tournevis
General Information
- Status
- Withdrawn
- Publication Date
- 24-Nov-1992
- Withdrawal Date
- 24-Nov-1992
- Technical Committee
- ISO/TC 29/SC 10 - Assembly tools for screws and nuts, pliers and nippers
- Drafting Committee
- ISO/TC 29/SC 10 - Assembly tools for screws and nuts, pliers and nippers
- Current Stage
- 9599 - Withdrawal of International Standard
- Start Date
- 30-Sep-1999
- Completion Date
- 12-Feb-2026
Relations
- Effective Date
- 15-Apr-2008
- Effective Date
- 15-Apr-2008
Get Certified
Connect with accredited certification bodies for this standard
National Aerospace and Defense Contractors Accreditation Program (NADCAP)
Global cooperative program for special process quality in aerospace.
CARES (UK Certification Authority for Reinforcing Steels)
UK certification for reinforcing steels and construction.
DVS-ZERT GmbH
German welding certification society.
Sponsored listings
Frequently Asked Questions
ISO 8764-1:1992 is a standard published by the International Organization for Standardization (ISO). Its full title is "Screwdrivers for cross-recessed head screws — Part 1: Driver points". This standard covers: Screwdrivers for cross-recessed head screws — Part 1: Driver points
Screwdrivers for cross-recessed head screws — Part 1: Driver points
ISO 8764-1:1992 is classified under the following ICS (International Classification for Standards) categories: 25.140.30 - Hand-operated tools. The ICS classification helps identify the subject area and facilitates finding related standards.
ISO 8764-1:1992 has the following relationships with other standards: It is inter standard links to ISO 8764-1:1999, ISO 8764:1989. Understanding these relationships helps ensure you are using the most current and applicable version of the standard.
ISO 8764-1:1992 is available in PDF format for immediate download after purchase. The document can be added to your cart and obtained through the secure checkout process. Digital delivery ensures instant access to the complete standard document.
Standards Content (Sample)
IS0
INTERNATIONAL
STANDARD 8764-l
First edition
1992-12-01
Screwdrivers for cross-recessed head screws -
Part 1:
Driver points
Tournevis pour vis 3 empreinte cruciforme -
Partie 1: Extr&mit& de tournevis
Reference number
--
--___--_ -
~-.--~-_--.-._----
IS0 8764-l :1992(E)
IS0 8764=1:1992(E)
Foreword
IS0 (the International Organization for Standardization) is a worldwide
federation of national standards bodies (IS0 member bodies). The work
of preparing International Standards is normally carried out through IS0
technical committees. Each member body interested in a subject for
which a technical committee has been established has the right to be
represented on that committee. International organizations, govern-
mental and non-governmental, in liaison with ISO, also take part in the
work. IS0 collaborates closely with the International Electrotechnical
Commission (IEC) on all matters of electrotechnical standardization.
Draft International Standards adopted by the technical committees are
circulated to the member bodies for voting. Publication as an Inter-
national Standard requires approval by at least 75 % of the member
bodies casting a vote.
International Standard IS0 8764-l was prepared by Technical Committee
ISO/TC 29, Small tools, Sub-Committee SC IO, Spanners and wrenches.
This first edition of IS0 8764-l cancels and replaces IS0 8764:1989,
tables ? to 4 and table 6 of which have been technically revised.
IS0 8764 consists of the following parts, under the general title Screw-
drivers for cross-recessed head screws:
- Part I: Driver points
- Part 2: Genera I requirements, lengths of blades and marking of
hand-operated screwdrivers
Annex A of this part of IS0 8764 is for information only.
0 IS0 1992
All rights reserved. No part of this publication may be reproduced or utilized in any form
or by any means, electronic or mechanical, including photocopying and microfilm, without
permission in writing from the publisher.
international Organization for Standardization
Case Postale 56 l CH-1211 Gerkve 20 l Switzerland
Printed in Switzerland
ii
IS0 8764-l :1992(E)
INTERiUATIONAL STANDARD
heaa screws -
Part 1:
Driver points
1 Scope 3 Shapes and dimensions
This part of IS0 8764 specifies the shapes and di- The shapes and dimensions of the points shall con-
form with the requirements given in figure 1 and ta-
mensions, the technical requirements and torque
test methods for the points of hand drivers and of ble 1 for type PH and figure 2 and table 2 for type PZ.
machine-operated bits for cross-recessed head
The axis of the point shall be concentric with the
screws.
axis of the tool.
This part of IS0 8764 specifies two types of driver
When a plated finish is used, the dimensions shall
points as follows:
be met after plating.
- type PH for type H recesses;
- type PZ for type Z recesses.
4 Technical requirements
H and Z type recesses are specified in IS0 4757.
4.1 Materials
General requirements, lengths of blades and mark-
Components shall be manufactured from steel which
ing of hand-operated screwdrivers are given in
when suitably heat-treated satisfies the mechanical
IS0 8764-2.
requirements and torque tests specified in 4.2 and
clause 6 respectively.
4.2 Heat treatment and hardness
2 Normative references
The tools shall be hardened and tempered through-
The following standards contain provisions which,
out their entire length; the screwdriver points shall
through reference in this text, constitute provisions
have a minimum hardness of
of this part of IS0 8764. At the time of publication,
- 54 HRC for hand-operated screwdrivers,
the editions indicated were valid. All standards are
subject to revision, and parties to agreements based
- 58 HRC for machine-operated screwdrivers,
on this part of IS0 8764 are encouraged to investi-
for a minimum length of three times the nominal
gate the possibility of applying the most recent edi-
blade diameter measured from the driving end.
tions of the standards indicated below. Members of
IEC and IS0 maintain registers of currently valid
All hardness measurements shall be taken on
International Standards.
ground flats, parallel with the axis and of sufficient
area to give an accurate reading.
IS0 4757:1983, Cross recesses for screws.
IS0 8764-2: 1992, Screwdrivers for cross-recessed
4.3 Finish
head screws - Part 2: General requirements,
lengths of blades and marking of hand-operated
Components shall be free from cracks, blemishes
screwdrivers. and other deleterious defects.
IS0 8764=1:1992(E)
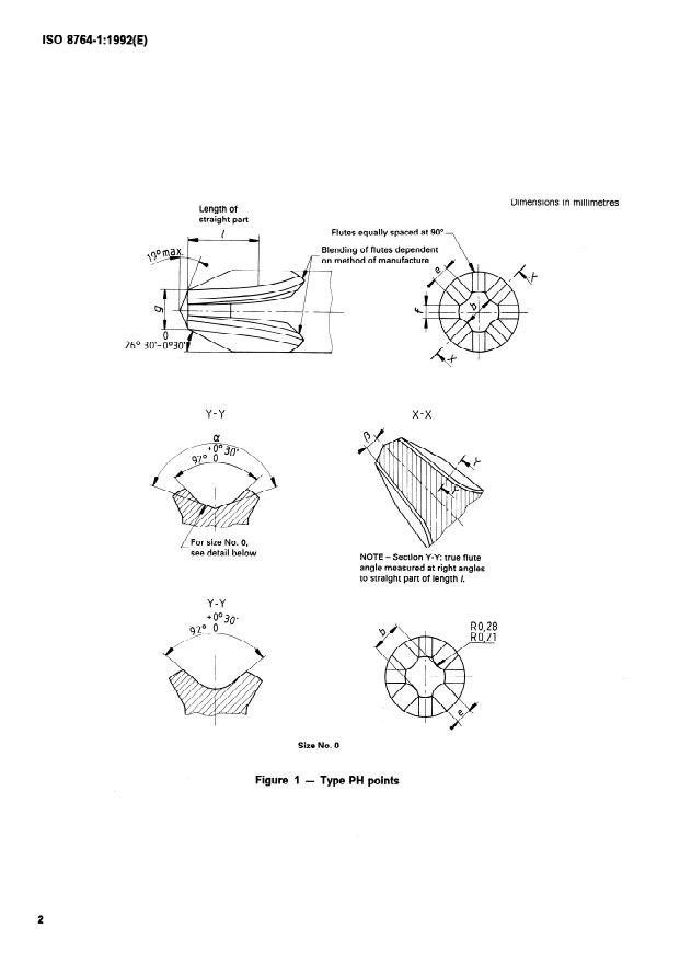
Dimensions in millimetres
Length of
straight part
Flutes equally spaced at 90”
Blending of flutes dependent
on method of manufacture
For size No. 0,
L
see detail below
NOTE - Section Y-Y: true flute
angle measured at right angles
to straight part of length 1.
Y-Y
Size No. 0
Figure 1 - Type PH points
IS0 8764-l A 992(E)
showing
for size Nos. 0 and 1
S
enlarged part view m
/
Y xN;,//‘(
/
\c
//
/
/ ’
/
/
,’
/ /
T
z
I- Y
o-
e
Length of true form
@
(from plane containing g)
l-7
Q
- ---
\
enlarged part view
\
Figure 2 - Type PZ points
IS0 8764=1:1992(E)
Table 1 - Dimensions of type PH points
Dimensions in millimetres
Nominal blade
Point size
b e 2 a
f 8 P
diameter
min.
3 0,61 0,38 0,31 0,84 7"OO'
0,56 0,29 0,26 0,79 2,78 See figure 1 6'30'
138”30’ 7"OO'
1 45 1,03 0,54 0,53 1,30
0,98 0,49 0,48 1,25 2,78 138'00' 6'30'
140"30' 5"45'
2 6 1,56 1,13 0,64 2,31
1,08 0,59 2,26 4,37 140°00' 5"15'
1,51
2,52 2,12 0,81 3,84 146O30 5"45'
3 8
2,47 2,07 0,73 3,79 6,74 146"OO' 5"15'
153”30’ 7"OO'
4 10 3,60 2,76 1,12 5,ll
5,06 8,34 153”OO’ 6'30'
3,55 2,71 1,04
Table 2 - Dimensions of type PZ
...




Questions, Comments and Discussion
Ask us and Technical Secretary will try to provide an answer. You can facilitate discussion about the standard in here.
Loading comments...