ISO 5744:1988
(Main)Pliers and nippers — Methods of test
Pliers and nippers — Methods of test
This secon edition cancels and replaces the first edition (ISO 5744:1983). checks the correct functioning of pliers and nippers.The test parameters habe been specified on the basis of the functional uses of the tools. Gives load test, wire cutting test, torsion test, soft wire cutting test and hardness of gripping surfaces.
Pinces et tenailles — Méthodes d'essai
General Information
- Status
- Withdrawn
- Publication Date
- 31-Aug-1988
- Withdrawal Date
- 31-Aug-1988
- Technical Committee
- ISO/TC 29/SC 10 - Assembly tools for screws and nuts, pliers and nippers
- Drafting Committee
- ISO/TC 29/SC 10 - Assembly tools for screws and nuts, pliers and nippers
- Current Stage
- 9599 - Withdrawal of International Standard
- Start Date
- 29-Sep-2004
- Completion Date
- 12-Feb-2026
Relations
- Effective Date
- 15-Apr-2008
- Effective Date
- 15-Apr-2008
ISO 5744:1988 - Pliers and nippers -- Methods of test
ISO 5744:1988 - Pinces et tenailles -- Méthodes d'essai
ISO 5744:1988 - Pinces et tenailles -- Méthodes d'essai
Get Certified
Connect with accredited certification bodies for this standard
National Aerospace and Defense Contractors Accreditation Program (NADCAP)
Global cooperative program for special process quality in aerospace.
CARES (UK Certification Authority for Reinforcing Steels)
UK certification for reinforcing steels and construction.
DVS-ZERT GmbH
German welding certification society.
Sponsored listings
Frequently Asked Questions
ISO 5744:1988 is a standard published by the International Organization for Standardization (ISO). Its full title is "Pliers and nippers — Methods of test". This standard covers: This secon edition cancels and replaces the first edition (ISO 5744:1983). checks the correct functioning of pliers and nippers.The test parameters habe been specified on the basis of the functional uses of the tools. Gives load test, wire cutting test, torsion test, soft wire cutting test and hardness of gripping surfaces.
This secon edition cancels and replaces the first edition (ISO 5744:1983). checks the correct functioning of pliers and nippers.The test parameters habe been specified on the basis of the functional uses of the tools. Gives load test, wire cutting test, torsion test, soft wire cutting test and hardness of gripping surfaces.
ISO 5744:1988 is classified under the following ICS (International Classification for Standards) categories: 25.140.30 - Hand-operated tools. The ICS classification helps identify the subject area and facilitates finding related standards.
ISO 5744:1988 has the following relationships with other standards: It is inter standard links to ISO 5744:1983, ISO 5744:2004. Understanding these relationships helps ensure you are using the most current and applicable version of the standard.
ISO 5744:1988 is available in PDF format for immediate download after purchase. The document can be added to your cart and obtained through the secure checkout process. Digital delivery ensures instant access to the complete standard document.
Standards Content (Sample)
ISO
INTERNATIONAL STANDARD
Second edition
1988-09-01
INTERNATIONAL ORGANIZATION FOR STANDARDIZATION
ORGANISATION INTERNATIONALE DE NORMALISATION
MEXAYHAPOaHAfl OPTAHM3A~MR l-l0 CTAH~APTM3A~MM
Pliers and nippers - Methods of test
Pinces et tenailles - Mhthodes d’essai
Reference number
so 5744 : 1988 EI
Foreword
ISO (the International Organization for Standardization) is a worldwide federation of
national Standards bodies (ISO member bedies). The work of preparing International
Standards is normally carried out through ISO technical committees. Esch member
body interested in a subject for which a technical committee has been established has
the right to be represented on that committee. International organizations, govern-
mental and non-governmental, in liaison with ISO, also take part in the work. ISO
collaborates closely with the International Electrotechnical Commission (IEC) on all
matters of electrotechnical standardization.
Draft International Standards adopted by the technical committees are circulated to
the member bodies for approval before their acceptance as International Standards by
the ISO Council. They are approved in accordance with ISO procedures requiring at
least 75 % approval by the member bodies voting.
International Standard ISO 5744 was prepared by Technical Committee ISO/TC 29,
Small tools.
This second edition cancels and replaces the first edition (ISO 5744 clause 5 of
1983,
which has been technically revised .
0 International Organkation for Standardkation, 1988
Printed in Switzerland
INTERNATIONAL STANDARD ISO 5744 : 1988 (El
Pliers and nippers - Methods of test
2.3 Lever-assisted pliers
1 Scope
For the type and size of tool, given in the dimensional stan-
This International Standard specifies methods of test for check-
dards, define a Point for the application of the load on the
ing the correct functioning of pliers and nippers.
handles at the distance L, from the centre of the joint rivet, and
insert a suitable test piece into the jaws (sec 2.4).
The test Parameters have been specified on the basis of the
functional uses of the tools.
Apply a load of 0,5 x F; reduce it to 50 N and measure the
width, wl, of the handles. Increase the load to the specified
2 Load test
value F, and then reduce it to 50 N. The load Fshall be applied
four times and then the width, w2, of the handles shall again be
2.1 General
measured at the same distance L1. The differente between the
first and second readings shall not exceed the maximum value
The test shall be carried out using suitable equipment which
of permanent set (s = w1 - w2), see figures 1, 2 and 3, ap-
tan be checked by comparison with a Standard.
propriate to the type and size of tool.
After the test, the tool shall show no deformation that tan af-
2.2 Pliers and nippers
fett its use.
For the type and size of tool, given in the dimensional stan-
dards, define a Point for the application of the load on the
2.4 Test piece
handles at the distance L, from the centre of the joint rivet, and
insert a suitable test piece into the jaws (see 2.4).
The test piece shall have a hardness value of 30 HRC to 40 HRC
and be of such a size and Profile as to make contact with the
Apply a load of 50 N and measure the width, wl, of the
jaws over a length of 8 mm + 1 mm from the Point of the
handles. Increase the load to the specified value F, and then
jaws. For end cutting nippers the test piece shall make contact
reduce it to 50 N. The load F shall be applied four times and
over the full length of the jaws. With the test piece inserted, the
then the width, w2, of the handles shall again be measured at
gap between the Points of the jaws shall be 3 mm + 1 mm.
the same distance LA. The differente between the first and
second readings shall not exceed the maximum value of per-
manent set (s = w1 -
WZ), see figures 1, 2 and 3, appropriate
to the type and size of tool. 3 Wire cutting test
After the test, the tool shall show no deformation that tan af-
3.1 Calibration of test wire
fett its use.
The wire to be used for cutting tests shall first be calibrated in
If the load test cannot conveniently be carried out at the
equipment which tan be checked by comparison with a stan-
distance L, from the centre of the joint rivet, then a more
dard.
suitable Position for the load may be Chosen at the distance Li
from the centre of the joint rivet. The load F’ at distance Li
Assemble in the test equipment two tungsten carbide Cutters,
from the centre of the joint rivet shall then be calculated from
with edges ground to an inclusive angle of 60° + l” having a
the formula
radius of 0,3 mm, with the cutting edges parallel to each other
and at right angles to the test wire (see figure 4).
F x L,
F’ = -
Li
Record the forte required to tut the wire. The mean of three
readings shall correspond to the values given in 3.2.
where F is the load at distance L1 (sec figures 1, 2 and 3).
ISO 5744 : 1988 El
Dimension in millimetres
F = load applied in load test
= load applied in cutting test
Fl
Figure 1 - Diagonal cutting nipper
Dimension in millimetres
F = load applied in load test
F, =
load applied in cutting test
Snipe nose, flat nose and round nose pliers
Figure 2 -
ISO 5744: 1988 (EI
F= load applied in load test
= load applied in cutting test
Fl
Figure3 -
End cutting nipper
Test wire
Carbide Cutter
Figure 4 - Test equipment
ISO 5744 : 3988 (E)
Cutting forte After this test, a soft wire cutting test shall be completed in
32 .
accordance with clause 5.
Table 1 - Mediu
...
ISO
NORME INTERNATIONALE
Deuxième édition
1988-09-01
INTERNATIONAL ORGANIZATION FOR STANDARDIZATION
ORGANISATION INTERNATIONALE DE NORMALISATION
MEXAYHAPOflHAR OPrAHM3A~MR Il0 CTAH~APTM3A~MM
Pinces et tenailles - Méthodes d’essai
Pliers and nippers - Methods of test
Numéro de référence
ISO 5744 : 1988 (F)
Avant-propos
L’ISO (Organisation internationale de normalisation) est une fédération mondiale
d’organismes nationaux de normalisation (comités membres de I’ISO). L’élaboration
des Normes internationales est en général confiée aux comités techniques de I’ISO.
Chaque comité membre intéressé par une étude a le droit de faire partie du comité
technique créé à cet effet. Les organisations internationales, gouvernementales et non
gouvernementales, en liaison avec I’ISO participent également aux travaux. L’ISO col-
labore étroitement avec la Commission électrotechnique internationale (CEI) en ce qui
concerne la normalisation électrotechnique.
Les projets de Normes internationales adoptés par les comités techniques sont soumis
aux comités membres pour approbation, avant leur acceptation comme Normes inter-
nationales par le Conseil de I’ISO. Les Normes internationales sont approuvées confor-
mément aux procédures de I’ISO qui requièrent l’approbation de 75 % au moins des
comités membres votants.
La Norme internationale ISO 5744 a été élaborée par le comité technique ISO/TC 29,
Petit ou tiflage.
Cette deuxiéme édition annule et remplace la premiére édition (ISO
5744 19831, dont
l’article 5 a fait l’objet d’une révision technique.
0 Organisation internationale de normalisation, 1988
Imprimé en Suisse
NORME INTERNATIONALE
ISO 5744 : 1988 (F)
Pinces et tenailles - Méthodes d’essai
2.3 Pinces articulbes
1 Domaine d’application
La présente Norme internationale prescrit des méthodes d’essai Définir pour chaque type et dimension d’outil spécifiés dans les
normes dimensionnelles, un point d’application de la charge à
applicables aux pinces et tenailles pour la vérification de leur
aptitude fonctionnelle. exercer sur les branches à une distance L1 de l’axe d’articula-
tion et introduire une éprouvette convenable entre les becs
Les paramètres d’essai ont été spécifiés sur la base des utilisa- (voir 2.4).
tions fonctionnelles des outils.
Appliquer une charge de 0,5 x F; la réduire à 50 N et mesurer
l’écartement, wl, des branches. Porter la charge à sa valeur
spécifiée, F, puis la réduire à 50 N. La charge F doit être appli-
quée quatre fois puis mesurer le nouvel écartement, w2, des
2 Essai de flexion
branches à la même distance L1. La difference entre la première
et la deuxiéme mesure ne doit pas dépasser la valeur maximale
de la différence permanente d’écartement (s = w1 - w2), voir
2.1 Généralit6s
figures 1, 2 et 3, correspondant au type et à la dimension de
l’outil.
L’essai doit être effectué avec un équipement convenable pou-
vant être contrôlé par comparaison à un étalon.
Après essai l’outil ne doit présenter aucune déformation nui-
sible a sa bonne utilisation.
2.2 Pinces et tenailles
2.4 Éprouvette
Définir pour chaque type et dimension d’outil spécifiés dans les
normes dimensionnelles, un point d’application de la charge à
L’éprouvette doit avoir une dureté de 30 HRC à 40 HRC et doit
exercer sur les branches à une distance Lt de l’axe d’articula-
avoir des dimensions et une forme telles qu’elle soit en contact
tion et introduire une éprouvette convenable entre les becs
avec les becs sur une longueur de 8 mm + 1 mm mesuree à
(voir 2.4).
partir de l’extrémité des becs. Pour les pinces coupantes en
bout, l’éprouvette doit être en contact avec la longueur totale
Appliquer une charge de 50 N et mesurer l’écartement, wl, des
des mâchoires. Une fois l’éprouvette insérée, l’écartement
branches. Porter la charge à sa valeur spécifiée, F, puis la
entre les deux extrémités des mâchoires doit être de
réduire à 50 N. La charge F doit être appliquée quatre fois puis
3mmflmm.
mesurer le nouvel écartement, w2, des branches à la même dis-
tance Lt. La difference entre la Premiere et la deuxième mesure
ne doit pas dépasser la valeur maximale de la différence perma-
3 Essai de coupe du fil
nente d’ecartement (s = w1
- ~21, voir figures 1, 2 et 3, cor-
respondant au type et à la dimension de l’outil.
3.1 Étalonnage du fil d’essai
Après essai l’outil ne doit présenter aucune déformation nui-
sible à sa bonne utilisation. Le fil à utiliser pour les essais de coupe doit d’abord être vérifié
au moyen d’un dispositif pouvant être controle par comparai-
Si l’essai est difficile à realiser a la distance L1 de l’axe d’articu-
son à un étalon.
lation, on peut choisir une position mieux adaptée, à une dis-
Monter dans le dispositif d’essai deux couteaux, en carbure de
tance Li de l’axe d’articulation. La charge F’ applicable à cette
tungsténe, dont les arêtes sont affûtées à un angle de
distance Li se calcule par la formule
60° + l”, avec un arrondi de 0,3 mm, les arêtes coupantes
étant bien parallèles l’une par rapport à l’autre et perpendiculai-
F x L,
F’=-
res au fil d’essai (voir figure 4).
Li
Noter la force nécessaire pour couper le fil. La moyenne de trois
où F est la charge à la distance L1 (voir figures 1, 2 et 3).
lectures doit correspondre aux valeurs donnees en 3.2.
60 5744 : 1988 (FI
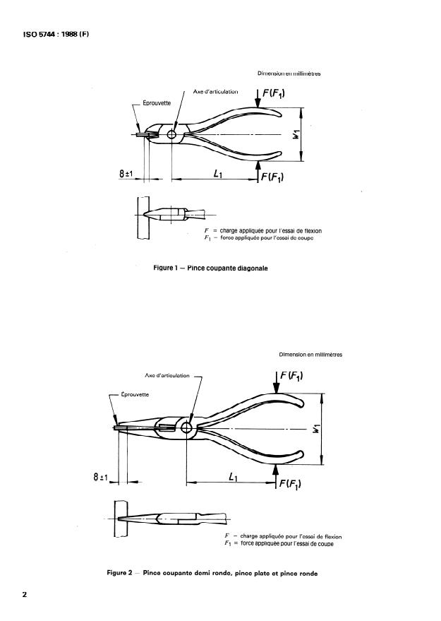
Dimension en millimètres
r Axe d’articulation
1 FF,)
F = charge appliquée pour l’essai de flexion
FI = force appliquée pour l’essai de coupe
- Pince coupante diagonale
Figure 1
Dimension en millimètres
Axe d’articulation
t- Éprouvette
7 J-
v
I
I
F = charge appliquée pour l’essai de flexion
F, =
force appliquée pour l’essai de coupe
Figure 2 - Pince coupante demi-ronde, pince plate et pince ronde
1s0 5744 : 1988 (FI
Axe d’articulation
r
F= charge appliquée pour l’essai de flexion
= force appliquée pour l’essai de coupe
Figure3 - Pince coupante en bout
...
ISO
NORME INTERNATIONALE
Deuxième édition
1988-09-01
INTERNATIONAL ORGANIZATION FOR STANDARDIZATION
ORGANISATION INTERNATIONALE DE NORMALISATION
MEXAYHAPOflHAR OPrAHM3A~MR Il0 CTAH~APTM3A~MM
Pinces et tenailles - Méthodes d’essai
Pliers and nippers - Methods of test
Numéro de référence
ISO 5744 : 1988 (F)
Avant-propos
L’ISO (Organisation internationale de normalisation) est une fédération mondiale
d’organismes nationaux de normalisation (comités membres de I’ISO). L’élaboration
des Normes internationales est en général confiée aux comités techniques de I’ISO.
Chaque comité membre intéressé par une étude a le droit de faire partie du comité
technique créé à cet effet. Les organisations internationales, gouvernementales et non
gouvernementales, en liaison avec I’ISO participent également aux travaux. L’ISO col-
labore étroitement avec la Commission électrotechnique internationale (CEI) en ce qui
concerne la normalisation électrotechnique.
Les projets de Normes internationales adoptés par les comités techniques sont soumis
aux comités membres pour approbation, avant leur acceptation comme Normes inter-
nationales par le Conseil de I’ISO. Les Normes internationales sont approuvées confor-
mément aux procédures de I’ISO qui requièrent l’approbation de 75 % au moins des
comités membres votants.
La Norme internationale ISO 5744 a été élaborée par le comité technique ISO/TC 29,
Petit ou tiflage.
Cette deuxiéme édition annule et remplace la premiére édition (ISO
5744 19831, dont
l’article 5 a fait l’objet d’une révision technique.
0 Organisation internationale de normalisation, 1988
Imprimé en Suisse
NORME INTERNATIONALE
ISO 5744 : 1988 (F)
Pinces et tenailles - Méthodes d’essai
2.3 Pinces articulbes
1 Domaine d’application
La présente Norme internationale prescrit des méthodes d’essai Définir pour chaque type et dimension d’outil spécifiés dans les
normes dimensionnelles, un point d’application de la charge à
applicables aux pinces et tenailles pour la vérification de leur
aptitude fonctionnelle. exercer sur les branches à une distance L1 de l’axe d’articula-
tion et introduire une éprouvette convenable entre les becs
Les paramètres d’essai ont été spécifiés sur la base des utilisa- (voir 2.4).
tions fonctionnelles des outils.
Appliquer une charge de 0,5 x F; la réduire à 50 N et mesurer
l’écartement, wl, des branches. Porter la charge à sa valeur
spécifiée, F, puis la réduire à 50 N. La charge F doit être appli-
quée quatre fois puis mesurer le nouvel écartement, w2, des
2 Essai de flexion
branches à la même distance L1. La difference entre la première
et la deuxiéme mesure ne doit pas dépasser la valeur maximale
de la différence permanente d’écartement (s = w1 - w2), voir
2.1 Généralit6s
figures 1, 2 et 3, correspondant au type et à la dimension de
l’outil.
L’essai doit être effectué avec un équipement convenable pou-
vant être contrôlé par comparaison à un étalon.
Après essai l’outil ne doit présenter aucune déformation nui-
sible a sa bonne utilisation.
2.2 Pinces et tenailles
2.4 Éprouvette
Définir pour chaque type et dimension d’outil spécifiés dans les
normes dimensionnelles, un point d’application de la charge à
L’éprouvette doit avoir une dureté de 30 HRC à 40 HRC et doit
exercer sur les branches à une distance Lt de l’axe d’articula-
avoir des dimensions et une forme telles qu’elle soit en contact
tion et introduire une éprouvette convenable entre les becs
avec les becs sur une longueur de 8 mm + 1 mm mesuree à
(voir 2.4).
partir de l’extrémité des becs. Pour les pinces coupantes en
bout, l’éprouvette doit être en contact avec la longueur totale
Appliquer une charge de 50 N et mesurer l’écartement, wl, des
des mâchoires. Une fois l’éprouvette insérée, l’écartement
branches. Porter la charge à sa valeur spécifiée, F, puis la
entre les deux extrémités des mâchoires doit être de
réduire à 50 N. La charge F doit être appliquée quatre fois puis
3mmflmm.
mesurer le nouvel écartement, w2, des branches à la même dis-
tance Lt. La difference entre la Premiere et la deuxième mesure
ne doit pas dépasser la valeur maximale de la différence perma-
3 Essai de coupe du fil
nente d’ecartement (s = w1
- ~21, voir figures 1, 2 et 3, cor-
respondant au type et à la dimension de l’outil.
3.1 Étalonnage du fil d’essai
Après essai l’outil ne doit présenter aucune déformation nui-
sible à sa bonne utilisation. Le fil à utiliser pour les essais de coupe doit d’abord être vérifié
au moyen d’un dispositif pouvant être controle par comparai-
Si l’essai est difficile à realiser a la distance L1 de l’axe d’articu-
son à un étalon.
lation, on peut choisir une position mieux adaptée, à une dis-
Monter dans le dispositif d’essai deux couteaux, en carbure de
tance Li de l’axe d’articulation. La charge F’ applicable à cette
tungsténe, dont les arêtes sont affûtées à un angle de
distance Li se calcule par la formule
60° + l”, avec un arrondi de 0,3 mm, les arêtes coupantes
étant bien parallèles l’une par rapport à l’autre et perpendiculai-
F x L,
F’=-
res au fil d’essai (voir figure 4).
Li
Noter la force nécessaire pour couper le fil. La moyenne de trois
où F est la charge à la distance L1 (voir figures 1, 2 et 3).
lectures doit correspondre aux valeurs donnees en 3.2.
60 5744 : 1988 (FI
Dimension en millimètres
r Axe d’articulation
1 FF,)
F = charge appliquée pour l’essai de flexion
FI = force appliquée pour l’essai de coupe
- Pince coupante diagonale
Figure 1
Dimension en millimètres
Axe d’articulation
t- Éprouvette
7 J-
v
I
I
F = charge appliquée pour l’essai de flexion
F, =
force appliquée pour l’essai de coupe
Figure 2 - Pince coupante demi-ronde, pince plate et pince ronde
1s0 5744 : 1988 (FI
Axe d’articulation
r
F= charge appliquée pour l’essai de flexion
= force appliquée pour l’essai de coupe
Figure3 - Pince coupante en bout
...












Questions, Comments and Discussion
Ask us and Technical Secretary will try to provide an answer. You can facilitate discussion about the standard in here.
Loading comments...