ISO 3203:1993
(Main)Aerospace — Bolts, normal bihexagonal head, normal or pitch diameter shank, long length MJ threads, metallic material, coated or uncoated, strength classes less than or equal to 1 100 MPa — Dimensions
Aerospace — Bolts, normal bihexagonal head, normal or pitch diameter shank, long length MJ threads, metallic material, coated or uncoated, strength classes less than or equal to 1 100 MPa — Dimensions
Specifies configuration, dimensions and tolerances. Is intended for the drawing up of aerospace product standards.
Aéronautique et espace — Vis à tête bihexagonale normale, avec tige normale ou de diamètre égal au diamètre sur flancs, et filetage MJ long, en matériau métallique, revêtues ou non revêtues, des classes de résistance inférieures ou égales à 1 100 MPa — Dimensions
General Information
- Status
- Published
- Publication Date
- 22-Dec-1993
- Technical Committee
- ISO/TC 20/SC 4 - Aerospace fastener systems
- Drafting Committee
- ISO/TC 20/SC 4 - Aerospace fastener systems
- Current Stage
- 9093 - International Standard confirmed
- Start Date
- 31-Oct-2022
- Completion Date
- 12-Feb-2026
Relations
- Consolidated By
ISO 8765:1999 - Hexagon head bolts with metric fine pitch thread — Product grades A and B - Effective Date
- 06-Jun-2022
Overview
ISO 3203:1993 is an international standard specifying the dimensions and tolerances for aerospace bolts with normal bihexagonal heads, applicable to normal or pitch diameter shanks and long length MJ threads. These bolts are made from metallic materials, coated or uncoated, and designed for strength classes less than or equal to 1,100 MPa. The standard is intended to support the development and drafting of aerospace product standards, ensuring consistency, safety, and reliability in aerospace fastener applications.
Developed by ISO Technical Committee ISO/TC 20, Sub-Committee SC 4 for Aerospace Fastener Systems, ISO 3203:1993 provides a clear framework for aerospace fastener design, emphasizing dimensional accuracy necessary for optimal performance in aircraft and space vehicle construction.
Key Topics
- Bolt Configuration: Specifies the shape of the bihexagonal head and thread types (normal or pitch diameter shank) suited for aerospace applications.
- Dimensional Specifications: Detailed tables define the bolt dimensions in millimeters, including lengths, diameters, and tolerances for each bolt size.
- Thread Standards: Utilizes MJ thread profiles with requirements coordinated with ISO 5855-2 for limit dimensions and ISO 3353 for thread lead and runout.
- Material Properties: Covers metallic material bolts with strength classes at or below 1,100 MPa, permitting coated or uncoated finishes.
- Surface Treatment Considerations: Dimensions apply after any surface coating but prior to lubricant application, ensuring accuracy in fit and function.
- Standardized Tolerances: Adopts tolerance grades in line with ISO 286-2 for holes and shafts to maintain consistent interchangeability and mechanical integrity.
Applications
ISO 3203:1993 is fundamental to manufacturing and quality assurance within the aerospace industry, providing guidelines crucial for:
- Aerospace Fastener Design: Engineering of bolts to meet strict aerospace dimensional and strength requirements.
- Aerospace Manufacturing: Ensuring bolts produced comply with international precision standards for assembly and safety.
- Product Standardization: Harmonizing bolt specifications across different aerospace components and suppliers for interoperability.
- Maintenance and Replacement: Offering reliable reference for bolt dimensions during aircraft repair and part replacement.
- Safety Assurance: Reducing risk of mechanical failure by standardizing bolt strength and tolerances relevant to aerospace load conditions.
Related Standards
ISO 3203 references and aligns with several essential international standards for aerospace fasteners and threads, including:
- ISO 5855-2:1988 - Aerospace MJ threads, part 2: Limit dimensions for bolts and nuts.
- ISO 3353:1992 - Aerospace rolled threads for bolts, focusing on lead and runout requirements.
- ISO 4095:1978 - Fasteners for aerospace construction, defining bi-hexagonal wrenching configurations.
- ISO 286-2:1988 - ISO system for limits and fits, detailing tolerance grades and deviations for holes and shafts.
These related standards complement ISO 3203 by ensuring comprehensive coverage of thread geometry, mechanical properties, and dimensional tolerances critical for aerospace fastener systems.
Keywords: ISO 3203, aerospace bolts, bihexagonal head bolts, MJ threads, aerospace fasteners, bolt dimensions, aerospace standards, metallic bolts, fastener tolerances, aerospace manufacturing, aerospace product standards
ISO 3203:1993 - Aerospace -- Bolts, normal bihexagonal head, normal or pitch diameter shank, long length MJ threads, metallic material, coated or uncoated, strength classes less than or equal to 1 100 MPa -- Dimensions
ISO 3203:1993 - Aéronautique et espace -- Vis a tete bihexagonale normale, avec tige normale ou de diametre égal au diametre sur flancs, et filetage MJ long, en matériau métallique, revetues ou non revetues, des classes de résistance inférieures ou égales a 1 100 MPa -- Dimensions
ISO 3203:1993 - Aéronautique et espace -- Vis a tete bihexagonale normale, avec tige normale ou de diametre égal au diametre sur flancs, et filetage MJ long, en matériau métallique, revetues ou non revetues, des classes de résistance inférieures ou égales a 1 100 MPa -- Dimensions
Get Certified
Connect with accredited certification bodies for this standard

DEKRA North America
DEKRA certification services in North America.
Eagle Registrations Inc.
American certification body for aerospace and defense.

Element Materials Technology
Materials testing and product certification.
Sponsored listings
Frequently Asked Questions
ISO 3203:1993 is a standard published by the International Organization for Standardization (ISO). Its full title is "Aerospace — Bolts, normal bihexagonal head, normal or pitch diameter shank, long length MJ threads, metallic material, coated or uncoated, strength classes less than or equal to 1 100 MPa — Dimensions". This standard covers: Specifies configuration, dimensions and tolerances. Is intended for the drawing up of aerospace product standards.
Specifies configuration, dimensions and tolerances. Is intended for the drawing up of aerospace product standards.
ISO 3203:1993 is classified under the following ICS (International Classification for Standards) categories: 49.030.20 - Bolts, screws, studs. The ICS classification helps identify the subject area and facilitates finding related standards.
ISO 3203:1993 has the following relationships with other standards: It is inter standard links to ISO 8765:1999. Understanding these relationships helps ensure you are using the most current and applicable version of the standard.
ISO 3203:1993 is available in PDF format for immediate download after purchase. The document can be added to your cart and obtained through the secure checkout process. Digital delivery ensures instant access to the complete standard document.
Standards Content (Sample)
INTERNATIONAL ISO
STANDARD 3203
First edition
1993-12-15
Bolts, normal bihexagonal
Aerospace -
head, normal or pitch diameter shank, long
length MJ threads, metallic material,
coated or uncoated, strength classes less
than or equal to 1 100 MPa - Dimensions
Aeronautique et espace - Vis a t&e bihexagonale normale, avec tige
normale ou de diametre egal au diametre SW flancs, et fietage MJ lang,
en matkiau m&allique, rev&ues ou non rev&ues, des classes de
kistance infkieures ou egales a 1 100 M Pa - Dimensions
Reference number
ISO 3203: 1993(E)
Foreword
ISO (the International Organization for Standardization) is a worldwide
federation of national Standards bodies (ISO member bodies). The work
of preparing International Standards is normally carried out through ISO
technical committees. Esch member body interested in a subject for
which a technical committee has been established has the right to be
represented on that committee. International organizations, governmental
and non-governmental, in liaison with ISO, also take part in the work. ISO
collaborates closely with the International Electrotechnical Commission
(1 EC) on all matters of electrotechnical standardization.
Draft International Standards adopted by the technical committees are
circulated to the member bodies for voting. Publication as an International
Standard requires approval by at least 75 % of the member bodies casting
a vote.
International Standard ISO 3203 was prepared by Technical Committee
lSO/TC 20, Aircraft and space vehicles, Sub-Committee SC 4, Aerospace
fas tener sys tems.
0 ISO 1993
All rights reserved. No part of this publication may be reproduced or utilized in any form or
by any means, electronie or mechanical, including photocopying and microfilm, without per-
mission in writing from the publisher.
International Organkation for Standardization
Case Postale 56 l CH-1 Zl”1 Geneve 20 l Switzerland
Printed in Switzerland
ii
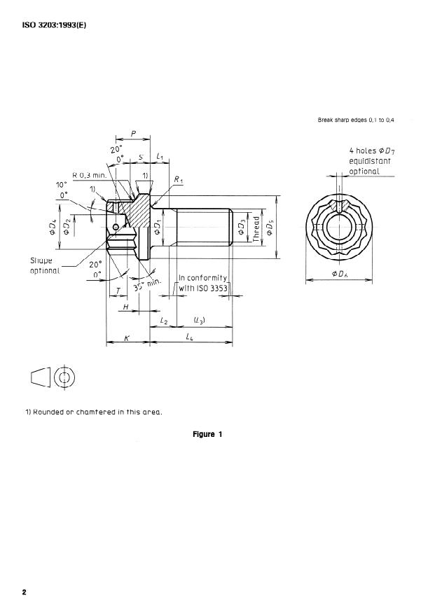
INTERNATIONAL STANDARD ISO 3203:1993(E)
Aerospace - Bolts, normal bihexagonal head, normal
or pitch diameter shank, long length MJ threads,
metallic material, coated or uncoated, strength classes
less than or equal to 1 100 MPa - Dimensions
Members of IEC and ISO maintain registers of cur-
1 Scope
rently valid International Standards.
This International Standard specifies the dimensions
ISO 286-2:1988, ISO System of limits and fits -
of normal bihexagonal head bolts, with normal or pitch
Part 2: Tables of Standard tolerante grades and limit
diameter shank, and long length MJ threads, in me-
deviations for holes and sha fts.
tallic material
...
NORME
Iso
INTERNATIONALE
Première édition
1993-I 2-l 5
Aéronautique et espace - Vis à tête
bihexagonale normale, avec tige normale
ou de diamètre égal au diamètre sur flancs,
et filetage MJ long, en matériau
métallique, revêtues ou non revêtues, des
classes de résistance inférieures ou égales
àl IOOMPa - Dimensions
Aerospace - Bolts, normal bihexagonal head, normal or pitch diameter
shank, long length MJ threads, metallic material, coated or uncoated,
1 100 MPa - Dimensions
strength classes less than or equal to
Numéro de référence
ISO 3203: 1993(F)
Avant-propos
L’ISO (Organisation internationale de normalisation) est une federation
mondiale d’organismes nationaux de normalisation (comités membres de
I’ISO). L’élaboration des Normes internationales est en général confiée aux
comités techniques de I’ISO. Chaque comité membre intéressé par une
étude a le droit de faire partie du comite technique cree à cet effet. Les
organisations internationales, gouvernementales et non gouvernemen-
tales, en liaison avec I’ISO participent également aux travaux. L’ISO colla-
bore Atroitement avec la Commission électrotechnique internationale (CEI)
en ce qui concerne la normalisation électrotechnique.
Les projets de Normes internationales adoptes par les comites techniques
sont soumis aux comites membres pour vote. Leur publication comme
Normes internationales requiert l’approbation de 75 % au moins des co-
mites membres votants.
La Norme internationale ISO 3203 a ete elaborée par le comité technique
lSO/‘K 20, Aéronautique et espace, sous-comite SC 4, bments de
fixation pour constructions aérospatiales.
0 60 1993
Droits de reproduction reserves. Aucune partie de cette publication ne peut Qtre reproduite
ni utilisee sous quelque forme que ce soit et par aucun procedé, électronique ou mécanique,
y compris la photocopie et les microfilms, sans l’accord ecrit de I’editeur.
Organisation internationale de normalisation
Case Postale 56 l CH-l 211 Genéve 20 l Suisse
Imprimé en Suisse
ii
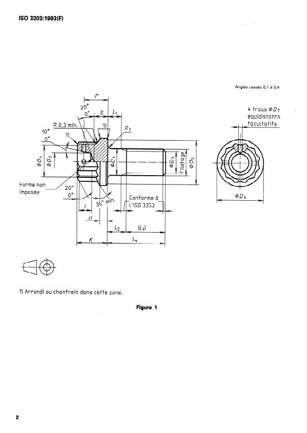
NORME INTERNATIONALE ISO 3203:1993(F)
- Vis à tête bihexagonale
Aéronautique et espace
normale, avec tige normale ou de diamètre égal au
diamètre sur flancs, et filetage MJ long, en matériau
métallique, revêtues ou non revêtues, des classes de
résistance inférieures ou égales à 1 100 MPa -
Dimensions
possèdent le registre des Normes internationales en
1 Domaine d’application
vigueur a un moment donne.
La présente Norme internationale prescrit les dimen-
ISO 286-2: 1988, Système ISO de tolerances et
sions des vis à tête bihexagonale normale, avec tige
d’ajustements - Partie 2: Tables des degrés de to-
normale ou de diamètre égal au diametre sur flancs,
lerance normalises et des karts limites des alesages
et filetage MJ long, en matériau métallique, revêtues
et des arbres.
ou non revêtues, des classes de résistance inferieu-
res ou égales a 1 100 MPa.
ISO 3353:1992, Aéronautique et espace - Filetages
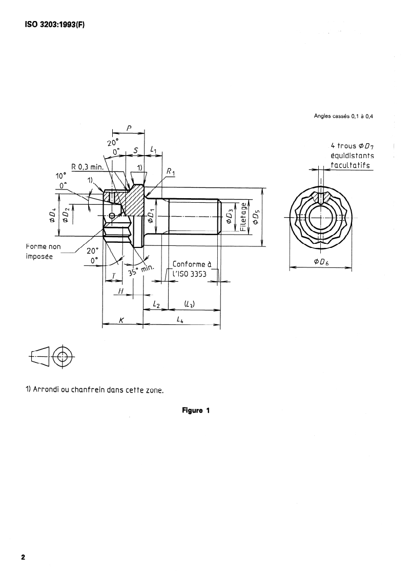
La présente Norme internationale est applicable à roules des vis - Filets incomplets côte tige (ou tête)
I’elaboration de normes de produi
...
NORME
Iso
INTERNATIONALE
Première édition
1993-I 2-l 5
Aéronautique et espace - Vis à tête
bihexagonale normale, avec tige normale
ou de diamètre égal au diamètre sur flancs,
et filetage MJ long, en matériau
métallique, revêtues ou non revêtues, des
classes de résistance inférieures ou égales
àl IOOMPa - Dimensions
Aerospace - Bolts, normal bihexagonal head, normal or pitch diameter
shank, long length MJ threads, metallic material, coated or uncoated,
1 100 MPa - Dimensions
strength classes less than or equal to
Numéro de référence
ISO 3203: 1993(F)
Avant-propos
L’ISO (Organisation internationale de normalisation) est une federation
mondiale d’organismes nationaux de normalisation (comités membres de
I’ISO). L’élaboration des Normes internationales est en général confiée aux
comités techniques de I’ISO. Chaque comité membre intéressé par une
étude a le droit de faire partie du comite technique cree à cet effet. Les
organisations internationales, gouvernementales et non gouvernemen-
tales, en liaison avec I’ISO participent également aux travaux. L’ISO colla-
bore Atroitement avec la Commission électrotechnique internationale (CEI)
en ce qui concerne la normalisation électrotechnique.
Les projets de Normes internationales adoptes par les comites techniques
sont soumis aux comites membres pour vote. Leur publication comme
Normes internationales requiert l’approbation de 75 % au moins des co-
mites membres votants.
La Norme internationale ISO 3203 a ete elaborée par le comité technique
lSO/‘K 20, Aéronautique et espace, sous-comite SC 4, bments de
fixation pour constructions aérospatiales.
0 60 1993
Droits de reproduction reserves. Aucune partie de cette publication ne peut Qtre reproduite
ni utilisee sous quelque forme que ce soit et par aucun procedé, électronique ou mécanique,
y compris la photocopie et les microfilms, sans l’accord ecrit de I’editeur.
Organisation internationale de normalisation
Case Postale 56 l CH-l 211 Genéve 20 l Suisse
Imprimé en Suisse
ii
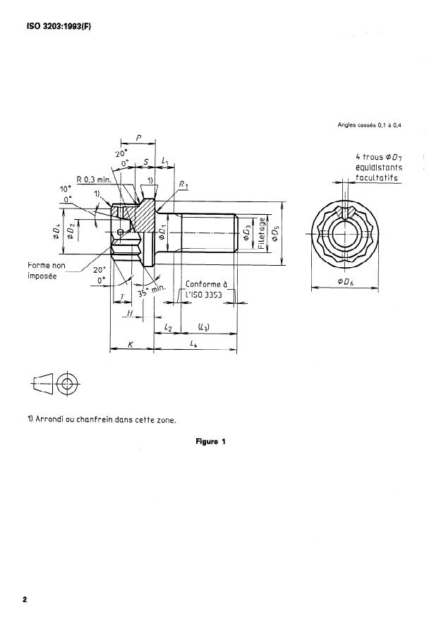
NORME INTERNATIONALE ISO 3203:1993(F)
- Vis à tête bihexagonale
Aéronautique et espace
normale, avec tige normale ou de diamètre égal au
diamètre sur flancs, et filetage MJ long, en matériau
métallique, revêtues ou non revêtues, des classes de
résistance inférieures ou égales à 1 100 MPa -
Dimensions
possèdent le registre des Normes internationales en
1 Domaine d’application
vigueur a un moment donne.
La présente Norme internationale prescrit les dimen-
ISO 286-2: 1988, Système ISO de tolerances et
sions des vis à tête bihexagonale normale, avec tige
d’ajustements - Partie 2: Tables des degrés de to-
normale ou de diamètre égal au diametre sur flancs,
lerance normalises et des karts limites des alesages
et filetage MJ long, en matériau métallique, revêtues
et des arbres.
ou non revêtues, des classes de résistance inferieu-
res ou égales a 1 100 MPa.
ISO 3353:1992, Aéronautique et espace - Filetages
La présente Norme internationale est applicable à roules des vis - Filets incomplets côte tige (ou tête)
I’elaboration de normes de produi
...












Questions, Comments and Discussion
Ask us and Technical Secretary will try to provide an answer. You can facilitate discussion about the standard in here.
Loading comments...