ISO 6721-2:1994
(Main)Plastics — Determination of dynamic mechanical properties — Part 2: Torsion-pendulum method
Plastics — Determination of dynamic mechanical properties — Part 2: Torsion-pendulum method
Specifies two methods for determining the linear dynamic mechanical properties of plastics, i. e. the storage and loss components of the torsional modulus, as a function of temperature, for small deformations within the frequency range from 0,1 Hz to 10 Hz. Also provides information concerning the onset of plastic flow.
Plastiques — Détermination des propriétés mécaniques dynamiques — Partie 2: Méthode au pendule de torsion
La présente partie de l'ISO 6721 prescrit deux méthodes (A et B) pour la détermination des propriétés mécaniques dynamiques linéaires, telles que les composantes de conservation et de perte du module en torsion, des plastiques dans le domaine des petites déformations en fonction de la température dans la gamme de fréquences de 0,1 Hz à 10 Hz. La dépendance thermique de ces propriétés, mesurée sur une gamme de températures suffisamment large (par exemple de - 50 °C à + 150 °C pour la majorité des plastiques commercialement disponibles), donne des informations sur les zones de transition (par exemple transition vitreuse ou fusion) d'un polymère. Elle donne aussi une information au sujet du début de l'écoulement d'un plastique. Les deux méthodes décrites dans la présente partie de l'ISO 6721 ne sont pas applicables aux stratifiés asymétriques au sujet desquels il y a lieu de se reporter à l'ISO 6721-3:1994, Plastiques -- Détermination des propriétés mécaniques dynamiques -- Partie 3: Vibration en flexion -- Méthode en résonance. Les méthodes ne s'appliquent pas non plus pour l'essai de caoutchoucs au sujet desquels il convient de se reporter à l'ISO 4663:1986, Caoutchouc -- Détermination du comportement dynamique des vulcanisats à basses fréquences -- Méthode du pendule de torsion.
General Information
- Status
- Withdrawn
- Publication Date
- 02-Nov-1994
- Withdrawal Date
- 02-Nov-1994
- Technical Committee
- ISO/TC 61/SC 2 - Mechanical behavior
- Drafting Committee
- ISO/TC 61/SC 2 - Mechanical behavior
- Current Stage
- 9599 - Withdrawal of International Standard
- Start Date
- 26-May-2008
- Completion Date
- 14-Feb-2026
Relations
- Effective Date
- 09-Feb-2026
- Effective Date
- 09-Feb-2026
- Effective Date
- 15-Apr-2008
- Effective Date
- 15-Apr-2008
Buy Documents
ISO 6721-2:1994 - Plastics -- Determination of dynamic mechanical properties
ISO 6721-2:1994 - Plastiques -- Détermination des propriétés mécaniques dynamiques
ISO 6721-2:1994 - Plastiques -- Détermination des propriétés mécaniques dynamiques
Get Certified
Connect with accredited certification bodies for this standard

Smithers Quality Assessments
US management systems and product certification.
DIN CERTCO
DIN Group product certification.
Sponsored listings
Frequently Asked Questions
ISO 6721-2:1994 is a standard published by the International Organization for Standardization (ISO). Its full title is "Plastics — Determination of dynamic mechanical properties — Part 2: Torsion-pendulum method". This standard covers: Specifies two methods for determining the linear dynamic mechanical properties of plastics, i. e. the storage and loss components of the torsional modulus, as a function of temperature, for small deformations within the frequency range from 0,1 Hz to 10 Hz. Also provides information concerning the onset of plastic flow.
Specifies two methods for determining the linear dynamic mechanical properties of plastics, i. e. the storage and loss components of the torsional modulus, as a function of temperature, for small deformations within the frequency range from 0,1 Hz to 10 Hz. Also provides information concerning the onset of plastic flow.
ISO 6721-2:1994 is classified under the following ICS (International Classification for Standards) categories: 83.080.01 - Plastics in general. The ICS classification helps identify the subject area and facilitates finding related standards.
ISO 6721-2:1994 has the following relationships with other standards: It is inter standard links to EN ISO 8257-2:2006, EN ISO 11403-1:2003, ISO 6721-2:2008, ISO 537:1989. Understanding these relationships helps ensure you are using the most current and applicable version of the standard.
ISO 6721-2:1994 is available in PDF format for immediate download after purchase. The document can be added to your cart and obtained through the secure checkout process. Digital delivery ensures instant access to the complete standard document.
Standards Content (Sample)
INTERNATIONAL
ISO
STANDARD
6721-2
First edition
1994-11-01
Plastics - Determination of dynamic
mechanical properties -
Part 2:
Torsion-pendulum method
Plas tiques - Determination des propriktks mbcaniques dynamiques -
Partie 2: Methode au pendule de torsion
Reference number
ISO 6721=2:1994(E)
Foreword
ISO (the International Organization for Standardization) is a worldwide
federation of national Standards bodies (ISO member bodies). The work
of preparing International Standards is normally carried out through ISO
technical committees. Esch member body interested in a subject for
which a technical committee has been established has the right to be
represented on that committee. International organizations, governmental
and non-governmental, in liaison with ISO, also take patt in the work. ISO
collaborates closely with the International Electrotechnical Commission
(IEC) on all matters of electrotechnical standardization.
Draft International Standards adopted by the technical committees are
circulated to the member bodies for voting. Publication as an International
Standard requires approval by at least 75 % of the member bodies casting
a vote.
International Standard ISO 6721-2 was prepared by Technical Committee
lSO/TC 61, Plastics, Subcommittee SC 2, Mechanical properties.
Together with ISO 6721-1, it cancels and replaces ISO 537:1989, which
has been technically revised.
ISO 6721 consists of the following Parts, under the general title
- Determination of dynamic mechanical properties:
Plas tics
- Part 1: General principles
- Part 2: Torsion-pendulum method
- Part 3: Flexural Vibration - ßesonance-curve method
- Part 4: Tensile Vibration - Non-resonance method
- Part 5: Flexural Vibration - Non-resonance method
- Part 6: Shear Vibration - Non-resonance method
- Part 7: Torsional Vibration - Non-resonance me thod
Annex A forms an integral part of this part of ISO 6721. Annexes B, C and
D are for information only.
0 ISO 1994
All rights reserved. Unless otherwise specified, no part of this publication may be reproduced
or utilized in any form or by any means, electronie or mechanical, including photocopying and
microfilm, without Permission in writing from the publisher.
International Organization for Standardization
Gase Postale 56 l CH-l 211 Geneve 20 l Switzerland
Printed in Switzerland
ii
INTERNATIONAL STANDARD * ISO ISO 6721=2:1994(E)
Plastics - Determination of dynamic mechanical
properties -
Part 2:
Torsion-pendulum method
edition indicated was valid. All Standards are subject
1 Scope
to revision, and Parties to agreements based on this
patt of ISO 6721 are encouraged to investigate the
This part of ISO 6721 specifies two methods (A and
possibility of applying the most recent edition of the
B) for determining the linear dynamic mechanical
Standard indicated below. Members of IEC and ISO
properties of plastics, i.e. the storage and loss com-
maintain registers of currently valid International
ponents of the torsional modulus, as a function of
Standards.
temperature, for small deformations within the fre-
quency range from 0,l Hz to IO Hz.
ISO 6721-1:1994, Plastics - Determination of dy-
namic mechanical properties - Part 7: General prin-
The temperature dependence of these properties,
ciples.
measured over a sufficiently broad range of tempera-
tures (for example from - 50 “C to + 150 “C for the
majority of commercially available plastics), gives in-
3 Definitions
formation on the transition regions (for example the
glass transition and the melting transition) of the
See ISO 6721-1 :1994, clause 3.
polymer. lt also provides information concerning the
onset of plastic flow. The two methods described are
4 Principle
not applicable to non-symmetrical laminates (see
ISO 6721-3:1994, Plastics - Determination of dy-
A test specimen of uniform Cross-section is gripped
namic mechanical properties - Part 3: Flexural vi-
by two clamps, one of them fixed and the other con-
bration - ßesonance-curve method). The methods
nected to a disc, which acts as an inertial member,
are not suitable for testing rubbers, for which the user
by a rod. The end of the specimen connected to the
is referred to ISO 4663:1986, Rubber - Determi-
disc is excited, together with the disc, to execute
nation of dynamic behaviour of vulcanizates at /OW
freely decaying torsional oscillations. The oscillation
Torsion pendulum method.
frequencies -
mode is that designated IV in ISO 6721-1 :1994, table
2, and the type of modulus is GtO as defined in
ISO 6721-1:1994, table 3.
2 Normative reference
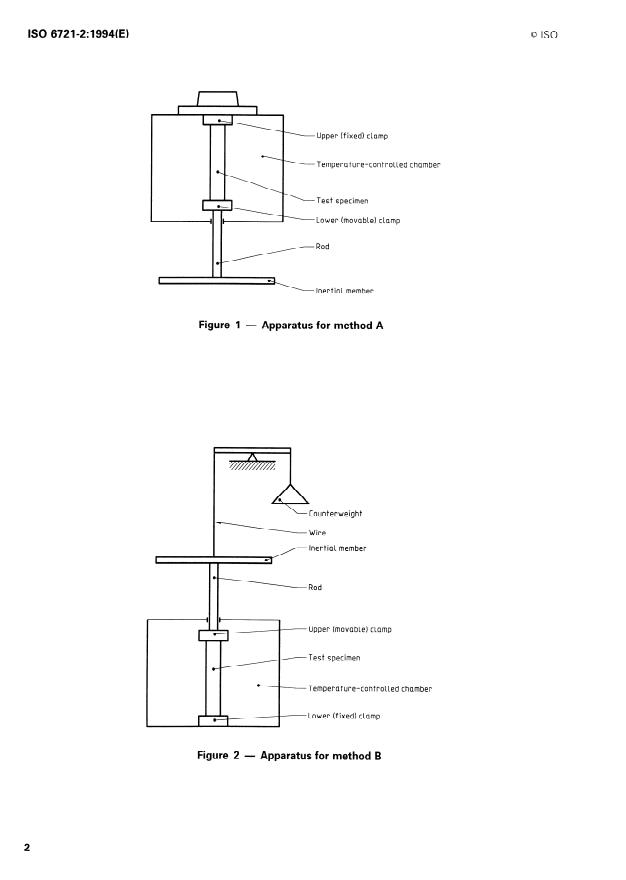
The inertial member is suspended either from the
The following Standard contains provisions which, specimen (method A, see figure l), or from a wire
through reference in this text, constitute provisions (method B, s ee figure2). In the latter case, the wire
of this part of ISO 6721. At the time of publication, the is also part of the elastically oscillating System.
ISO 6721=2:1994(E)
y Upper (fixed) clamp
y Temperature-controlled chamber
‘--.-Test specimen
L Lower (movable) clamp
y Inertial member
Figure 1 - Apparatus for method A
Counterweight
r Inertial member
Rod
w
--- Upper (movable) clamp
L -
y Test specimen
c
e
- Temperature-controlled chamber
Lower (fixedl clamp
Figure 2 - Apparatus for method B
0 ISO ISO 6721=2:1994(E)
During a temperature run, the same inertial member (see 6.1) at a frequency of about 1 Hz, a maximum
tan be used throughout the whole run, which results moment of inertia of about 3 x 1 OW3 kg=m2 is rec-
ommended.
in a frequency decreasing naturally with increasing
temperature, or the inertial member tan be replaced
at intervals by a member of different moment of in-
5.2.1 Method A (see figure 1)
ertia in Order to keep the frequency approximately
The total mass of the inertial member, the lower
constant.
clamp, and the connecting rod shall be such that the
During the test, the frequency and the decaying am-
weight W carried by the specimen is not too high
plitude are measured. From these quantities, the
[see annex A, equation (A.2)].
storage component G ’tO and loss component G ”to of
the torsional complex modulus G& tan be calculated.
5.2.2 Method B (see figure 2)
The total mass of the inertial member, the upper
5 Test apparatus
clamp and the rod must be balanced by a suitable
counterweight, so that the longitudinal forte W acting
5.1 Pendulum
on the specimen is minimized [sec annex A, equation
(A.2)]. The wire supporting these Parts is part of the
Two types of torsion pendulum are specified for use
elastically oscillating System.
with this part of ISO 6721:
the inertial member is suspended from the test
a)
5.3 Clamps
specimen and the lower end of the specimen is
excited (method A, figure 1);
The clamps shall be designed to prevent movement
of the Portion of the specimens gripped within them.
the inertial member is suspended from a wire at-
b)
They shall be self-aligning in Order to ensure that the
tached to a counterweight and the upper end of
specimen axis remains aligned with the axis of rota-
the specimen is excited (method B, figure2).
tion and the test specimen remains adequately se-
cured over the whole temperature range without
Both types of pendulum consists of an intertial mem-
distortion occurring, thus allowing the free length of
ber, two clamps for gripping the specimen (one of
the specimen to be accurately determined.
which is connected to the inertial member by a rod)
and a temperature-controlled chamber enclosing the
The movable clamp shall be of low mass.
specimen and the clamps. For method B, a counter-
weight and connecting wire are also required. The moment of inertia of the whole System (consist-
ing of the movable clamp, the inertial member and the
connecting rod) shall be determined experimentally.
5.2 Inertial member
To prevent heat passing from the specimen out of the
The moment of inertia I of the inertial member, which
temperature-controlled chamber and in the opposite
may be made of aluminium, for instance, shall be
direction, the rod connecting the movable clamp and
selected as a function of the torsional stiffness of the
the inertial member shall be thermally non-
specimen, so that the temperature-dependent natura1
conducting.
frequency of the System lies between approximately
0,l Hz and 10 Hz.
5.4 Oscillation-inducing device
When testing Standard specimens (see 6.1) a mo-
ment of inertia Z of about 3 x 10B5 kg-m2 is rec-
The oscillation-inducing device shall be capable of ap-
ommended if the Same inertial member is to be used
plying to the pendulum a torsional impulse such that
throughout a run.
the pendulum oscillates initially through an angle of
not more than 1,5” in each direction for normal ma-
NOTE 1 For certain materials, e.g. filled polymers, a value
terials, or not more than 3” in each direction for low-
kg*m* may be necessary.
ofIofabout5x10-5
modulus materials (such as elastomers).
If a constant frequency is desired over a broad tem-
perature range, interchangeable inertial members with 5.5 Oscillation-frequency and
different values of I may be used, thereby permitting
oscillation-amplitude recording equipment
the moment of inertia to be varied in Steps of less
than 20 %, i.e. the frequency to be corrected in Steps Optical, electrical or other recording Systems may be
used provided they have no significant influence on
of less than IO %. When testing Standard specimens
ISO 6721=2:1994(E)
The entire equipment for
the oscillating System.
7 Number of specimens
measuring frequency and amplitude shall be accurate
to + 1 % (within the transition region + 5 %). See ISO 6721-1:1994, clause 7.
-
5.6 Temperature-controlled chamber
8 Conditioning
See ISO 6721-3:1994, subclause 5.3. See ISO 6721-1 :1994, clause 8.
If mechanical conditioning of the specimen is re-
5.7 Gas supply
quired, the specimen shall be twisted through an an-
gle greater than 5” but less than 90” in both directions
Air or inert-gas supply for purging purposes.
about the torsional-test axis and returned to its normal
Position.
5.8 Temperature-measurement device
9 Procedure
See ISO 6721-1 :1994, subclause 5.5.
9.1 Test atmosphere
5.9 Devices for measuring test-specimen
dimensions
See ISO 6721-1:1994, subclause 9.1.
See ISO 6721-1 :1994, subclause 5.6.
9.2 Measurement of specimen cross-section
6 Test specimens
See ISO 6721-1 :1994, subclause 9.2.
See ISO 6721-1:1994, clause 6.
9.3 Mounting the test specimens
6.1 Shape and dimensions Clamp the test specimen between the upper and
lower clamps. The longitudinal axis of the test speci-
Rectangular test specimens having the following di-
men shall coincide with the axis of rotation of the os-
mensions are recommended:
cillating System. Any misalignment of the specimen
will Cause lateral oscillations that will interfere with
40 mm to 120 mm, preferably
free length, L:
the normal oscillation process.
50 mm
After clamping the test specimen, measure the dis-
width, b: 5 mm to 11 mm, preferably
tance between the clamps (the free length L) to
IO mm
+ 0,5 %. When setting up the oscillating System in
-
0,15 mm to 2 mm, preferably
thickness, h:
the chamber, check to make Sure that the test speci-
1 mm
men is not stressed.
Spetimens which are rectangular in Cross-section but
After assembling the oscillating System complete
whose thickness and/or width varies along the main
with test specimen, and checking its alignment, Start
axis of the specimen by more than 3 % of the mean
the heating or cooling (see 9.4).
value shall not be used. When comparing different
materials, the dimensions of the specimens shall be
9.4 Varying the temperature
identical. Specimen dimensions differing from the
preferred ones (50 mm x IO mm x 1 mm) should
See ISO 6721-1 :1994, subclause 9.4.
be Chosen to conserve geometric similarity with the
preferred specimen shape.
9.5 Performing the test
Alternative specimen shapes may be used (e.g. cylin-
Start the free oscillations by setting the pendulum in
drical or tubular); in such cases, dimensions and tol-
motion using the oscillation-inducing device (5.4).
erances shall be agreed upon by the interested
Parties.
Record the oscillation freque
...
NORME ISO
INTERNATIONALE 6721-2
Première édition
1994-I I-OI
Plastiques - Détermination des propriétés
mécaniques dynamiques -
Partie 2:
Méthode au pendule de torsion
- Determination of dynamic mechanical properties -
P/as tics
Part 2: Torsion-pendulum me thod
Numéro de référence
ISO 6721=2:1994(F)
Avant-propos
L’ISO (Organisation internationale de normalisation) est une fédération
mondiale d’organismes nationaux de normalisation (comités membres de
I’ISO). L’élaboration des Normes internationales est en général confiée aux
comités techniques de I’ISO. Chaque comité membre intéressé par une
étude a le droit de faire partie du comité technique créé à cet effet. Les
organisations internationales, gouvernementales et non gouvernemen-
tales, en liaison avec I’ISO participent également aux travaux. L’ISO colla-
bore étroitement avec la Commission électrotechnique internationale (CEI)
en ce qui concerne la normalisation électrotechnique.
Les projets de Normes internationales adoptés par les comités techniques
sont soumis aux comités membres pour vote. Leur publication comme
Normes internationales requiert l’approbation de 75 % au moins des co-
mités membres votants.
La Norme internationale ISO 6721-2 a été élaborée par le comité techni-
que lSO/TC 61, Plastiques, sous-comité SC 2, Propriétés mécaniques.
Conjointement avec I’ISO 6721-1, elle annule et remplace I’ISO 537:1989,
laquelle à fait l’objet d’une révision technique.
L’ISO 6721 comprend les parties suivantes, présentées sous le titre gé-
Dé termina tion des propriétés mécaniques
néral P/as tiques -
dynamiques:
- Partie 1: Principes généraux
- Partie 2: Méthode au pendule de torsion
- Partie 3: Vibration en flexion - Méthode en résonance
- Partie 4: Vibration en traction - Méthode hors résonance
- Partie 5: Vibration en flexion - Méthode hors résonance
- Partie 6: Vibration en cisaillement - Méthode hors résonance
- Partie 7: Vibration en torsion - Méthode hors résonance
L’annexe A fait partie intégrante de la présente partie de I’ISO 6721. Les
annexes B, C et D sont données uniquement à titre d’information.
0 ISO 1994
Droits de reproduction réservés. Sauf prescription différente, aucune partie de cette publi-
cation ne peut être reproduite ni utilisée sous quelque forme que ce soit et par aucun pro-
cédé, électronique ou mécanique, y compris la photocopie et les microfilms, sans l’accord
écrit de l’éditeur.
Organisation internationale de normalisation
Case Postale 56 l CH-l 211 Genève 20 l Suisse
Imprimé en Suisse
ii
NORME INTERNATIONALE 0 ISO ISO 6721=2:1994(F)
Plastiques - Détermination des propriétés
mécaniques dynamiques -
Partie 2:
Méthode au pendule de torsion
dispositions valables pour la présente partie de I’ISO
1 Domaine d’application
6721. Au moment de la publication, l’édition indiquée
était en vigueur. Toute norme est sujette à révision
La présente partie de I’ISO 6721 prescrit deux mé-
et les parties prenantes des accords fondés sur la
thodes (A et B) pour la détermination des propriétés
présente partie de I’ISO 6721 sont invitées à recher-
mécaniques dynamiques linéaires, telles que les
cher la possibilité d’appliquer l’édition la plus récente
composantes de conservation et de perte du module
de la norme indiquée ci-après. Les membres de la CEI
en torsion, des plastiques dans le domaine des petites
et de I’ISO possèdent le registre des Normes inter-
déformations en fonction de la température dans la
nationales en vigueur à un moment donné.
gamme de fréquences de 0,l Hz à 10 Hz.
La dépendance thermique de ces propriétés, mesurée ISO 6721-l :1994, Plastiques - Détermination des
sur une gamme de températures suffisamment large propriétés mécaniques dynamiques - Partie 7: Prin-
(par exemple de - 50 OC à + 150 “C pour la majorité cipes généraux.
des plastiques commercialement disponibles), donne
des informations sur les zones de transition (par
3 Définitions
exemple transition vitreuse ou fusion) d’un polymère.
Elle donne aussi une information au sujet du début
Voir ISO 6721-1 :1994, article 3.
de l’écoulement d’un plastique. Les deux méthodes
décrites dans la présente partie de I’ISO 6721 ne sont
4 Principe
pas applicables aux stratifiés asymétriques au sujet
desquels il y a lieu de se reporter à I’ISO 6721-3:1994,
Une éprouvette de section transversale uniforme est
Plastiques - Dé termina tion des proprié tés mécani-
fixée à l’aide de deux brides, dont l’une est fixe et
ques dynamiques - Partie 3: Vibration en flexion -
l’autre reliée à un corps d’inertie, par exemple un dis-
Méthode en résonance. Les méthodes ne s’appli-
que. L’une des extrémités de l’éprouvette est excitée
quent pas non plus pour l’essai de caoutchoucs au
ensemble avec le disque sous l’action d’oscillations
il convient de se reporter à
sujet desquels
en torsion à amortissement libre. Le mode d’oscil-
I’ISO 4663:1986, Caoutchouc - Détermination du
lation est désigné par IV dans I’ISO 6721-l :1994, ta-
comportement dynamique des vulcanisats à basses
bleau 2, et le type de module comprenant le mode
fréquences - Méthode du pendule de torsion.
de déformation par G,, dans I’ISO 6721-1:1994, ta-
bleau 3.
Le corps d’inertie est supporté soit par l’éprouvette
2 Référence normative
(méthode A, voir figure 11, soit par un fil (méthode B,
voir figure 2). Dans ce dernier cas, le fil est également
La norme suivante contient des dispositions qui, par
suite de la référence qui en est faite, constituent des une partie élastique du système oscillant.
ISO 6721=2:1994(F)
Bride superieure (fixe)
Enceinte thermostatée
Éprouvette
Bride inférieure (mobile)
1 1:s d’inertie
- Appareillage pour la méthode A
Figure 1
.ontrepoids
-Corps d’inertie
I
I
I
I I
Il,
Bride superieure (mobil .e)
I l I
--- Éprouvette
l
Enceinte thermostatee
,&(--Bride inférieure (fixe)
I - I
I
- Appareillage pour la méthode B
Figure 2
0 ISO
ISO 6721=2:1994(F)
NOTE 1 Pour certains matériaux, par exemple des poly-
Durant une séquence de température, le corps
mères chargés, une valeur de I d’environ 5 x 10B5 kg=m*
d’inertie reste soit inchangé (il est résulte une fré-
peut être nécessaire.
quence décroissant naturellement avec un accrois-
sement de la température), soit il peut être remplacé
Si une fréquence constante, dans un large domaine
à intervalles de temps adéquats par un corps d’inertie
de températures, est souhaitée, des corps d’inertie
ayant un moment d’inertie différent afin de maintenir
interchangeables avec différentes valeurs de 1 peu-
une fréquence approximativement constante.
vent être utilisés, de façon à permettre une variation
par paliers du moment d’inertie de moins de 20 %,
” Durant l’essai, la fréquence et les amplitudes dé-
ce qui équivaut à une correspondance par paliers de
croissantes sont mesurées. La composante de
la fréquence de moins de 10 %. Pour l’essai avec des
conservation G’, et la composante de perte Gf’to du
éprouvettes normalisées (voir 6.1) à une fréquence
module complexe en torsion GJo peuvent être calcu-
d’environ 1 Hz, un moment d’inertie maximal d’envi-
lées à partir de ces grandeurs.
ron 3 x 10m3
kgmm2 est recommandé.
5 Appareillage
5.2.1 Méthode A (voir figure 1)
La masse totale du corps d’inertie, de la bride infé-
5.1 Pendule
rieure et de la tige de liaison doit être telle que la
masse W supportée par l’éprouvette ne soit pas trop
Deux types de pendules de torsion sont prescrits
élevée [voir annexe A, équation (A.2)].
dans la présente partie de I’ISO 6721, à savoir:
5.2.2 Méthode B (voir figure2)
a) le corps d’inertie est supporté par l’éprouvette et
l’extrémité basse de l’éprouvette est excitée
La masse totale du corps d’inertie, de la bride supé-
(méthode A, figure 1)
I
rieure et de la tige doit être compensée à l’aide d’un
contrepoids convenable, de façon à minimiser la force
b) le corps d’inertie est supporté par un contrepoids
longitudinale W sur l’éprouvette [voir annexe A,
à l’aide d’un fil et l’extrémité supérieure de
équation (A.2)]. Le fil supportant ces parties est une
l’éprouvette est excitée (méthode B, figure 2).
partie élastique du système d’oscillation.
Les deux types de pendules de torsion consistent en
un corps d’inertie, deux brides pour fixer l’éprouvette
5.3 Brides
(dont l’une est reliée au corps d’inertie par I’intermé-
Les brides doivent être conçues de façon à prévenir
diaire d’une tige) et une enceinte thermostatée
tout mouvement dans la zone bridée des éprouvettes.
contenant l’éprouvette et les brides. Pour la méthode
Elles doivent être autoalignantes pour maintenir I’ali-
B est utilisé de plus un contrepoids supportant le
gnement de l’axe de l’éprouvette avec l’axe de rota-
corps d’inertie à l’aide d’un fil.
tion et être capables de sauvegarder l’éprouvette pour
toute la gamme de températures sans distorsion et
5.2 Corps d’inertie
de permettre ainsi la détermination précise de la lon-
gueur libre de l’éprouvette.
Le moment d’inertie 1 du corps d’inertie, qui peut être
en aluminium par exemple, doit être sélectionné en
La bride mobile doit avoir une masse faible.
fonction de la rigidité en torsion de l’éprouvette, de
Le moment d’inertie de tout le système (comportant
façon que la fréquence naturelle du système dépen-
dant de la température soit située approximativement la bride mobile, le corps d’inertie et la tige de liaison)
entre 0,l Hz et 10 Hz. doit être déterminé expérimentalement.
Pour l’essai d’éprouvettes normalisées (voir 6.1), un Afin d’éviter la conduction de la chaleur de I’éprou-
moment d’inertie Z d’environ 3 x 10w5 kgmm2 est re- vette vers l’entourage de l’enceinte thermostatée et
vice versa, la tige de liaison, la bride mobile et le corps
commandé si le même corps d’inertie est à utiliser
tout au long d’un essai. d’inertie doivent être des isolants thermiques.
0 ISO
ISO 6721=2:1994(F)
Les éprouvettes à section transversale rectangulaire
5.4 Dispositif générateur d’oscillation
dont la valeur de l’épaisseur et/ou de la largeur varie
de plus de 3 % le long de l’axe principal de I’éprou-
Le dispositif d’oscillation doit être capable d’appliquer
vette par rapport à la valeur moyenne doivent être
au pendule une pulsation en torsion avec un angle de
éliminées. Pour comparer des éprouvettes en diffé-
torsion ne dépassant par 1,5” dans chaque direction
rents matériaux, les dimensions des éprouvettes doi-
pour les matériaux courants, ou ne dépassant pas 3”
vent être identiques. Les dimensions d’éprouvette
dans chaque direction pour la matériaux à faible mo-
différentes de celles recommandées (50 mm x
dule (tels que les élastomères).
10 mm x 1 mm) doivent être choisies de façon
qu’une similitude géométrique par rapport à la forme
5.5 Équipement pour l’enregistrement de la
de l’éprouvette recommandée soit assurée.
fréquence et de l’amplitude des oscillations
Des variantes de formes d’éprouvettes peuvent être
Des systèmes d’enregistrement optiques, électriques
utilisées (par exemple, forme cylindrique ou tubulaire);
ou autres peuvent être utilisés à la condition qu’ils
dans ces cas, les dimensions et les tolérances doivent
n’influencent pas le système d’oscillation. L’équi-
être agréées par les parties intéressées.
pement entier pour le mesurage de la fréquence et
de l’amplitude des oscillations doit être précis à
6.2 Préparation
+ 1 % (-& 5 % dans la zone de transition).
-
Voir ISO 6721-1 :1994, paragraphe 6.2.
Voir ISO 6721-1:1994, 5.3.
5.6 Enceinte thermostatée
7 Nombre d’éprouvettes
Voir ISO 6721-3:1994, paragraphe 5.3.
Voir ISO 6721-1 :1994, article 7.
5.7 Fourniture de gaz
8 Conditionnement
De l’air ou un gaz inerte approprié doit être utilisé pour
Voir ISO 6721-1 :1994, article 8.
les besoins de purge.
Si un conditionnement mécanique de l’éprouvette est
5.8 Dispositif pour le mesurage de la requis, l’éprouvette doit être soumise à une torsion
d’un angle supérieur à 5” mais inférieur à 90” dans les
température
deux directions par rapport à l’axe de l’essai de torsion
avec retour à la position normale.
Voir ISO 6721-1:1994, paragraphe 5.5.
5.9 Dispositifs pour le mesurage des
9 Mode opératoire
dimensions des éprouvettes
9.1 Atmosphère d’essai
Voir ISO 6721-1 :1994, paragraphe 5.6.
Voir ISO 6721-1:1994, paragraphe 9.1.
6 Éprouvettes
9.2 Mesurage de la section transversale de
Voir ISO 6721-1 :1994, article 6.
l’éprouvette
. Forme et dimensions
Voir ISO 6721-I :1994, paragraphe 9.2.
s rectan-
II est recommandé d’utiliser des éprouvette
9.3 Montage des éprouvettes
gulaires ayant les di mensions suivantes:
longueur libre, L : 40 mm à 120 mm, recomman- Fixer l’éprouvette entre les brides supérieure et infé-
dée 50 mm rieure. L’axe longitudinal de l’éprouvette doit coïncider
5 mm à II mm, recommandée avec l’axe de rotation du système oscillant. Un mau-
largeur, b :
10 mm vais alignement de l’éprouvette peut occasionner des
oscillations latérales qui interféreront avec le proces-
épaisseur, h : 0,15 mm à 2 mm, recomman-
sus normal d’oscillation.
dée 1 mm
0 ISO
ISO 6721=2:1994(F)
A décrément logarithmique des oscillations amor-
Après le bridage de l’éprouvette, mesurer la distance
ties du pendule avec éprouvette
entre les brides (longueur libre L) à 0,5 % près. Après
le montage du système oscillant dans l’enceinte, vé-
A, décrément logarithmique des oscillations amor-
rifier que l’éprouvette n’est pas soumise à une
ties du pendule utilisé dans la méthode
...
NORME ISO
INTERNATIONALE 6721-2
Première édition
1994-I I-OI
Plastiques - Détermination des propriétés
mécaniques dynamiques -
Partie 2:
Méthode au pendule de torsion
- Determination of dynamic mechanical properties -
P/as tics
Part 2: Torsion-pendulum me thod
Numéro de référence
ISO 6721=2:1994(F)
Avant-propos
L’ISO (Organisation internationale de normalisation) est une fédération
mondiale d’organismes nationaux de normalisation (comités membres de
I’ISO). L’élaboration des Normes internationales est en général confiée aux
comités techniques de I’ISO. Chaque comité membre intéressé par une
étude a le droit de faire partie du comité technique créé à cet effet. Les
organisations internationales, gouvernementales et non gouvernemen-
tales, en liaison avec I’ISO participent également aux travaux. L’ISO colla-
bore étroitement avec la Commission électrotechnique internationale (CEI)
en ce qui concerne la normalisation électrotechnique.
Les projets de Normes internationales adoptés par les comités techniques
sont soumis aux comités membres pour vote. Leur publication comme
Normes internationales requiert l’approbation de 75 % au moins des co-
mités membres votants.
La Norme internationale ISO 6721-2 a été élaborée par le comité techni-
que lSO/TC 61, Plastiques, sous-comité SC 2, Propriétés mécaniques.
Conjointement avec I’ISO 6721-1, elle annule et remplace I’ISO 537:1989,
laquelle à fait l’objet d’une révision technique.
L’ISO 6721 comprend les parties suivantes, présentées sous le titre gé-
Dé termina tion des propriétés mécaniques
néral P/as tiques -
dynamiques:
- Partie 1: Principes généraux
- Partie 2: Méthode au pendule de torsion
- Partie 3: Vibration en flexion - Méthode en résonance
- Partie 4: Vibration en traction - Méthode hors résonance
- Partie 5: Vibration en flexion - Méthode hors résonance
- Partie 6: Vibration en cisaillement - Méthode hors résonance
- Partie 7: Vibration en torsion - Méthode hors résonance
L’annexe A fait partie intégrante de la présente partie de I’ISO 6721. Les
annexes B, C et D sont données uniquement à titre d’information.
0 ISO 1994
Droits de reproduction réservés. Sauf prescription différente, aucune partie de cette publi-
cation ne peut être reproduite ni utilisée sous quelque forme que ce soit et par aucun pro-
cédé, électronique ou mécanique, y compris la photocopie et les microfilms, sans l’accord
écrit de l’éditeur.
Organisation internationale de normalisation
Case Postale 56 l CH-l 211 Genève 20 l Suisse
Imprimé en Suisse
ii
NORME INTERNATIONALE 0 ISO ISO 6721=2:1994(F)
Plastiques - Détermination des propriétés
mécaniques dynamiques -
Partie 2:
Méthode au pendule de torsion
dispositions valables pour la présente partie de I’ISO
1 Domaine d’application
6721. Au moment de la publication, l’édition indiquée
était en vigueur. Toute norme est sujette à révision
La présente partie de I’ISO 6721 prescrit deux mé-
et les parties prenantes des accords fondés sur la
thodes (A et B) pour la détermination des propriétés
présente partie de I’ISO 6721 sont invitées à recher-
mécaniques dynamiques linéaires, telles que les
cher la possibilité d’appliquer l’édition la plus récente
composantes de conservation et de perte du module
de la norme indiquée ci-après. Les membres de la CEI
en torsion, des plastiques dans le domaine des petites
et de I’ISO possèdent le registre des Normes inter-
déformations en fonction de la température dans la
nationales en vigueur à un moment donné.
gamme de fréquences de 0,l Hz à 10 Hz.
La dépendance thermique de ces propriétés, mesurée ISO 6721-l :1994, Plastiques - Détermination des
sur une gamme de températures suffisamment large propriétés mécaniques dynamiques - Partie 7: Prin-
(par exemple de - 50 OC à + 150 “C pour la majorité cipes généraux.
des plastiques commercialement disponibles), donne
des informations sur les zones de transition (par
3 Définitions
exemple transition vitreuse ou fusion) d’un polymère.
Elle donne aussi une information au sujet du début
Voir ISO 6721-1 :1994, article 3.
de l’écoulement d’un plastique. Les deux méthodes
décrites dans la présente partie de I’ISO 6721 ne sont
4 Principe
pas applicables aux stratifiés asymétriques au sujet
desquels il y a lieu de se reporter à I’ISO 6721-3:1994,
Une éprouvette de section transversale uniforme est
Plastiques - Dé termina tion des proprié tés mécani-
fixée à l’aide de deux brides, dont l’une est fixe et
ques dynamiques - Partie 3: Vibration en flexion -
l’autre reliée à un corps d’inertie, par exemple un dis-
Méthode en résonance. Les méthodes ne s’appli-
que. L’une des extrémités de l’éprouvette est excitée
quent pas non plus pour l’essai de caoutchoucs au
ensemble avec le disque sous l’action d’oscillations
il convient de se reporter à
sujet desquels
en torsion à amortissement libre. Le mode d’oscil-
I’ISO 4663:1986, Caoutchouc - Détermination du
lation est désigné par IV dans I’ISO 6721-l :1994, ta-
comportement dynamique des vulcanisats à basses
bleau 2, et le type de module comprenant le mode
fréquences - Méthode du pendule de torsion.
de déformation par G,, dans I’ISO 6721-1:1994, ta-
bleau 3.
Le corps d’inertie est supporté soit par l’éprouvette
2 Référence normative
(méthode A, voir figure 11, soit par un fil (méthode B,
voir figure 2). Dans ce dernier cas, le fil est également
La norme suivante contient des dispositions qui, par
suite de la référence qui en est faite, constituent des une partie élastique du système oscillant.
ISO 6721=2:1994(F)
Bride superieure (fixe)
Enceinte thermostatée
Éprouvette
Bride inférieure (mobile)
1 1:s d’inertie
- Appareillage pour la méthode A
Figure 1
.ontrepoids
-Corps d’inertie
I
I
I
I I
Il,
Bride superieure (mobil .e)
I l I
--- Éprouvette
l
Enceinte thermostatee
,&(--Bride inférieure (fixe)
I - I
I
- Appareillage pour la méthode B
Figure 2
0 ISO
ISO 6721=2:1994(F)
NOTE 1 Pour certains matériaux, par exemple des poly-
Durant une séquence de température, le corps
mères chargés, une valeur de I d’environ 5 x 10B5 kg=m*
d’inertie reste soit inchangé (il est résulte une fré-
peut être nécessaire.
quence décroissant naturellement avec un accrois-
sement de la température), soit il peut être remplacé
Si une fréquence constante, dans un large domaine
à intervalles de temps adéquats par un corps d’inertie
de températures, est souhaitée, des corps d’inertie
ayant un moment d’inertie différent afin de maintenir
interchangeables avec différentes valeurs de 1 peu-
une fréquence approximativement constante.
vent être utilisés, de façon à permettre une variation
par paliers du moment d’inertie de moins de 20 %,
” Durant l’essai, la fréquence et les amplitudes dé-
ce qui équivaut à une correspondance par paliers de
croissantes sont mesurées. La composante de
la fréquence de moins de 10 %. Pour l’essai avec des
conservation G’, et la composante de perte Gf’to du
éprouvettes normalisées (voir 6.1) à une fréquence
module complexe en torsion GJo peuvent être calcu-
d’environ 1 Hz, un moment d’inertie maximal d’envi-
lées à partir de ces grandeurs.
ron 3 x 10m3
kgmm2 est recommandé.
5 Appareillage
5.2.1 Méthode A (voir figure 1)
La masse totale du corps d’inertie, de la bride infé-
5.1 Pendule
rieure et de la tige de liaison doit être telle que la
masse W supportée par l’éprouvette ne soit pas trop
Deux types de pendules de torsion sont prescrits
élevée [voir annexe A, équation (A.2)].
dans la présente partie de I’ISO 6721, à savoir:
5.2.2 Méthode B (voir figure2)
a) le corps d’inertie est supporté par l’éprouvette et
l’extrémité basse de l’éprouvette est excitée
La masse totale du corps d’inertie, de la bride supé-
(méthode A, figure 1)
I
rieure et de la tige doit être compensée à l’aide d’un
contrepoids convenable, de façon à minimiser la force
b) le corps d’inertie est supporté par un contrepoids
longitudinale W sur l’éprouvette [voir annexe A,
à l’aide d’un fil et l’extrémité supérieure de
équation (A.2)]. Le fil supportant ces parties est une
l’éprouvette est excitée (méthode B, figure 2).
partie élastique du système d’oscillation.
Les deux types de pendules de torsion consistent en
un corps d’inertie, deux brides pour fixer l’éprouvette
5.3 Brides
(dont l’une est reliée au corps d’inertie par I’intermé-
Les brides doivent être conçues de façon à prévenir
diaire d’une tige) et une enceinte thermostatée
tout mouvement dans la zone bridée des éprouvettes.
contenant l’éprouvette et les brides. Pour la méthode
Elles doivent être autoalignantes pour maintenir I’ali-
B est utilisé de plus un contrepoids supportant le
gnement de l’axe de l’éprouvette avec l’axe de rota-
corps d’inertie à l’aide d’un fil.
tion et être capables de sauvegarder l’éprouvette pour
toute la gamme de températures sans distorsion et
5.2 Corps d’inertie
de permettre ainsi la détermination précise de la lon-
gueur libre de l’éprouvette.
Le moment d’inertie 1 du corps d’inertie, qui peut être
en aluminium par exemple, doit être sélectionné en
La bride mobile doit avoir une masse faible.
fonction de la rigidité en torsion de l’éprouvette, de
Le moment d’inertie de tout le système (comportant
façon que la fréquence naturelle du système dépen-
dant de la température soit située approximativement la bride mobile, le corps d’inertie et la tige de liaison)
entre 0,l Hz et 10 Hz. doit être déterminé expérimentalement.
Pour l’essai d’éprouvettes normalisées (voir 6.1), un Afin d’éviter la conduction de la chaleur de I’éprou-
moment d’inertie Z d’environ 3 x 10w5 kgmm2 est re- vette vers l’entourage de l’enceinte thermostatée et
vice versa, la tige de liaison, la bride mobile et le corps
commandé si le même corps d’inertie est à utiliser
tout au long d’un essai. d’inertie doivent être des isolants thermiques.
0 ISO
ISO 6721=2:1994(F)
Les éprouvettes à section transversale rectangulaire
5.4 Dispositif générateur d’oscillation
dont la valeur de l’épaisseur et/ou de la largeur varie
de plus de 3 % le long de l’axe principal de I’éprou-
Le dispositif d’oscillation doit être capable d’appliquer
vette par rapport à la valeur moyenne doivent être
au pendule une pulsation en torsion avec un angle de
éliminées. Pour comparer des éprouvettes en diffé-
torsion ne dépassant par 1,5” dans chaque direction
rents matériaux, les dimensions des éprouvettes doi-
pour les matériaux courants, ou ne dépassant pas 3”
vent être identiques. Les dimensions d’éprouvette
dans chaque direction pour la matériaux à faible mo-
différentes de celles recommandées (50 mm x
dule (tels que les élastomères).
10 mm x 1 mm) doivent être choisies de façon
qu’une similitude géométrique par rapport à la forme
5.5 Équipement pour l’enregistrement de la
de l’éprouvette recommandée soit assurée.
fréquence et de l’amplitude des oscillations
Des variantes de formes d’éprouvettes peuvent être
Des systèmes d’enregistrement optiques, électriques
utilisées (par exemple, forme cylindrique ou tubulaire);
ou autres peuvent être utilisés à la condition qu’ils
dans ces cas, les dimensions et les tolérances doivent
n’influencent pas le système d’oscillation. L’équi-
être agréées par les parties intéressées.
pement entier pour le mesurage de la fréquence et
de l’amplitude des oscillations doit être précis à
6.2 Préparation
+ 1 % (-& 5 % dans la zone de transition).
-
Voir ISO 6721-1 :1994, paragraphe 6.2.
Voir ISO 6721-1:1994, 5.3.
5.6 Enceinte thermostatée
7 Nombre d’éprouvettes
Voir ISO 6721-3:1994, paragraphe 5.3.
Voir ISO 6721-1 :1994, article 7.
5.7 Fourniture de gaz
8 Conditionnement
De l’air ou un gaz inerte approprié doit être utilisé pour
Voir ISO 6721-1 :1994, article 8.
les besoins de purge.
Si un conditionnement mécanique de l’éprouvette est
5.8 Dispositif pour le mesurage de la requis, l’éprouvette doit être soumise à une torsion
d’un angle supérieur à 5” mais inférieur à 90” dans les
température
deux directions par rapport à l’axe de l’essai de torsion
avec retour à la position normale.
Voir ISO 6721-1:1994, paragraphe 5.5.
5.9 Dispositifs pour le mesurage des
9 Mode opératoire
dimensions des éprouvettes
9.1 Atmosphère d’essai
Voir ISO 6721-1 :1994, paragraphe 5.6.
Voir ISO 6721-1:1994, paragraphe 9.1.
6 Éprouvettes
9.2 Mesurage de la section transversale de
Voir ISO 6721-1 :1994, article 6.
l’éprouvette
. Forme et dimensions
Voir ISO 6721-I :1994, paragraphe 9.2.
s rectan-
II est recommandé d’utiliser des éprouvette
9.3 Montage des éprouvettes
gulaires ayant les di mensions suivantes:
longueur libre, L : 40 mm à 120 mm, recomman- Fixer l’éprouvette entre les brides supérieure et infé-
dée 50 mm rieure. L’axe longitudinal de l’éprouvette doit coïncider
5 mm à II mm, recommandée avec l’axe de rotation du système oscillant. Un mau-
largeur, b :
10 mm vais alignement de l’éprouvette peut occasionner des
oscillations latérales qui interféreront avec le proces-
épaisseur, h : 0,15 mm à 2 mm, recomman-
sus normal d’oscillation.
dée 1 mm
0 ISO
ISO 6721=2:1994(F)
A décrément logarithmique des oscillations amor-
Après le bridage de l’éprouvette, mesurer la distance
ties du pendule avec éprouvette
entre les brides (longueur libre L) à 0,5 % près. Après
le montage du système oscillant dans l’enceinte, vé-
A, décrément logarithmique des oscillations amor-
rifier que l’éprouvette n’est pas soumise à une
ties du pendule utilisé dans la méthode
...












Questions, Comments and Discussion
Ask us and Technical Secretary will try to provide an answer. You can facilitate discussion about the standard in here.
Loading comments...