ISO 7051:1983
(Main)Cross recessed raised countersunk (oval) head tapping screws
Cross recessed raised countersunk (oval) head tapping screws
Specifies the characteristics of products with thread sizes form ST 2,2 up to and including ST 9,5; includes specifications with reference to International Standards; gives an example for the designation
Vis à tôle à tête fraisée bombée à empreinte cruciforme
La présente Norme internationale spécifie les caractéristiques des vis à tôle à tête fraisée bombée à empreinte cruciforme, de diamètre nominal de filetage ST 2,2 à ST 9,5 inclus.
General Information
- Status
- Withdrawn
- Publication Date
- 31-Aug-1983
- Withdrawal Date
- 31-Aug-1983
- Technical Committee
- ISO/TC 2/SC 13 - Fasteners with non-metric thread
- Drafting Committee
- ISO/TC 2/SC 13 - Fasteners with non-metric thread
- Current Stage
- 9599 - Withdrawal of International Standard
- Start Date
- 21-Jul-2011
- Completion Date
- 12-Feb-2026
Relations
- Effective Date
- 17-Mar-2009
ISO 7051:1983 - Cross recessed raised countersunk (oval) head tapping screws
ISO 7051:1983 - Vis a tôle a tete fraisée bombée a empreinte cruciforme
ISO 7051:1983 - Vis a tôle a tete fraisée bombée a empreinte cruciforme
Frequently Asked Questions
ISO 7051:1983 is a standard published by the International Organization for Standardization (ISO). Its full title is "Cross recessed raised countersunk (oval) head tapping screws". This standard covers: Specifies the characteristics of products with thread sizes form ST 2,2 up to and including ST 9,5; includes specifications with reference to International Standards; gives an example for the designation
Specifies the characteristics of products with thread sizes form ST 2,2 up to and including ST 9,5; includes specifications with reference to International Standards; gives an example for the designation
ISO 7051:1983 is classified under the following ICS (International Classification for Standards) categories: 21.060.10 - Bolts, screws, studs. The ICS classification helps identify the subject area and facilitates finding related standards.
ISO 7051:1983 has the following relationships with other standards: It is inter standard links to ISO 7051:2011. Understanding these relationships helps ensure you are using the most current and applicable version of the standard.
ISO 7051:1983 is available in PDF format for immediate download after purchase. The document can be added to your cart and obtained through the secure checkout process. Digital delivery ensures instant access to the complete standard document.
Standards Content (Sample)
Internati nal Standard
INTERNATIONAL ORGANIZATION FOR STANDARDIZATIONWE)KF1YHAPO~HAR OPI-AHM3ALlHR fl0 CTAHJJAPTH3ALWWORGANISATION INTERNATIONALE DE NORMALISATION
Cross recessed raised countersunk (oval) head tapping
screws
Vis & tOle 6 t@te fraiske bombke A empreinte cruciforme
First edition - 1983-09-15
Ref. No. ISO 70514983 (E)
UDC 621 l 82.216.5.082.8
Descriptors : fasteners, screws, countersunk head screws, dimensions, designation.
Price based on 4 pages
Foreword
ISO (the International Organization for Standardization) is a worldwide federation of
national Standards bodies WO member bedies). The work of developing International
Standards is carried out through ISO technical committees. Every member body
interested in a subject for which a technical committee has been authorized has the
right to be represented on that committee. International organizations, governmental
and non-governmental, in liaison with ISO, also take part in the work.
Draft International Standards adopted by the technical committees are circulated to
the member bodies for approval before their acceptance as International Standards by
the ISO Council.
International Standard ISO 7051 was developed by Technical Committee ISO/TC 2,
Fasteners, and was circulated to the member bodies in December 1981.
lt has been approved by the member bodies of the following countries:
Germany, F. R. Norway
Australia
Romania
Austria Hungary
India South Africa, Rep. of
Belgium
Spain
Ireland
Brazil
Sri Lanka
China Japan
Korea, Dem. P. Rep. of Sweden
Czechoslovakia
Switzerland
Denmark Korea, Rep. of
Mexico USA
Egypt, Arab Rep. of
Netherlands
Finland
France New Zealand
the following countries expressed disapproval of the docu
The member bodies of
on technical grounds :
Canada
Italy
Poland
United Kingdom
USSR
0 International Organkation for Standardkation, 1983
Printed in Switzerland
INTERNATIONAL STANDARD ISO 70514983 (E)
Cross recessed raised countersunk (oval) head tapping
screws
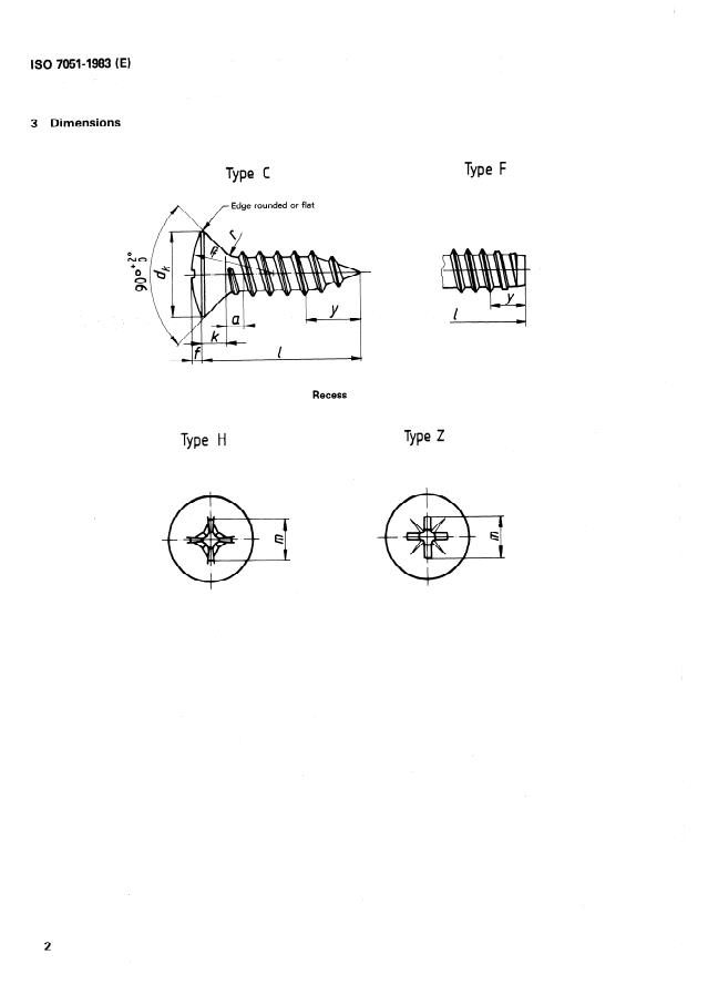
1 Scope and field of application
This International Standard specifies the characteristics of Cross recessed raised countersunk (oval) head tapping screws with thread
sizes from ST 2,2 to ST 9,5 inclusive.
2 References
Bolts, screws, studs and nuts - Symbols and designa tions o f dimensions.
ISO 225, Fasteners -
ISO 1478, Tapping screws thread.
ISO 2702, Heat-treated steel tapping screws - Mechanical properties.
ISO 3269, Fasteners - Acceptance inspection. 1)
Electropla ted cos tings componen ts. 1)
ISO 4042, Threaded components -
ISO 4757, Cross recesses for screws.
ISO 475911, Tolerantes for fasteners - Part 1: Belts, screws and nuts with thread diameters > 1,6 and Q 150 mm and product
grades A, B and C.
ISO 7721, Countersunk head screws - Head configurations and gauging.
1) At present at the
...
Norme internationale
INTERNATIONAL ORGANIZATION FOR STANDARDIZATIONWEXJJYHAPO~HAR OPTAHH3AUWR fl0 CTAHLIAPTH3AUWM~RGANISAtlON INTERNATIONALE DE NORMALISATION
Vis à tôle à tête fraisée bombée à empreinte cruciforme
Cross recessed raised countersunk lovalJ head tapping screws
Première édition - 19834945
CDU 621.882.216.5.082.8
Réf. no : ISO 70514983 (F)
Descripteurs : élément de fixation, vis, vis à tête fraisée, dimension, désignation.
Prix basé sur 4 pages
Avant-propos
L’ISO (Organisation internationale de normalisation) est une fédération mondiale
d’organismes nationaux de normalisation (comités membres de I’ISO). L’élaboration
des Normes internationales est confiée aux comités techniques de I’ISO. Chaque
comité membre intéressé par une étude a le droit de faire partie du comité technique
correspondant. Les organisations internationales, gouvernementales et non gouverne-
mentales, en liaison avec I’ISO, participent également aux travaux.
Les projets de Normes internationales adoptés par les comités techniques sont soumis
aux comités membres pour approbation, avant leur acceptation comme Normes inter-
nationales par le Conseil de I’ISO.
La Norme internationale ISO 7051 a été élaborée par le comité technique ISO/TC 2,
&Sments de fixation, et a été soumise aux comités membres en décembre 1981.
Les comités membres des pays suivants l’ont approuvée:
Afrique du Sud, Rép. d’ Egypte, Rép. arabe d’
Nouvelle-Zélande
Allemagne, R.F. Espagne Pays-Bas
Australie Finlande
Roumanie
Autriche France Sri Lanka
Belgique Hongrie Suède
Brésil Inde
Suisse
Chine Irlande Tchécoslovaquie
Corée, Rép. de Japon USA
Corée, Rép. dém. p. de Mexique
Danemark Norvège
Les comités membres des pays suivants l’ont désapprouvée pour des raisons
techniques :
Canada
Italie
Pologne
Royaume-Uni
URSS
@ Organisation internationale de normalisation, 1983 0
Imprimé en Suisse
ISO 70514983 (F)
NORME INTERNATIONALE
Vis à tôle à tête fraisée bombée à empreinte cruciforme
1 Objet et domaine d’application
La présente Norme internationale spécifie les caractéristiques des vis à tôle à tête fraisée bombée à empreinte cruciforme, de diamètre
nominal de filetage ST 2,2 à ST 9,5 inclus.
2 Références
Symboles et désignations des dimensions.
I S 0 225, Eléments de fixation - Boulons, vis, goujons et écrous -
ISO 1478, FIetage de vis à tôle.
ISO 2702, Vis à tôle en acier traité thermiquement - Caracteristiques mécaniques.
I SO 3269, &men ts de fixation - Contrôle de réception. 1)
Revêtements électrolytiques. 1)
1 SO 4642, Elements fIetés -
ISO 4757, Empreintes cruciformes pour vis.
ISO 475911, Tolérances pour éléments de fixation - Partie 1: Boulons, vis et écrous de diamètre de filetage > 1,6 et < 150 mm et de
niveaux de finition A, B et C.
ISO 7721, Vis à tête fraisée - Configuration de la tête et vérification par calibre.
1) Actuellement au stade de projet.
...
Norme internationale
INTERNATIONAL ORGANIZATION FOR STANDARDIZATIONWEXJJYHAPO~HAR OPTAHH3AUWR fl0 CTAHLIAPTH3AUWM~RGANISAtlON INTERNATIONALE DE NORMALISATION
Vis à tôle à tête fraisée bombée à empreinte cruciforme
Cross recessed raised countersunk lovalJ head tapping screws
Première édition - 19834945
CDU 621.882.216.5.082.8
Réf. no : ISO 70514983 (F)
Descripteurs : élément de fixation, vis, vis à tête fraisée, dimension, désignation.
Prix basé sur 4 pages
Avant-propos
L’ISO (Organisation internationale de normalisation) est une fédération mondiale
d’organismes nationaux de normalisation (comités membres de I’ISO). L’élaboration
des Normes internationales est confiée aux comités techniques de I’ISO. Chaque
comité membre intéressé par une étude a le droit de faire partie du comité technique
correspondant. Les organisations internationales, gouvernementales et non gouverne-
mentales, en liaison avec I’ISO, participent également aux travaux.
Les projets de Normes internationales adoptés par les comités techniques sont soumis
aux comités membres pour approbation, avant leur acceptation comme Normes inter-
nationales par le Conseil de I’ISO.
La Norme internationale ISO 7051 a été élaborée par le comité technique ISO/TC 2,
&Sments de fixation, et a été soumise aux comités membres en décembre 1981.
Les comités membres des pays suivants l’ont approuvée:
Afrique du Sud, Rép. d’ Egypte, Rép. arabe d’
Nouvelle-Zélande
Allemagne, R.F. Espagne Pays-Bas
Australie Finlande
Roumanie
Autriche France Sri Lanka
Belgique Hongrie Suède
Brésil Inde
Suisse
Chine Irlande Tchécoslovaquie
Corée, Rép. de Japon USA
Corée, Rép. dém. p. de Mexique
Danemark Norvège
Les comités membres des pays suivants l’ont désapprouvée pour des raisons
techniques :
Canada
Italie
Pologne
Royaume-Uni
URSS
@ Organisation internationale de normalisation, 1983 0
Imprimé en Suisse
ISO 70514983 (F)
NORME INTERNATIONALE
Vis à tôle à tête fraisée bombée à empreinte cruciforme
1 Objet et domaine d’application
La présente Norme internationale spécifie les caractéristiques des vis à tôle à tête fraisée bombée à empreinte cruciforme, de diamètre
nominal de filetage ST 2,2 à ST 9,5 inclus.
2 Références
Symboles et désignations des dimensions.
I S 0 225, Eléments de fixation - Boulons, vis, goujons et écrous -
ISO 1478, FIetage de vis à tôle.
ISO 2702, Vis à tôle en acier traité thermiquement - Caracteristiques mécaniques.
I SO 3269, &men ts de fixation - Contrôle de réception. 1)
Revêtements électrolytiques. 1)
1 SO 4642, Elements fIetés -
ISO 4757, Empreintes cruciformes pour vis.
ISO 475911, Tolérances pour éléments de fixation - Partie 1: Boulons, vis et écrous de diamètre de filetage > 1,6 et < 150 mm et de
niveaux de finition A, B et C.
ISO 7721, Vis à tête fraisée - Configuration de la tête et vérification par calibre.
1) Actuellement au stade de projet.
...












Questions, Comments and Discussion
Ask us and Technical Secretary will try to provide an answer. You can facilitate discussion about the standard in here.
Loading comments...