ISO 1977-3:1974
(Main)Conveyor chains, attachments and chain wheels — Part 3: Attachments — Metric series
Conveyor chains, attachments and chain wheels — Part 3: Attachments — Metric series
Chaînes convoyeurs, plaques d'attache et roues pour chaînes — Partie 3: Plaques d'attache — Série métrique
General Information
- Status
- Withdrawn
- Publication Date
- 30-Jun-1974
- Withdrawal Date
- 30-Jun-1974
- Technical Committee
- ISO/TC 100 - Chains and chain sprockets for power transmission and conveyors
- Current Stage
- 9599 - Withdrawal of International Standard
- Start Date
- 09-Nov-2000
- Completion Date
- 12-Feb-2026
Relations
- Effective Date
- 15-Apr-2008
ISO 1977-3:1974 - Conveyor chains, attachments and chain wheels
ISO 1977-3:1974 - Chaînes convoyeurs, plaques d'attache et roues pour chaînes
ISO 1977-3:1974 - Chaînes convoyeurs, plaques d'attache et roues pour chaînes
Frequently Asked Questions
ISO 1977-3:1974 is a standard published by the International Organization for Standardization (ISO). Its full title is "Conveyor chains, attachments and chain wheels — Part 3: Attachments — Metric series". This standard covers: Conveyor chains, attachments and chain wheels — Part 3: Attachments — Metric series
Conveyor chains, attachments and chain wheels — Part 3: Attachments — Metric series
ISO 1977-3:1974 is classified under the following ICS (International Classification for Standards) categories: 53.040.20 - Components for conveyors. The ICS classification helps identify the subject area and facilitates finding related standards.
ISO 1977-3:1974 has the following relationships with other standards: It is inter standard links to ISO 1977:2000. Understanding these relationships helps ensure you are using the most current and applicable version of the standard.
ISO 1977-3:1974 is available in PDF format for immediate download after purchase. The document can be added to your cart and obtained through the secure checkout process. Digital delivery ensures instant access to the complete standard document.
Standards Content (Sample)
INTERNATIONAL STANDARD
1977/M
INTERNATIONAL ORGANIZATION FOR STANDARDIZATION .MEXAYHAPOAHA5I OPI-AHM3AWIII n0 CTAHAAPT2i3AWI4.ORGANlSATlON INTERNATIONALE DE NORMALISATION
Conveyor chains, attachments and chain wheels -
Part I I I : Attachments - Metric series
Chafnes convo yews, plaques d/attache et roues pour char^nes - Partie //I : Plaques d/attache -
Skrie me ’trique
First edition - 1974-07-01
Ref. No. IS0 1977/H l-1974 (E)
UDC 621.867.3
Descriptors : conveyors, fixing plates, chains, chain conveyors, dimensions.
Price based on 3 pages
FOREWORD
IS0 (the lnternationat- Organization for Standardization) is a worldwide federation
of national standards institutes (IS0 Member Bodies). The work of developing
international Standards is carried out through IS0 Technical Committees. Every
Member Body interested in a subject for which.a Technical Committee has been set
,
up has the right to be represented on that Committee. International organizations,
governmental and nongovernmental, in liaison with ISO, also take part in the work.
Draft International Standards adopted by the Technical Committees are circulated
to the Member Bodies for approval before their acceptance as International
Standards by the IS0 Council.
International Standard IS0 1997/ill (originally ISO/DIS 2565) was drawn up by
Technical Committee ISO/TC 100, Chains and chain wheels for power transmission
and conveyors, and circulated to the Member Bodies in August 1972.
It has been approved by the Member Bodies of the following countries :
Australia France South Africa, Rep. of
Austria Germany Spain
Belgium India Sweden
Thailand
Czechoslovakia Ireland
United Kingdom
Egypt, Arab Rep. of Japan
U.S.A.
Finland Romania
No Member Body expressed disapproval of the document.
0 International Organization for Standardization, 1974 l
Printed in Switzerland
IS0 1977/ill-1974 (E)
INTERNATIONAL STANDARD
Conveyor chains, attachments and chain wheels -
Part Ill : Attachments - Metric series
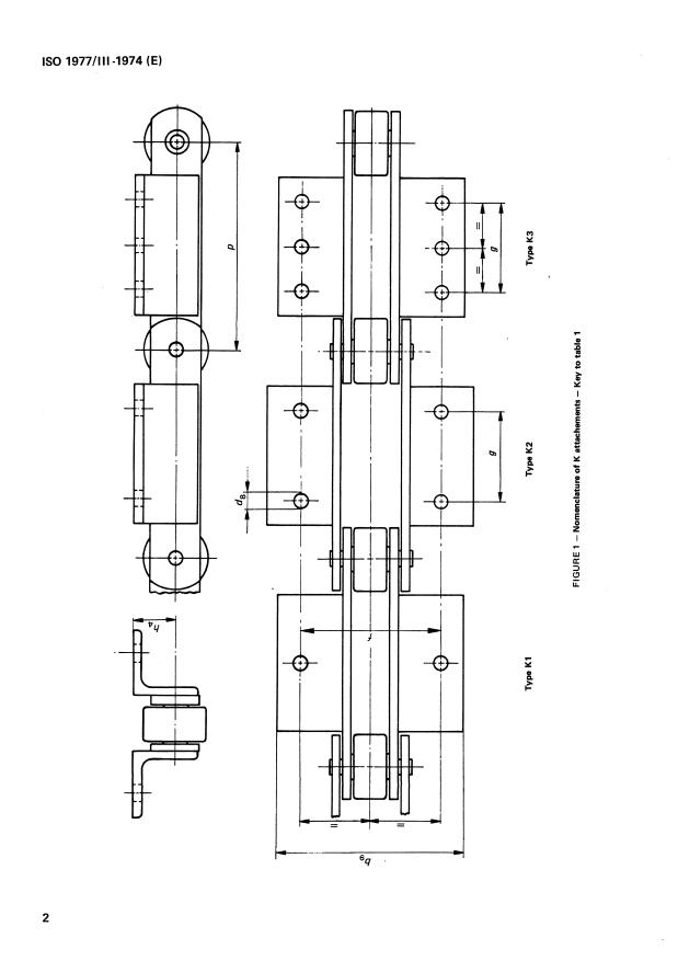
4 TYPES
0 INTRODUCTION
This document forms part of IS0 1977, dealing with Three types of K attachment plates are given, having
common dimensions as detailed in table 1, and designated
conveyor chains, attachments and chain wheels. Other parts
as follows :
are :
-
- Kl :
Part I : Chains - Metric series. ’ )
each plate;
- Part I I : Chain wheels.
-
K2 : with two attachment holes disposed in each
plate as shown in figure 1;
-
K3 : as K2 but with a third hole centrally positioned
1 SCOPE AND FIELD OF APPLICATION
between the other two.
This International Standard gives specifications for K
attachments and deep plate attachments for use with Attachments may be fitted on one or both sides of the
conveyor chains conforming wi
...
NALE
NORME INTERN
INTERNATIONAL ORGANIZATION FOR STANDARDIZATION l MEXAYHAPOAHAII OPI-AHM3ALUifl l-f0 CTAHAAPTW3ALWW *ORGANISATION INTERNATIONALE DE NORMALISATION
Chaînes convoyeurs, plaques d’attache et roues pour chaînes -
Partie III : Plaques d’attache - Série métrique
Conveyor chains, attachments and chain wheels - Part Ill : Attachments - Metric series
Première édition - 1974-07 -01
iî
Y
z
Réf. No : ISO 1977/111-1974 (F)
CDU 621.867.3
m
r
I
Y
Descripteurs : chaîne, transporteur à chaîne, dimension.
transporteur, platine de fixation,
I=
CT)
K
Prix basé sur 3 pages
AVANT-PROPOS
L’ISO (Organisation Internationale de Normalisation) est une fédération mondiale
d’organismes nationaux de normalisation (Comités Membres KO). L’élaboration de
Normes Internationales est confiée aux Comités Techniques ISO. Chaque Comité
Membre intéressé par une étude a le droit de faire partie du Comité Technique
correspondant.
Les organisations internationales, gouvernementales et non
gouvernementales, en liaison avec I’ISO, participent également aux travaux.
Les Projets de Normes Internationales adoptés par les Comités Techniques sont
soumis aux Comités Membres pour approbation, avant leur acceptation comme
Normes Internationales par le Conseil de I’ISO.
La Norme Internationale ISO 1977/lll (précédemment ISO/DIS 2565) a été établie
par le Comité Technique ISO/TC 100, ChaLnes et roues à char^nes pour transmission
d’énergie et convoyeurs, et soumise aux Comités Membres en août 1971.
Elle a été approuvée par les Comités Membres des pays suivants :
Afrique du Sud, Rép. d’ Roumanie
Espagne
Al lemagne Finlande Royaume-Uni
Australie France Suède
Autriche Inde Tchécoslovaquie
Belgique Irlande Thaïlande
Egypte, Rép. arabe d’ Japon U.S.A.
Aucun Comité Membre n’a désapprouvé le document.
0 Organisation Internationale de Normalisation, 1974 l
Imprimé en Suisse
NORME INTERNATIONALE ISO 1977/lIl-1974 (F)
Chaînes convoyeurs, plaques d’attache et roues pour chaînes -
Partie Ill : Plaques d’attache - Série métrique
0 INTRODUCTION 4 TYPES
Le présent document forme l’une des parties de I’ISO 1977, Trois types de plaques d’attache K sont indiqués, qui ont en
commun les dimensions du tableau 1, et qui sont désignés
traitant des chaînes convoyeurs, plaques d’attache et roues
comme suit :
pour chaînes. Les autres parties sont :
-
Kl : avec un trou de fixation placé au centre de
- Partie I : Chaînes - Série métrique.‘)
chaque plaque;
- Partie II : Roues à char^nes.
- K2 : avec deux trous de fixation placés au centre de
chaque plaque, comme indiqué à la figure 1;
- K3 : similaire à K2, mais avec un troisième trou placé
1 OBJET ET DOMAINE D’APPLICATION
à mi-distance des deux autres trous.
présente Norme Internationale spécifie les
La
Les plaques d’attache peuvent être fixées sur l’un ou sur
caractéristiques des plaques d’attache K et des plaques
les deux côtés de la chaîne.
d’attache déportées utilisées avec les chaînes convoyeurs
conformes aux spécifications de la partie 1.
5 FABRICATION (PLAQUES D’ATTACHE K UNIQUE-
MENT)
2 NOMENCLATURE
5.1 Pour plus de commodité, les plaques d’attache sont
illustrées à la figure 1 comme étant fabriqu
...
NALE
NORME INTERN
INTERNATIONAL ORGANIZATION FOR STANDARDIZATION l MEXAYHAPOAHAII OPI-AHM3ALUifl l-f0 CTAHAAPTW3ALWW *ORGANISATION INTERNATIONALE DE NORMALISATION
Chaînes convoyeurs, plaques d’attache et roues pour chaînes -
Partie III : Plaques d’attache - Série métrique
Conveyor chains, attachments and chain wheels - Part Ill : Attachments - Metric series
Première édition - 1974-07 -01
iî
Y
z
Réf. No : ISO 1977/111-1974 (F)
CDU 621.867.3
m
r
I
Y
Descripteurs : chaîne, transporteur à chaîne, dimension.
transporteur, platine de fixation,
I=
CT)
K
Prix basé sur 3 pages
AVANT-PROPOS
L’ISO (Organisation Internationale de Normalisation) est une fédération mondiale
d’organismes nationaux de normalisation (Comités Membres KO). L’élaboration de
Normes Internationales est confiée aux Comités Techniques ISO. Chaque Comité
Membre intéressé par une étude a le droit de faire partie du Comité Technique
correspondant.
Les organisations internationales, gouvernementales et non
gouvernementales, en liaison avec I’ISO, participent également aux travaux.
Les Projets de Normes Internationales adoptés par les Comités Techniques sont
soumis aux Comités Membres pour approbation, avant leur acceptation comme
Normes Internationales par le Conseil de I’ISO.
La Norme Internationale ISO 1977/lll (précédemment ISO/DIS 2565) a été établie
par le Comité Technique ISO/TC 100, ChaLnes et roues à char^nes pour transmission
d’énergie et convoyeurs, et soumise aux Comités Membres en août 1971.
Elle a été approuvée par les Comités Membres des pays suivants :
Afrique du Sud, Rép. d’ Roumanie
Espagne
Al lemagne Finlande Royaume-Uni
Australie France Suède
Autriche Inde Tchécoslovaquie
Belgique Irlande Thaïlande
Egypte, Rép. arabe d’ Japon U.S.A.
Aucun Comité Membre n’a désapprouvé le document.
0 Organisation Internationale de Normalisation, 1974 l
Imprimé en Suisse
NORME INTERNATIONALE ISO 1977/lIl-1974 (F)
Chaînes convoyeurs, plaques d’attache et roues pour chaînes -
Partie Ill : Plaques d’attache - Série métrique
0 INTRODUCTION 4 TYPES
Le présent document forme l’une des parties de I’ISO 1977, Trois types de plaques d’attache K sont indiqués, qui ont en
commun les dimensions du tableau 1, et qui sont désignés
traitant des chaînes convoyeurs, plaques d’attache et roues
comme suit :
pour chaînes. Les autres parties sont :
-
Kl : avec un trou de fixation placé au centre de
- Partie I : Chaînes - Série métrique.‘)
chaque plaque;
- Partie II : Roues à char^nes.
- K2 : avec deux trous de fixation placés au centre de
chaque plaque, comme indiqué à la figure 1;
- K3 : similaire à K2, mais avec un troisième trou placé
1 OBJET ET DOMAINE D’APPLICATION
à mi-distance des deux autres trous.
présente Norme Internationale spécifie les
La
Les plaques d’attache peuvent être fixées sur l’un ou sur
caractéristiques des plaques d’attache K et des plaques
les deux côtés de la chaîne.
d’attache déportées utilisées avec les chaînes convoyeurs
conformes aux spécifications de la partie 1.
5 FABRICATION (PLAQUES D’ATTACHE K UNIQUE-
MENT)
2 NOMENCLATURE
5.1 Pour plus de commodité, les plaques d’attache sont
illustrées à la figure 1 comme étant fabriqu
...












Questions, Comments and Discussion
Ask us and Technical Secretary will try to provide an answer. You can facilitate discussion about the standard in here.
Loading comments...