ISO 3185:1993
(Main)Aerospace — Bolts, normal bihexagonal head, normal shank, short or medium length MJ threads, metallic material, coated or uncoated, strength classes less than or equal to 1 100 MPa — Dimensions
Aerospace — Bolts, normal bihexagonal head, normal shank, short or medium length MJ threads, metallic material, coated or uncoated, strength classes less than or equal to 1 100 MPa — Dimensions
Specifies the configuration, dimensions, and tolerances. Is intended for the drawing up of aerospace product standards.
Aéronautique et espace — Vis à tête bihexagonale normale, avec tige normale et filetage MJ court ou de longueur moyenne, en matériau métallique, revêtues ou non revêtues, des classes de résistance inférieures ou égales à 1 100 MPa — Dimensions
General Information
- Status
- Withdrawn
- Publication Date
- 22-Dec-1993
- Withdrawal Date
- 22-Dec-1993
- Technical Committee
- ISO/TC 20/SC 4 - Aerospace fastener systems
- Drafting Committee
- ISO/TC 20/SC 4/WG 2 - Non Threaded Fasteners
- Current Stage
- 9599 - Withdrawal of International Standard
- Start Date
- 18-Aug-2008
- Completion Date
- 12-Feb-2026
Relations
- Consolidated By
ISO 14583:2001 - Hexalobular socket pan head screws - Effective Date
- 06-Jun-2022
- Effective Date
- 15-Apr-2008
ISO 3185:1993 - Aerospace -- Bolts, normal bihexagonal head, normal shank, short or medium length MJ threads, metallic material, coated or uncoated, strength classes less than or equal to 1 100 MPa -- Dimensions
ISO 3185:1993 - Aéronautique et espace -- Vis a tete bihexagonale normale, avec tige normale et filetage MJ court ou de longueur moyenne, en matériau métallique, revetues ou non revetues, des classes de résistance inférieures ou égales a 1 100 MPa -- Dimensions
ISO 3185:1993 - Aéronautique et espace -- Vis a tete bihexagonale normale, avec tige normale et filetage MJ court ou de longueur moyenne, en matériau métallique, revetues ou non revetues, des classes de résistance inférieures ou égales a 1 100 MPa -- Dimensions
Get Certified
Connect with accredited certification bodies for this standard

DEKRA North America
DEKRA certification services in North America.
Eagle Registrations Inc.
American certification body for aerospace and defense.

Element Materials Technology
Materials testing and product certification.
Sponsored listings
Frequently Asked Questions
ISO 3185:1993 is a standard published by the International Organization for Standardization (ISO). Its full title is "Aerospace — Bolts, normal bihexagonal head, normal shank, short or medium length MJ threads, metallic material, coated or uncoated, strength classes less than or equal to 1 100 MPa — Dimensions". This standard covers: Specifies the configuration, dimensions, and tolerances. Is intended for the drawing up of aerospace product standards.
Specifies the configuration, dimensions, and tolerances. Is intended for the drawing up of aerospace product standards.
ISO 3185:1993 is classified under the following ICS (International Classification for Standards) categories: 49.030.20 - Bolts, screws, studs. The ICS classification helps identify the subject area and facilitates finding related standards.
ISO 3185:1993 has the following relationships with other standards: It is inter standard links to ISO 14583:2001, ISO 3185:2008. Understanding these relationships helps ensure you are using the most current and applicable version of the standard.
ISO 3185:1993 is available in PDF format for immediate download after purchase. The document can be added to your cart and obtained through the secure checkout process. Digital delivery ensures instant access to the complete standard document.
Standards Content (Sample)
INTERNATIONAL ISO
STANDARD
First edition
1993-12-15
Bolts, normal bihexagonal
Aerospace -
head, normal shank, short or medium
length MJ threads, metallic material,
coated or uncoated, strength classes less
than or equal to 1 100 MPa - Dimensions
Vis 6 t&e bihexagonale normale, avec tige
Aeronautique et espace -
normale et filetage MJ tourt ou de longueur moyenne, en mat&iau
metallique, rev& tues ou non reve tues, des classes de kistance
inferieures ou egales iI 1 100 MPa - Dimensions
Reference number
Foreword
ISO (the International Organization for Standardization) is a worldwide
federation of national Standards bodies (ISO member bodies). The work
of preparing International Standards is normally carried out through ISO
technical committees. Esch member body interested in a subject for
which a technical committee has been established has the right to be
represented on that committee. International organizations, governmental
and non-governmental, in liaison with ISO, also take part in the work. ISO
collaborates closely with the International Electrotechnical Commission
(1 EC) on all matters of electrotechnical standardization.
Draft International Standards adopted by the technical committees are
circulated to the member bodies for voting. Publication as an International
Standard requires approval by at least 75 % of the member bodies casting
a vote.
International Standard ISO 3185 was prepared by Technical Committee
ISODC 20, Aircraft and space vehicles, Sub-Committee SC 4, Aerospace
fastener s ys tems.
0 ISO 1993
All rights reserved. No part of this publication may be reproduced or utilized in any form or
by any means, electronie or mechanical, including photocopying and microfilm, without per-
mission in writing from the publisher.
International Organization for Standardization
Case Postale 56 l CH-l 211 Geneve 20 l Switzerland
Printed in Switzerland
INTERNATIONAL STANDARD ISO 3185:1993(E)
Aerospace - Belts, normal hexagonal head, normal
shank, short or medium len h MJ threads, metallic
material, coated or uncoated, strength dasses less
than or equal to 1 100 MPa - Dimensions
Members of IEC and ISO maintain registers of cur-
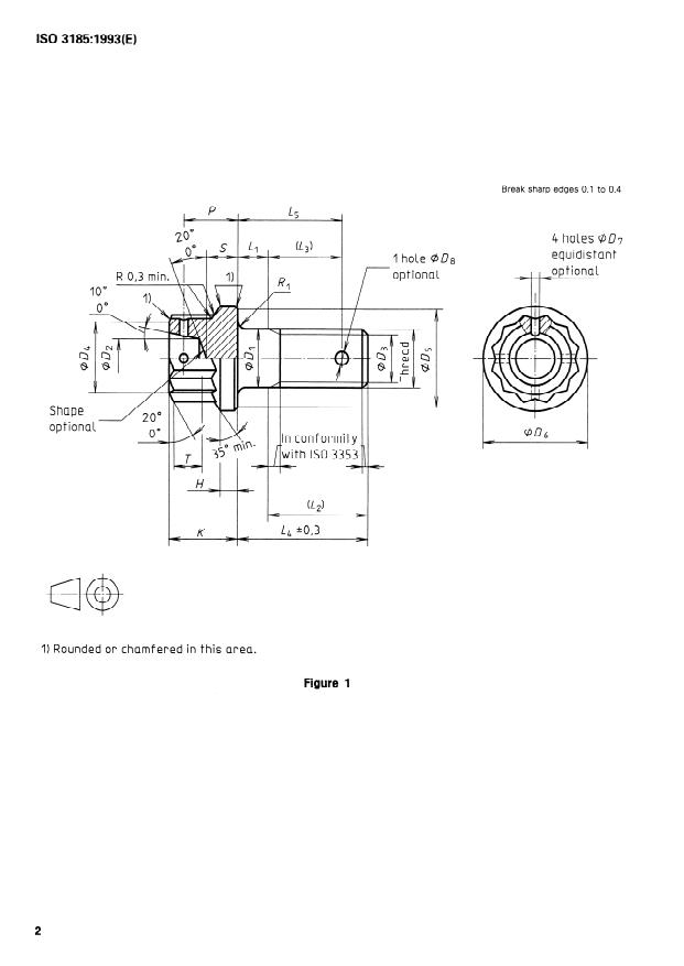
1 Scope
rently valid International Standards.
This International Standard specifies the dimensions
ISO 286-2: 1988, ISO System of limits and fits -
of normal bihexa
...
NORME
ISO
INTERNATIONALE
Premiére édition
1993-I 2-15
Aéronautique et espace - Vis à tête
bihexagonale normale, avec tige normale
et filetage MJ court ou de longueur
moyenne, en matériau métallique, revêtues
ou non revêtues, des classes de résistance
inférieures ou égales à 1 100 MPa -
Dimensions
Aerospace - Bo/ts, normal bihexagonal head, normal shank, short or
medium length MJ threads, metallic material, coated or uncoated,
strength classes less than or equal to 1 100 MPa - Dimensions
Numéro de référence
Avant-propos
L’ISO (Organisation internationale de normalisation) est une féderation
mondiale d’organismes nationaux de normalisation (comités membres de
I’ISO). L’élaboration des Normes internationales est en général confiée aux
comités techniques de I’ISO. Chaque comité membre intéressé par une
étude a le droit de faire partie du comité technique crée a cet effet. Les
organisations internationales, gouvernementales et non gouvernemen-
tales, en liaison avec I’ISO participent également aux travaux. L’ISO colla-
bore étroitement avec la Commission électrotechnique internationale (CEI)
en ce qui concerne la normalisation électrotechnique.
Les projets de Normes internationales adoptes par les comites techniques
sont soumis aux comités membres pour vote. Leur publication comme
Normes internationales requiert l’approbation de 75 % au moins des co-
mites membres votants.
La Norme internationale ISO 3185 a ete élaboree par le comite technique
lSO/rC 20, Aéronautique et espace, sous-comité SC 4, bments de
fixation pour constructions aérospatiales.
0 60 1993
Droits de reproduction reserves. Aucune partie de cette publication ne peut être reproduite
ni utilisée sous quelque forme que ce soit et par aucun procédé, électronique ou mécanique,
compris la photocopie et les microfilms, sans l’accord Acrit de I’editeur.
Y
Organisation internation ale de normalisation
Case Postale 56 l CH-1 211 Geneve 20 l Suisse
Imprimé en Suisse
ii
NORME INTERNATIONALE
Aéronautique et espace - Vis à tête bihexagonale
normale, avec tige normale et filetage MJ court ou de
longueur moyenne, en matériau métallique, revêtues
ou non revêtues, des classes de résistance inférieures
ouégalesàl IOOMPa- Dimensions
possèdent le registre des Normes internationales en
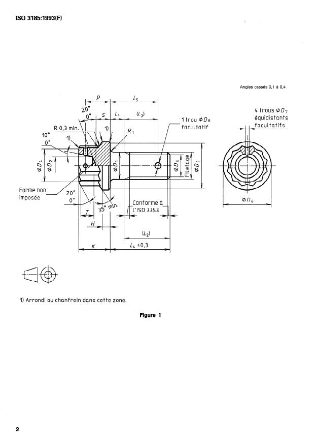
1 Domaine d’application
vigueur à un moment donne.
La présente Norme internationale prescrit les dimen-
ISO 286.2:1988, Système /SO de tolérances et
sions des vis a tête bihexagonale normale, avec tige
Partie 2: Tables des degrés de to-
d’ajustements -
normale, a tolérance serrée ou large, et filetage MJ
@rance normalisés et des karts limites des alhsages
court ou de longueur moyenne, en materiau métalli-
et des arbres.
que, revêtues ou non revêtues, des classes de resis-
tance inférieures ou égales à 1 100 MPa.
ISO 3353:1992, Aéronautique et espace - Filetages
La présente Norme internationale est applicable à roul& des vis - Filets incomplets c6 t6 tige (ou tête)
l’élaboration de normes de produit destinees aux et côte extr6mit6.
constructions aérospatiales.
ISO 4095: 1978, Ékmen ts de fixation pour construc-
tio
...
NORME
ISO
INTERNATIONALE
Premiére édition
1993-I 2-15
Aéronautique et espace - Vis à tête
bihexagonale normale, avec tige normale
et filetage MJ court ou de longueur
moyenne, en matériau métallique, revêtues
ou non revêtues, des classes de résistance
inférieures ou égales à 1 100 MPa -
Dimensions
Aerospace - Bo/ts, normal bihexagonal head, normal shank, short or
medium length MJ threads, metallic material, coated or uncoated,
strength classes less than or equal to 1 100 MPa - Dimensions
Numéro de référence
Avant-propos
L’ISO (Organisation internationale de normalisation) est une féderation
mondiale d’organismes nationaux de normalisation (comités membres de
I’ISO). L’élaboration des Normes internationales est en général confiée aux
comités techniques de I’ISO. Chaque comité membre intéressé par une
étude a le droit de faire partie du comité technique crée a cet effet. Les
organisations internationales, gouvernementales et non gouvernemen-
tales, en liaison avec I’ISO participent également aux travaux. L’ISO colla-
bore étroitement avec la Commission électrotechnique internationale (CEI)
en ce qui concerne la normalisation électrotechnique.
Les projets de Normes internationales adoptes par les comites techniques
sont soumis aux comités membres pour vote. Leur publication comme
Normes internationales requiert l’approbation de 75 % au moins des co-
mites membres votants.
La Norme internationale ISO 3185 a ete élaboree par le comite technique
lSO/rC 20, Aéronautique et espace, sous-comité SC 4, bments de
fixation pour constructions aérospatiales.
0 60 1993
Droits de reproduction reserves. Aucune partie de cette publication ne peut être reproduite
ni utilisée sous quelque forme que ce soit et par aucun procédé, électronique ou mécanique,
compris la photocopie et les microfilms, sans l’accord Acrit de I’editeur.
Y
Organisation internation ale de normalisation
Case Postale 56 l CH-1 211 Geneve 20 l Suisse
Imprimé en Suisse
ii
NORME INTERNATIONALE
Aéronautique et espace - Vis à tête bihexagonale
normale, avec tige normale et filetage MJ court ou de
longueur moyenne, en matériau métallique, revêtues
ou non revêtues, des classes de résistance inférieures
ouégalesàl IOOMPa- Dimensions
possèdent le registre des Normes internationales en
1 Domaine d’application
vigueur à un moment donne.
La présente Norme internationale prescrit les dimen-
ISO 286.2:1988, Système /SO de tolérances et
sions des vis a tête bihexagonale normale, avec tige
Partie 2: Tables des degrés de to-
d’ajustements -
normale, a tolérance serrée ou large, et filetage MJ
@rance normalisés et des karts limites des alhsages
court ou de longueur moyenne, en materiau métalli-
et des arbres.
que, revêtues ou non revêtues, des classes de resis-
tance inférieures ou égales à 1 100 MPa.
ISO 3353:1992, Aéronautique et espace - Filetages
La présente Norme internationale est applicable à roul& des vis - Filets incomplets c6 t6 tige (ou tête)
l’élaboration de normes de produit destinees aux et côte extr6mit6.
constructions aérospatiales.
ISO 4095: 1978, Ékmen ts de fixation pour construc-
tio
...












Questions, Comments and Discussion
Ask us and Technical Secretary will try to provide an answer. You can facilitate discussion about the standard in here.
Loading comments...