ISO 9255:1993
(Main)Aerospace — Bolts, normal spline head, normal shank, short or medium length MJ threads, metallic material, coated or uncoated, strength classes less than or equal to 1 100 MPa — Dimensions
Aerospace — Bolts, normal spline head, normal shank, short or medium length MJ threads, metallic material, coated or uncoated, strength classes less than or equal to 1 100 MPa — Dimensions
Specifies configuration, dimensions and tolerances. Is intended for the drawing up of aerospace product standards.
Aéronautique et espace — Vis à tête cannelée normale, avec tige normale et filetage MJ court ou de longueur moyenne, en matériau métallique, revêtues ou non revêtues, des classes de résistance inférieures ou égales à 1 100 MPa — Dimensions
General Information
- Status
- Withdrawn
- Publication Date
- 22-Dec-1993
- Withdrawal Date
- 22-Dec-1993
- Technical Committee
- ISO/TC 20/SC 4 - Aerospace fastener systems
- Drafting Committee
- ISO/TC 20/SC 4/WG 2 - Non Threaded Fasteners
- Current Stage
- 9599 - Withdrawal of International Standard
- Start Date
- 18-Aug-2008
- Completion Date
- 12-Feb-2026
Relations
- Effective Date
- 15-Apr-2008
ISO 9255:1993 - Aerospace -- Bolts, normal spline head, normal shank, short or medium length MJ threads, metallic material, coated or uncoated, strength classes less than or equal to 1 100 MPa -- Dimensions
ISO 9255:1993 - Aéronautique et espace -- Vis a tete cannelée normale, avec tige normale et filetage MJ court ou de longueur moyenne, en matériau métallique, revetues ou non revetues, des classes de résistance inférieures ou égales a 1 100 MPa -- Dimensions
ISO 9255:1993 - Aéronautique et espace -- Vis a tete cannelée normale, avec tige normale et filetage MJ court ou de longueur moyenne, en matériau métallique, revetues ou non revetues, des classes de résistance inférieures ou égales a 1 100 MPa -- Dimensions
Get Certified
Connect with accredited certification bodies for this standard

DEKRA North America
DEKRA certification services in North America.
Eagle Registrations Inc.
American certification body for aerospace and defense.

Element Materials Technology
Materials testing and product certification.
Sponsored listings
Frequently Asked Questions
ISO 9255:1993 is a standard published by the International Organization for Standardization (ISO). Its full title is "Aerospace — Bolts, normal spline head, normal shank, short or medium length MJ threads, metallic material, coated or uncoated, strength classes less than or equal to 1 100 MPa — Dimensions". This standard covers: Specifies configuration, dimensions and tolerances. Is intended for the drawing up of aerospace product standards.
Specifies configuration, dimensions and tolerances. Is intended for the drawing up of aerospace product standards.
ISO 9255:1993 is classified under the following ICS (International Classification for Standards) categories: 49.030.20 - Bolts, screws, studs. The ICS classification helps identify the subject area and facilitates finding related standards.
ISO 9255:1993 has the following relationships with other standards: It is inter standard links to ISO 9255:2008. Understanding these relationships helps ensure you are using the most current and applicable version of the standard.
ISO 9255:1993 is available in PDF format for immediate download after purchase. The document can be added to your cart and obtained through the secure checkout process. Digital delivery ensures instant access to the complete standard document.
Standards Content (Sample)
INTERNATIONAL
IS0
STANDARD 9255
First edition
1993-l 2-l 5
Aerospace - Bolts, normal spline head,
normal shank, short or medium length MJ
threads, metallic material, coated or
uncoated, strength classes less than or
equal to 1 100 MPa - Dimensions
Akonautique et espace - Vis 9 t&e cannelge normale, avec tige normale
et filetage MJ court ou de longueur moyenne, en matbriau m&allique,
rev&ues ou non rev&ues, des classes de histance infbieures ou &gales
21 100 MPa - Dimensions
Reference number
IS0 9255:1993(E)
IS0 9255:1993(E)
Foreword
IS0 (the International Organization for Standardization) is a worldwide
federation of national standards bodies (IS0 member bodies). The work
of preparing International Standards is normally carried out through IS0
technical committees. Each member body interested in a subject for
which a technical committee has been established has the right to be
represented on that committee. International organizations, governmental
and non-governmental, in liaison with ISO, also take part in the work. IS0
collaborates closely with the International Electrotechnical Commission
(iEC) on all matters of electrotechnical standardization.
Draft International Standards adopted by the technical committees are
circulated to the member bodies for voting. Publication as an International
Standard requires approval by at least 75 % of the member bodies casting
a vote.
International Standard IS0 9255 was prepared by Technical Committee
lSO/TC 20, Aircraft and space vehicles, Sub-Committee SC 4, Aerospace
fastener sys terns.
0 IS0 1993
All rights reserved. No part of this publication may be reproduced or utilized in any form or
by any means, electronic or mechanical, including photocopying and microfilm, without per-
mission in writing from the publisher.
International Organization for Standardization
Case Postale 56 l CH-1211 Geneve 2Q l Switzerland
Printed in Switzerland
ii
IS0 9255:1993(E)
INTERNATIONAL STANDARD
Bolts, normal spline head, normal shank,
Aerospace -
short or medium length MJ threads, metallic material,
coated or uncoated, strength classes less, than or equal
Qimensions
to 1 100 MPa-
Members of IEC and IS0 maintain registers of cur-
1 Scope
rently valid International Standards.
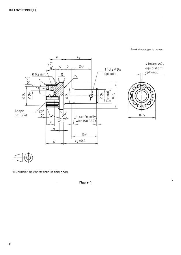
This International Standard specifies the dimensions
IS0 286-2:1988, IS0 system of limits and fits -
of normal spline head bolts, with close or large toler-
Part 2: Tables of standard tolerance grades and limit
ance normal shank, and short or medium length MJ
deviations for holes and shafts.
threads, in metallic material, coated or uncoated, with
strength classes less than or equal to 1 100 MPa.
IS0 3353:1992, Aerospace - Rolled threads for bolts
- Lead and runout requirements.
It is intended for the drawing up of aerospace product
standards.
IS0 5855-2:1988, Aerospace - MJ threads -
Part
...
NORME ISO
INTERNATIONALE 9255
Première édition
1993-l 2-15
Aéronautique et espace - Vis à tête
cannelée normale, avec tige normale et
filetage MJ court ou de longueur moyenne,
en matériau métallique, revêtues ou non
revêtues, des classes de résistance
inférieures ou égales à 1 100 MPa -
Dimensions
Aerospace - Bob, normal spline head, normal shank, short or medium
length MJ threads, metallic ma terial, coa ted or uncoa ted, strength classes
less than or equal to 1 100 MPa - Dimensions
Numéro de référence
Avant-propos
L’ISO (Organisation internationale de normalisation) est une fédération
mondiale d’organismes nationaux de normalisation (comités membres de
I’ISO). L’élaboration des Normes internationales est en général confiée aux
comités techniques de I’ISO. Chaque comité membre intéresse par une
étude a le droit de faire partie du comité technique cree à cet effet. Les
organisations internationales, gouvernementales et non gouvernemen-
tales, en liaison avec I’ISO participent également aux travaux. L’ISO colla-
bore etroitement avec la Commission électrotechnique internationale (CEI)
en ce qui concerne la normalisation électrotechnique.
Les projets de Normes internationales adoptes par les comités techniques
sont soumis aux comites membres pour vote. Leur publication comme
Normes internationales requiert l’approbation de 75 % au moins des co-
mites membres votants.
La Norme internationale ISO 9255 a eté elaboree par le comite technique
lSO/TC 20, Aéronautique et espace, sous-comite SC 4, ÉMments de
fixation pour constructions aérospatiales.
0 ISO 1993
Droits de reproduction reservés. Aucune partie de cette publication ne peut être reproduite
ni utilisee sous quelque forme que ce soit et par aucun procédé, électronique ou mécanique,
y compris la photocopie et les microfilms, sans l’accord écrit de l’éditeur.
Organisation internationale de normalisation
Case Postale 56 l CH-1 211 Geneve 20 l Suisse
Imprimé en Suisse
ii
NORME INTERNATIONALE ISO 9255:1993(F)
\
Aéronautique et espace - Vis à tête cannelée normale,
avec tige normale et filetage MJ court ou de longueur
moyenne, en matériau métallique, revêtues ou non
revêtues, des classes de résistance inférieures ou
égales à 1 100 MPa - Dimensions
possèdent le registre des Normes internationales en
1 Domaine d’application
vigueur à un moment donne.
La présente Norme internationale prescrit les dimen-
ISO 286.2:1988, Système ISO de tolhances et
sions des vis à tête cannelle normale, avec tige nor-
d’ajustements - Partie 2: Tables des degrés de to-
male, à tolerance serrée ou large, et filetage MJ court
l&ance normalisés et des karts limites des akages
ou de longueur moyenne, en matériau métallique, re-
et des arbres.
vêtues ou non revêtues, des classes de résistance
inférieures ou égales a 1 100 MPa.
ISO 3353:1992, Aéronautique et espace - Filetages
roui& des vis - Filets incomplets côté tige (ou tête)
La présente Norme internationale est applicable à
et côté exthmité.
l’elaboration de normes de produit destinées aux
constructions aérospatiales.
ISO 5855-27 988, Aéronautiqu
...
NORME ISO
INTERNATIONALE 9255
Première édition
1993-l 2-15
Aéronautique et espace - Vis à tête
cannelée normale, avec tige normale et
filetage MJ court ou de longueur moyenne,
en matériau métallique, revêtues ou non
revêtues, des classes de résistance
inférieures ou égales à 1 100 MPa -
Dimensions
Aerospace - Bob, normal spline head, normal shank, short or medium
length MJ threads, metallic ma terial, coa ted or uncoa ted, strength classes
less than or equal to 1 100 MPa - Dimensions
Numéro de référence
Avant-propos
L’ISO (Organisation internationale de normalisation) est une fédération
mondiale d’organismes nationaux de normalisation (comités membres de
I’ISO). L’élaboration des Normes internationales est en général confiée aux
comités techniques de I’ISO. Chaque comité membre intéresse par une
étude a le droit de faire partie du comité technique cree à cet effet. Les
organisations internationales, gouvernementales et non gouvernemen-
tales, en liaison avec I’ISO participent également aux travaux. L’ISO colla-
bore etroitement avec la Commission électrotechnique internationale (CEI)
en ce qui concerne la normalisation électrotechnique.
Les projets de Normes internationales adoptes par les comités techniques
sont soumis aux comites membres pour vote. Leur publication comme
Normes internationales requiert l’approbation de 75 % au moins des co-
mites membres votants.
La Norme internationale ISO 9255 a eté elaboree par le comite technique
lSO/TC 20, Aéronautique et espace, sous-comite SC 4, ÉMments de
fixation pour constructions aérospatiales.
0 ISO 1993
Droits de reproduction reservés. Aucune partie de cette publication ne peut être reproduite
ni utilisee sous quelque forme que ce soit et par aucun procédé, électronique ou mécanique,
y compris la photocopie et les microfilms, sans l’accord écrit de l’éditeur.
Organisation internationale de normalisation
Case Postale 56 l CH-1 211 Geneve 20 l Suisse
Imprimé en Suisse
ii
NORME INTERNATIONALE ISO 9255:1993(F)
\
Aéronautique et espace - Vis à tête cannelée normale,
avec tige normale et filetage MJ court ou de longueur
moyenne, en matériau métallique, revêtues ou non
revêtues, des classes de résistance inférieures ou
égales à 1 100 MPa - Dimensions
possèdent le registre des Normes internationales en
1 Domaine d’application
vigueur à un moment donne.
La présente Norme internationale prescrit les dimen-
ISO 286.2:1988, Système ISO de tolhances et
sions des vis à tête cannelle normale, avec tige nor-
d’ajustements - Partie 2: Tables des degrés de to-
male, à tolerance serrée ou large, et filetage MJ court
l&ance normalisés et des karts limites des akages
ou de longueur moyenne, en matériau métallique, re-
et des arbres.
vêtues ou non revêtues, des classes de résistance
inférieures ou égales a 1 100 MPa.
ISO 3353:1992, Aéronautique et espace - Filetages
roui& des vis - Filets incomplets côté tige (ou tête)
La présente Norme internationale est applicable à
et côté exthmité.
l’elaboration de normes de produit destinées aux
constructions aérospatiales.
ISO 5855-27 988, Aéronautiqu
...












Questions, Comments and Discussion
Ask us and Technical Secretary will try to provide an answer. You can facilitate discussion about the standard in here.
Loading comments...