ISO 4757:1983
(Main)Cross recesses for screws
Cross recesses for screws
Defines the type H and type Z; dimensions are illustrated by figures; tabulates gauge dimensions from No. 0 up to and including No. 4; includes a method of penetration gauging for both types.
Empreintes cruciformes pour vis
La présente Norme internationale définit deux types d'empreintes cruciformes pour vis : l'empreinte type H ; l'empreinte type Z. Elle comporte une méthode de vérification de la profondeur de pénétration dans les deux cas.
General Information
- Status
- Published
- Publication Date
- 31-Jul-1983
- Technical Committee
- ISO/TC 2/SC 13 - Fasteners with non-metric thread
- Drafting Committee
- ISO/TC 2/SC 13 - Fasteners with non-metric thread
- Current Stage
- 9093 - International Standard confirmed
- Start Date
- 05-Jul-2023
- Completion Date
- 13-Dec-2025
Overview
ISO 4757:1983 - Cross recesses for screws specifies the geometry and gauging methods for cruciform (cross) recesses used in screw heads. First published in 1983 by ISO/TC 2 (Fasteners), the standard defines two recess forms - recess type H and recess type Z - provides illustrative figures, tabulates gauge dimensions for No. 0 up to No. 4, and describes a method for penetration gauging to assess recess usability.
Key topics and technical requirements
- Recess types: Clear definitions and drawings for type H and type Z cross recesses, with theoretical dimensions shown in millimetres.
- Gauge dimensions: Tabulated gauge requirements for gauges No. 0–4. Dimensions are given as theoretical values and include minimum/maximum limits where applicable.
- Penetration gauging method:
- The gauge point corresponds to the screwdriver point; a sleeve guides the gauge and establishes a reference plane.
- For type H, the standard specifies a minimum penetration depth (test dimension) indicated in product standards.
- For type Z, both minimum and maximum penetration depths are referenced in product standards.
- The penetration depth is measured from the reference plane using a dial gauge; zero and control positions are established on a flat surface.
- Reference plane definition: The plane passes through the intersection point of recess wings and the top surface of a flat-head screw. For crowned heads, the reference plane is fixed using the gauge sleeve’s bearing surfaces.
- Inspection tolerance note: The standard notes possible measurement inaccuracy due to permissible errors in core thickness of the gauge point (document cites possible inaccuracy up to ~0.13 mm).
Practical applications
- Ensures consistent manufacture of cruciform recessed screws and matching screwdrivers.
- Provides requirements for quality control and acceptance testing in fastener production and assembly lines.
- Guides tooling designers and gauge makers on dimensional and functional criteria.
- Useful for procurement and compliance verification in industries using fasteners (automotive, electronics, machinery, construction).
Who should use this standard
- Fastener manufacturers and suppliers
- Quality and inspection labs
- Tooling and gauge designers
- Mechanical engineers specifying screw fasteners
- Purchasing and compliance teams ensuring interchangeability
Related standards
- ISO 4757 complements other ISO fastener and screw head standards (product-specific standards reference penetration depths and other acceptance criteria). For complete compliance, consult applicable product standards and ISO fastener series.
Frequently Asked Questions
ISO 4757:1983 is a standard published by the International Organization for Standardization (ISO). Its full title is "Cross recesses for screws". This standard covers: Defines the type H and type Z; dimensions are illustrated by figures; tabulates gauge dimensions from No. 0 up to and including No. 4; includes a method of penetration gauging for both types.
Defines the type H and type Z; dimensions are illustrated by figures; tabulates gauge dimensions from No. 0 up to and including No. 4; includes a method of penetration gauging for both types.
ISO 4757:1983 is classified under the following ICS (International Classification for Standards) categories: 21.060.10 - Bolts, screws, studs. The ICS classification helps identify the subject area and facilitates finding related standards.
ISO 4757:1983 is available in PDF format for immediate download after purchase. The document can be added to your cart and obtained through the secure checkout process. Digital delivery ensures instant access to the complete standard document.
Standards Content (Sample)
International Standard 4757
Cross recesses for screws
Empreintes cnrciformes pour vis
First edition - 1983-Wl
UDC 621.882.215.6 Ref. No. IS0 4757-1983 (E)
Descriptors : fasteners, screws, cruciform recessed screws, dimensions.
f
-J
i
>
? Price based on 9 pages
Foreword
IS0 (the International Organization for Standardization) is a worldwide federation of
national standards bodies (IS0 member bodies). The work of developing International
Standards is carried out through IS0 technical committees. Every member body
interested in a subject for which a technical committee has been authorized has the
right to be represented on that committee. International organizations, governmental
and non-governmental, in liaison with ISO, also take par? in the work.
Draft International Standards adopted by the technical committees are circulated to
the member bodies for approval before their acceptance as International Standards by
the IS0 Council.
International Standard IS0 4757 was developed by Technical Committee ISO/TC 2,
Fasreners, and was circulated to the member bodies in December 1981.
It has been approved by the member bodies of the following countries:
Australia Germany, F.R.
Norway
Austria Poland
Hungary
Belgium India Romania
Brazil Ireland , South Africa, Rep. of
Canada Italy Spain
China Japan Sri Lanka
Czechoslovakia Korea, Dem. P. Rep. of Sweden
Denmark Korea, Rep. of Switzerland
Egypt, Arab Rep. of Mexico USA
Finland
Netherlands USSR
France New Zealand
The member body of the following country expressed disapproval of the document on
technical grounds:
United Kingdom
@ International Organization for Standardization, 1983 O
Printed in Switzerland
I N TE R N AT1 O NA L STAN DAR D IS0 4757-1983 (E)
Cross recesses for screws
1 Scope and field of application
This International Standard defines two types of cross recesses for screws:
- recess type H;
- recess type 2.
Included in this International Standard is a method of penetration gauging for both types.
I
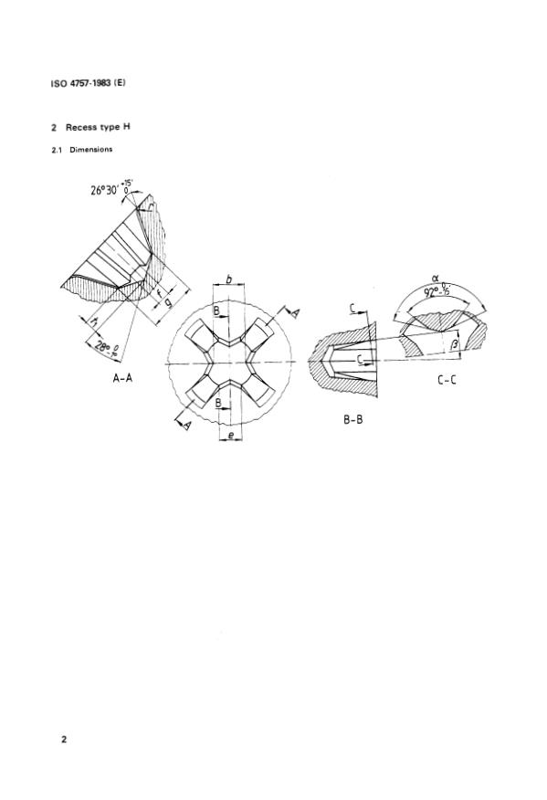
2 Recess type H
2.1 Dimensions
c1
c- c
B-B
IS0 4757-1983 (E)
Table 1 - Recess type H
Dimensions in millimetres
1) This will be replaced by r min. 0.25 mm; r max. 0.36 mm
Dimensions shown are theoretical values.
2.2 Recess penetration gauging and gauge dimensions for recess type H
The penetration depth of the depth gauge (minimum dimension) is indicated in the different product standards. It is the test dimen-
sion for the usability of the cross recess.
The point of the gauge is identical with the point of the respective screwdriver. A sleeve serves to guide the gauge and fix the
reference plane. This plane passes through the point of intersection of the recess wings and the top surface of the screw head. It cor-
responds thus to the surface of a screw with flat head. In the case of crowned screw heads, it lies below the crown in the transition
area from the recess wings to the surface of the head. For these screw heads, the reference plane is fixed with the help of the bearing
surfaces of the gauge sleeve.
The penetration depth of the gauge is measured from the reference plane by using a dial gauge. The
...
Norme internationale
INTERNATIONAL ORGANIZATION FOR STANDARDIZATIONWlEX.QYHAPOL1HAFl OPf-AHM3AUMR fl0 CTAHflAPTH3AUMl4.ORGANISATION INTERNATIONALE DE NORMALISATION
Empreintes cruciformes pour vis
Cross recesses for screws
Première édition - 1983-08-01
Réf. no : ISO 4757-1983 (FI
CDU 621 B82.215.6
f:
Y
élément de fixation, vis, vis à empreinte cruciforme, dimension.
Descripteurs :
Prix basé sur 9 pages
Avant-propos
L’ISO (Organisation internationale de normalisation) est une fédération mondiale
d’organismes nationaux de normalisation (comités membres de I’ISO). L’élaboration
des Normes internationales est confiée aux comités techniques de I’ISO. Chaque
comité membre intéressé par une étude a le droit de faire partie du comité technique
correspondant. Les organisations internationales, gouvernementales et non gouverne-
mentales, en liaison avec I’ISO, participent également aux travaux.
Les projets de Normes internationales adoptés par les comités techniques sont soumis
aux comités membres pour approbation, avant leur acceptation comme Normes inter-
nationales par le Conseil de I’ISO.
La Norme internationale ISO 4757 a été élaborée par le comité technique ISO/TC 2,
&ments de fixation, et a été soumise aux comités membres en décembre 1981.
Les comités membres des pays suivants l’ont approuvée:
Afrique du Sud, Rép. d’
Espagne Pays-Bas
Allemagne, R.F. Finlande Pologne
Autriche
France Roumanie
Belgique Hongrie Sri Lanka
Brésil
Inde Suède
Canada Irlande Suisse
Chine Italie Tchécoslovaquie
Corée, Rép. de Japon
URSS
Corée, Rép. dém. p. de Mexique USA
Danemark Norvège
Égypte, Rép. arabe d’ Nouvelle-Zélande
Le comité membre du pays suivant l’a désapprouvée pour des raisons techniques:
Royaume-Uni
@ Organisation internationale de normalisation, 1983 l
Imprimé en Suisse
NORME INTERNATIONALE ISO 47574983 (F)
Empreintes cruciformes pour vis
1 Objet et domaine d’application
La présente Norme internationale définit deux types d’empreintes cruciformes pour vis:
- l’empreinte type H;
- l’empreinte type Z.
Elle comporte une méthode de vérification de la profondeur de pénétration dans les deux cas.
ISO 4757-1983 (FI
2 Empreinte type H
2.1 Dimensions
B-B
ISO 4757-1983 (F)
Tableau 1 - Empreinte type H
Dimensions en millimètres
1 2 3
Empreinte no 0
l,47
0 0,61 0,97
b 2,41 3’4
- 0,03
0,79 - 0,84 1,98 - 2,03 2,39 - 294
e 0,26 - 0,36 0,41 - 0,46
5,08
1,27 2,29 3,81
g + oo,05 0,81
0,31 - 0,36 0,51 - 0,56 0,66 - 0,74 0,79 - 0,86 1,19 - l,27
f
03 1
0,3 0,5 03
r nom.
0,61 1,Ol 1,35
réf. 0,~ 0,34
*1
*
a 0
138O 140° 146O 153O
- 15'
+ 15'
7O 7O
7O 5O 45’ 5O 45’
P
* Sera remplacé par r min. 0,25 mm; r max. 0,36 mm.
Les dimensions indiquées sont des valeurs théoriques.
2.2 Vérification de la profondeur de pénétration de la jauge dans l’empreinte et dimensions de la jauge
employée pour l’empreinte type H
La profondeur de pénétration de la jauge est indiquée dans les diverses normes de produit (dimensions minimale et maximale). C’est la
dimension déterminante pour la conformité de l’empreinte cruciforme.
La pointe de la jauge est semblable à celle du tournevis correspondant. Un manchon sert à la guider et à déterminer la position du plan
de référence. Ce plan passe par le point d’intersection entre les ailes de l’empreinte et le dessus de la tête de la vis, ce qui correspond à
la surface d’une vis à tête plate. Dans le cas de vis à tête bombée, il se situe en-dessous du sommet, dans la zone d’intersection des
ailes de l’empreinte et de la surface de la tête. Pour ces types de vis, le plan de référence est défini à partir des surfaces d’appui du
manchon de la jauge.
La profondeur de pénétration de la jauge est mesurée à partir du plan de référence, à l’aide d’un comparateur à cadran. La position
zéro et la position de vérification de la jauge peuvent être défini
...
Norme internationale
INTERNATIONAL ORGANIZATION FOR STANDARDIZATIONWlEX.QYHAPOL1HAFl OPf-AHM3AUMR fl0 CTAHflAPTH3AUMl4.ORGANISATION INTERNATIONALE DE NORMALISATION
Empreintes cruciformes pour vis
Cross recesses for screws
Première édition - 1983-08-01
Réf. no : ISO 4757-1983 (FI
CDU 621 B82.215.6
f:
Y
élément de fixation, vis, vis à empreinte cruciforme, dimension.
Descripteurs :
Prix basé sur 9 pages
Avant-propos
L’ISO (Organisation internationale de normalisation) est une fédération mondiale
d’organismes nationaux de normalisation (comités membres de I’ISO). L’élaboration
des Normes internationales est confiée aux comités techniques de I’ISO. Chaque
comité membre intéressé par une étude a le droit de faire partie du comité technique
correspondant. Les organisations internationales, gouvernementales et non gouverne-
mentales, en liaison avec I’ISO, participent également aux travaux.
Les projets de Normes internationales adoptés par les comités techniques sont soumis
aux comités membres pour approbation, avant leur acceptation comme Normes inter-
nationales par le Conseil de I’ISO.
La Norme internationale ISO 4757 a été élaborée par le comité technique ISO/TC 2,
&ments de fixation, et a été soumise aux comités membres en décembre 1981.
Les comités membres des pays suivants l’ont approuvée:
Afrique du Sud, Rép. d’
Espagne Pays-Bas
Allemagne, R.F. Finlande Pologne
Autriche
France Roumanie
Belgique Hongrie Sri Lanka
Brésil
Inde Suède
Canada Irlande Suisse
Chine Italie Tchécoslovaquie
Corée, Rép. de Japon
URSS
Corée, Rép. dém. p. de Mexique USA
Danemark Norvège
Égypte, Rép. arabe d’ Nouvelle-Zélande
Le comité membre du pays suivant l’a désapprouvée pour des raisons techniques:
Royaume-Uni
@ Organisation internationale de normalisation, 1983 l
Imprimé en Suisse
NORME INTERNATIONALE ISO 47574983 (F)
Empreintes cruciformes pour vis
1 Objet et domaine d’application
La présente Norme internationale définit deux types d’empreintes cruciformes pour vis:
- l’empreinte type H;
- l’empreinte type Z.
Elle comporte une méthode de vérification de la profondeur de pénétration dans les deux cas.
ISO 4757-1983 (FI
2 Empreinte type H
2.1 Dimensions
B-B
ISO 4757-1983 (F)
Tableau 1 - Empreinte type H
Dimensions en millimètres
1 2 3
Empreinte no 0
l,47
0 0,61 0,97
b 2,41 3’4
- 0,03
0,79 - 0,84 1,98 - 2,03 2,39 - 294
e 0,26 - 0,36 0,41 - 0,46
5,08
1,27 2,29 3,81
g + oo,05 0,81
0,31 - 0,36 0,51 - 0,56 0,66 - 0,74 0,79 - 0,86 1,19 - l,27
f
03 1
0,3 0,5 03
r nom.
0,61 1,Ol 1,35
réf. 0,~ 0,34
*1
*
a 0
138O 140° 146O 153O
- 15'
+ 15'
7O 7O
7O 5O 45’ 5O 45’
P
* Sera remplacé par r min. 0,25 mm; r max. 0,36 mm.
Les dimensions indiquées sont des valeurs théoriques.
2.2 Vérification de la profondeur de pénétration de la jauge dans l’empreinte et dimensions de la jauge
employée pour l’empreinte type H
La profondeur de pénétration de la jauge est indiquée dans les diverses normes de produit (dimensions minimale et maximale). C’est la
dimension déterminante pour la conformité de l’empreinte cruciforme.
La pointe de la jauge est semblable à celle du tournevis correspondant. Un manchon sert à la guider et à déterminer la position du plan
de référence. Ce plan passe par le point d’intersection entre les ailes de l’empreinte et le dessus de la tête de la vis, ce qui correspond à
la surface d’une vis à tête plate. Dans le cas de vis à tête bombée, il se situe en-dessous du sommet, dans la zone d’intersection des
ailes de l’empreinte et de la surface de la tête. Pour ces types de vis, le plan de référence est défini à partir des surfaces d’appui du
manchon de la jauge.
La profondeur de pénétration de la jauge est mesurée à partir du plan de référence, à l’aide d’un comparateur à cadran. La position
zéro et la position de vérification de la jauge peuvent être défini
...


















Questions, Comments and Discussion
Ask us and Technical Secretary will try to provide an answer. You can facilitate discussion about the standard in here.
Loading comments...