ISO 9788:1990
(Main)Air cargo equipment — Cast components of double stud fitting assembly with a load capacity of 22 250 N (5 000 lbf), for aircraft cargo restraint
Air cargo equipment — Cast components of double stud fitting assembly with a load capacity of 22 250 N (5 000 lbf), for aircraft cargo restraint
Deals with the geometry and requirements for assemblies, when installed in rail conforming to ISO 7166. Other materials than those specified in 4.2 may alternatively be used, provided the performance and testing requirements of this standard are complied with. Includes definitions, certification and testing, designation and identification.
Équipement pour le fret aérien — Composants de fonderie d'une ferrure à pion double, de capacité de charge de 22 250 N (5 000 lbf), pour l'arrimage du fret dans les aéronefs
General Information
- Status
- Withdrawn
- Publication Date
- 12-Dec-1990
- Withdrawal Date
- 12-Dec-1990
- Technical Committee
- ISO/TC 20/SC 9 - Air cargo and ground equipment
- Drafting Committee
- ISO/TC 20/SC 9 - Air cargo and ground equipment
- Current Stage
- 9599 - Withdrawal of International Standard
- Start Date
- 01-Dec-2017
- Completion Date
- 12-Feb-2026
Relations
- Effective Date
- 30-Jan-2016
ISO 9788:1990 - Air cargo equipment -- Cast components of double stud fitting assembly with a load capacity of 22 250 N (5 000 lbf), for aircraft cargo restraint
ISO 9788:1990 - Équipement pour le fret aérien -- Composants de fonderie d'une ferrure a pion double, de capacité de charge de 22 250 N (5 000 lbf), pour l'arrimage du fret dans les aéronefs
ISO 9788:1990 - Équipement pour le fret aérien -- Composants de fonderie d'une ferrure a pion double, de capacité de charge de 22 250 N (5 000 lbf), pour l'arrimage du fret dans les aéronefs
Get Certified
Connect with accredited certification bodies for this standard

DEKRA North America
DEKRA certification services in North America.
Eagle Registrations Inc.
American certification body for aerospace and defense.

Element Materials Technology
Materials testing and product certification.
Sponsored listings
Frequently Asked Questions
ISO 9788:1990 is a standard published by the International Organization for Standardization (ISO). Its full title is "Air cargo equipment — Cast components of double stud fitting assembly with a load capacity of 22 250 N (5 000 lbf), for aircraft cargo restraint". This standard covers: Deals with the geometry and requirements for assemblies, when installed in rail conforming to ISO 7166. Other materials than those specified in 4.2 may alternatively be used, provided the performance and testing requirements of this standard are complied with. Includes definitions, certification and testing, designation and identification.
Deals with the geometry and requirements for assemblies, when installed in rail conforming to ISO 7166. Other materials than those specified in 4.2 may alternatively be used, provided the performance and testing requirements of this standard are complied with. Includes definitions, certification and testing, designation and identification.
ISO 9788:1990 is classified under the following ICS (International Classification for Standards) categories: 49.120 - Cargo equipment. The ICS classification helps identify the subject area and facilitates finding related standards.
ISO 9788:1990 has the following relationships with other standards: It is inter standard links to ISO 9788:2017. Understanding these relationships helps ensure you are using the most current and applicable version of the standard.
ISO 9788:1990 is available in PDF format for immediate download after purchase. The document can be added to your cart and obtained through the secure checkout process. Digital delivery ensures instant access to the complete standard document.
Standards Content (Sample)
INTERNATIONAL ISQ
STANDARD 9788
First edition
499Q-12-15
--
Air cargo equipment - Cast components of
double stud fitting assembly with a load
capacity of 22 250 N (5 000 Ibf), for aircraft cargo
restraint
Equipement pour Ie fret aerien - Composants de fonderie d’une ferrure 2 pion
double, de capacith de Charge de 22 250 N (5 000 Ibf), pour l’arrimage du fret dans
les aeronefs
Reference number
ISO 9788 : 1990 (E)
ISO 9788 : 1990 (El
Foreword
ISO (the International Organization for Standardization) is a worldwide federation of
national Standards bodies (ISO member bodies). The work of preparing International
Standards is normally carried out through ISO technical committees. Esch member
body interested in a subject for which a technical committee has been established has
the right to be represented on that committee. International organizations, govern-
mental and non-governmental, in liaison with ISO, also take part in the work. ISO
collaborates closely with the International Electrotechnical Commission (IEC) on all
matters of electrotechnical standardization.
Draft International Standards adopted by the technical committees are circulated to
the member bodies for approval before their acceptance as International Standards by
the ISO Council. They are approved in accordance with ISO procedures requiring at
least 75 % approval by the member bodies voting.
International Standard ISO 9788 was prepared by Technical Committee ISO/TC 20,
Aircraft and space vehicles.
0 ISO 1990
All rights reserved. No part of this publication may be reproduced or utilized in any form or by any
means, electronie or mechanical, including photocopying and microfilm, without Permission in
writing from the publisher.
International Organization for Standardization
Case postale 56 l CH-1211 Geneve 20 l Switzerland
Printed in Switzerland
ISO 9788 : 1990 (E)
INTERNATIONAL STANDARD
Air cargo equipme
fitting assembly
arg0 restraint
for aircraft
1 S 0 6892 : 1984, Metallic ma terials - Tensile testing.
1 Scope
ISO 7166 : 1985, Aircraft - Rail and stud configuration for
1 .l This International Standard specifies the geometry and
passenger equipmen t and cargo restraint.
requirements for the cast components of a double stud fitting
assembly, having a load capacity of 22 250 N (5 000 Ibf), when
F.A.R. 25.621 (d), Federal Aviation Regulation Part 25, casting
installed in rail conforming to ISO 7166.
fac tors, non- critical cas tings. 1)
1.2 Other materials than those specified in 4.2 may alterna-
J . A. R . 25.621, Joint Airworthiness Regulation Part 25, casting
tively be used, provided the Performance and testing re-
fac tors. 2)
quirements of this International Standard are complied with.
3 Definitions
2 Normative references
For the purposes of this International Standard, the following
The following Standards contain provisions which, through
definitions apply.
reference in this text, constitute provisions of this International
Standard. At the time of publication, the editions indicated
3.1 casting : Part shaped by solidification of molten metal in
were valid. All Standards are subject to revision, and Parties to
a mould.
agreements based on this International Standard are encour-
aged to investigate the possibility of applying the most recent
editions of the Standards indicated below. Members of IEC and
rough casting : Casting which has not been machined or
3.2
ISO maintain registers of currently valid International Stan-
not yet been finished.
dards.
ISO 2859-1 : 1989, Sampling procedures for inspection by
4 Technical requirements
attributes - Part 7: Sampling Plans indexed b y acceptable
quality level fAQL/ for lot-by-lot inspection.
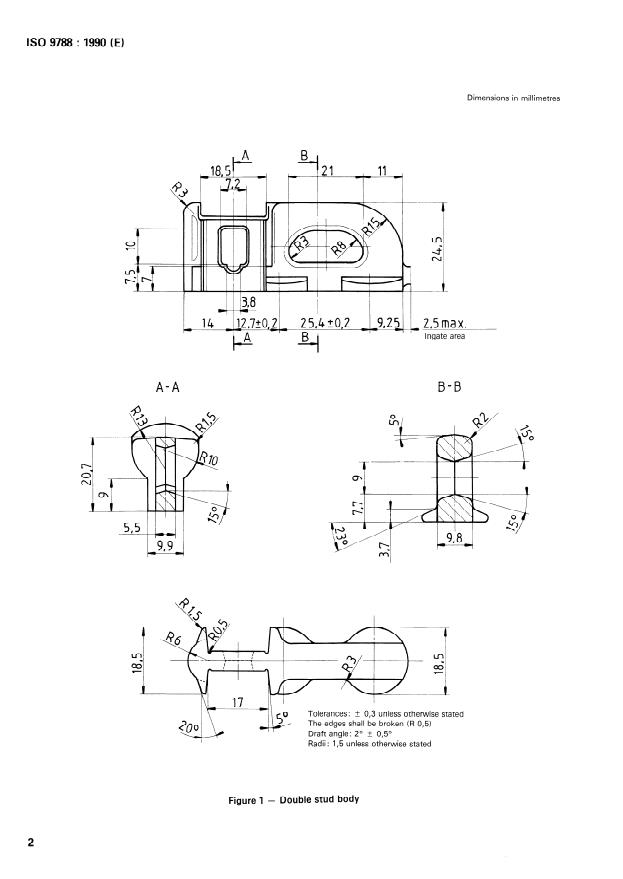
4.1 Configuration
ISO 3951 : 1989, Sampling procedures and Charts for inspec-
The configuration shall comply with figures 1 to 3. Only maxi-
tion b y variables for percent noncon forming.
mum envelope dimensions and those affecting inter-
changeability are imposed.
The minimum dimensions are
ISO 5922 : 1981, Malleable cast iron.
limited by the strength requirements.
1) Obtainable from:
Superintendent of documents, US-Government Printing Office, Washington, DC 20402.
2) Obtainable from:
Civil Aviation Authority, Printing and publication Services, Greville House, 37 Gratton Road, Cheltenham, Glas. GL50 2BN, United Kingdom,
ISO 9788 : 1990 (E)
Dimensions in millimetres
A Es-
1% 5 - ,&
\d 9 F m7 72 8
2,5 ma x.
r lk ~2.7+0,2_25.4+0,2-9.2 .~~.~
Ingate area
B
A
l--
-4
B-B
A-A
Tolerantes: AI 0,3 unless otherwise stated
The edges shall be broken (R 0,5)
4-P
Draft angle: 2’ + 0,5O
Radii: 1,5 unless otherwise stated
Double stud body
Figure 1 -
ISO 9788 : 1990 (El
Dimensions in millimetres
1S max. J
Ingate area
Tolerantes: & 0,3 unless otherwise stated
The edges shall be broken (R 0,5)
Draft angle: 2’ * 0,5O
Radii: 1,5 unless otherwis
...
NORME ISO
INTERNATIONALE 9788
Première édition
1990-12-E
Équipement pour le fret aérien - Composants
de fonderie d’une ferrure à pion double, de
capacité de charge de 22 250 N (5 000 Ibf), pour
l’arrimage du fret dans les aéronefs
Air cargo equipment - Cast components of double stud fitting assembly with a
load capacity of 22 250 N (5 000 Ibf), for aircraft cargo restraint
Numéro de référence
ISO 9788 : 1990 (FI
ISO 9788 : 1990 (FI
Avant-propos
L’ISO (Organisation internationale de normalisation) est une fédération mondiale
d’organismes nationaux de normalisation (comités membres de I’ISO). L’élaboration
des Normes internationales est en général confiée aux comités techniques de I’ISO.
Chaque comité membre intéressé par une étude a le droit de faire partie du comité
technique créé à cet effet. Les organisations internationales, gouvernementales et non
gouvernementales, en liaison avec I’ISO participent également aux travaux. L’ISO col-
labore étroitement avec la Commission électrotechnique internationale (CEI) en ce qui
concerne la normalisation électrotechnique.
Les projets de Normes internationales adoptés par les comités techniques sont soumis
aux comités membres pour approbation, avant leur acceptation comme Normes inter-
nationales par le Conseil de I’ISO. Les Normes internationales sont approuvées confor-
mément aux procédures de I’ISO qui requièrent l’approbation de 75 % au moins des
comités membres votants.
La Norme internationale ISO 9788 a été élaborée par le comité technique ISO/TC 20,
Aéronautique et espace.
0 ISO 1990
Droits de reproduction réservés. Aucune partie de cette publication ne peut être reproduite ni
utilisée sous quelque forme que ce soit et par aucun procédé, électronique ou mécanique,
y compris la photocopie et les microfilms, sans l’accord écrit de l’éditeur.
Organisation internationale de normalisation
Case postale 56 l CH-1211 Genève 20 l Suisse
Imprimé en Suisse
ISO 9788 : 1990 (FI
NORME INTERNATIONALE
Équipement pour le fret aérien - Composants de fonderie
d’une ferrure à pion double, de capacité de charge de
22 250 N (5 000 Ibf), pour l’arrimage du fret dans les
aéronefs
ISO 7166 : 1985, Aéronefs - Fixation par rails et tétons des
1 Domaine d’application
sièges de passagers et du fret.
1 .l La présente Norme internationale prescrit la géométrie et
les caractéristiques des composants de fonderie d’une ferrure à
F.A. R. 25.621 (d), Federal Aviation Regulation Part 25, casting
pion double, d’une capacité de charge de 22 250 N (5 000 Ibf),
factors, non-critical castings. [Facteurs de moulage, pièces
installée sur des rails conformes à I’ISO 7166.
moulées non critiques.] 1)
1.2 D’autres matériaux que ceux prescrits en 4.2 peuvent être
J . A. R . 25.621, Joint Aikvvorthiness Regula tion Part 25, casting
utilisés en variante si leurs caractéristiques et leurs résultats
factors. [Facteurs de moulage.] 2)
d’essai sont conformes aux exigences de la présente Norme
internationale.
3 Définitions
2 Références normatives
Pour les besoins de la présente Norme internationale, les défini-
Les normes suivantes contiennent des dispositions qui, par
tions suivantes s’appliquent.
suite de la référence qui en est faite, constituent des disposi-
tions valables pour la présente Norme internationale. Au
moment de la publication, les éditions indiquées étaient en 3.1 pièce moulée; pièce de fonderie: Pièce obtenue par
solidification du métal fondu dans un moule.
vigueur. Toute norme est sujette à révision et les parties pre-
nantes des accords fondés sur la présente Norme internationale
sont invitées à rechercher la possibilité d’appliquer les éditions
3.2 pièce brute de fonderie: Pièce qui n’a pas été usinée ou
les plus récentes des normes indiquées ci-après. Les membres
n’est pas encore finie.
de la CEI et de I’ISO possèdent le registre des Normes interna-
tionales en vigueur à un moment donné.
ISO 2859-l : 1989, Règles d’échantillonnage pour les contrôles
4 Caractéristiques techniques
par attributs - Partie 7: Plans d’échantillonnage pour les con-
trôles lot par lot, indexés d’après le niveau de qualité acceptable
(NCW.
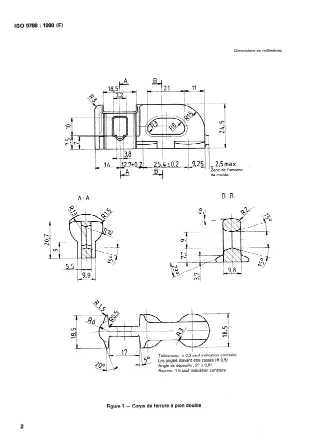
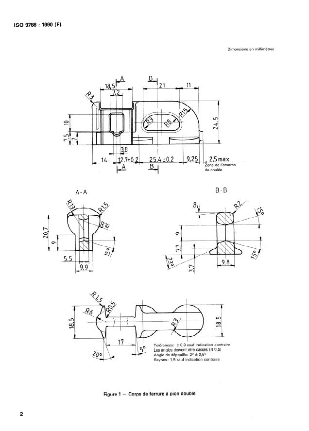
4.1 Configuration
ISO 3951 : 1989, Règles et tables d’échantillonnage pour les
La configuration doit être conforme aux indications des figures
contrôles par mesures des pourcentages de non conformes.
1 à 3. Seules les dimensions maximales d’enveloppe et les
dimensions affectant I’interchangeabilité sont imposées. Les
I SO 5922 : 1981, Fonte malléable.
dimensions minimales sont imposées par les conditions de
résistance.
ISO 6892 : 1984, Matériaux métalliques - Essai de traction.
1) Peut être obtenu auprès de:
Superintendent of documents, US-Government Printing Office, Washington, DC 20402.
2) Peut être obtenu auprès de:
Civil Aviation Authority, Printing and publication services, Greville House, 37 Gratton Road, Cheltenham, Glos. GL50 2BN, United Kingdom.
~so 9788 : 1990 0
Dimensions en millimètres
m
-c
1 2=i
(v
m
f
i i Il
ze9,25_- 2.5 max.
- 14 &7+0,~
Zone de l’amorce
B
A
de coulée
l-
-i
B-B
A-A
---_--
Tolérances: + 0,3 sauf indication contraire
Les angles doivent être cassés (R 0,5)
Angle de dépouiI/e: 2O +O 5’
Rayons : 1,5 sauf indicatio; contraire
Corps de ferrure à pion double
Figure 1 -
SO 9788 : 1990 (FI
Dimensions en millimètres
Q%
\
LS max. W-e
Tolérances: I!I 0,3 sauf indication contraire
Zone de l’amorce de coulée
Les angles doivent être cassés (R 0,5)
Angle de dépouille : 2O + O,5O
Rayons : 1,5 sauf indication
...
NORME ISO
INTERNATIONALE 9788
Première édition
1990-12-E
Équipement pour le fret aérien - Composants
de fonderie d’une ferrure à pion double, de
capacité de charge de 22 250 N (5 000 Ibf), pour
l’arrimage du fret dans les aéronefs
Air cargo equipment - Cast components of double stud fitting assembly with a
load capacity of 22 250 N (5 000 Ibf), for aircraft cargo restraint
Numéro de référence
ISO 9788 : 1990 (FI
ISO 9788 : 1990 (FI
Avant-propos
L’ISO (Organisation internationale de normalisation) est une fédération mondiale
d’organismes nationaux de normalisation (comités membres de I’ISO). L’élaboration
des Normes internationales est en général confiée aux comités techniques de I’ISO.
Chaque comité membre intéressé par une étude a le droit de faire partie du comité
technique créé à cet effet. Les organisations internationales, gouvernementales et non
gouvernementales, en liaison avec I’ISO participent également aux travaux. L’ISO col-
labore étroitement avec la Commission électrotechnique internationale (CEI) en ce qui
concerne la normalisation électrotechnique.
Les projets de Normes internationales adoptés par les comités techniques sont soumis
aux comités membres pour approbation, avant leur acceptation comme Normes inter-
nationales par le Conseil de I’ISO. Les Normes internationales sont approuvées confor-
mément aux procédures de I’ISO qui requièrent l’approbation de 75 % au moins des
comités membres votants.
La Norme internationale ISO 9788 a été élaborée par le comité technique ISO/TC 20,
Aéronautique et espace.
0 ISO 1990
Droits de reproduction réservés. Aucune partie de cette publication ne peut être reproduite ni
utilisée sous quelque forme que ce soit et par aucun procédé, électronique ou mécanique,
y compris la photocopie et les microfilms, sans l’accord écrit de l’éditeur.
Organisation internationale de normalisation
Case postale 56 l CH-1211 Genève 20 l Suisse
Imprimé en Suisse
ISO 9788 : 1990 (FI
NORME INTERNATIONALE
Équipement pour le fret aérien - Composants de fonderie
d’une ferrure à pion double, de capacité de charge de
22 250 N (5 000 Ibf), pour l’arrimage du fret dans les
aéronefs
ISO 7166 : 1985, Aéronefs - Fixation par rails et tétons des
1 Domaine d’application
sièges de passagers et du fret.
1 .l La présente Norme internationale prescrit la géométrie et
les caractéristiques des composants de fonderie d’une ferrure à
F.A. R. 25.621 (d), Federal Aviation Regulation Part 25, casting
pion double, d’une capacité de charge de 22 250 N (5 000 Ibf),
factors, non-critical castings. [Facteurs de moulage, pièces
installée sur des rails conformes à I’ISO 7166.
moulées non critiques.] 1)
1.2 D’autres matériaux que ceux prescrits en 4.2 peuvent être
J . A. R . 25.621, Joint Aikvvorthiness Regula tion Part 25, casting
utilisés en variante si leurs caractéristiques et leurs résultats
factors. [Facteurs de moulage.] 2)
d’essai sont conformes aux exigences de la présente Norme
internationale.
3 Définitions
2 Références normatives
Pour les besoins de la présente Norme internationale, les défini-
Les normes suivantes contiennent des dispositions qui, par
tions suivantes s’appliquent.
suite de la référence qui en est faite, constituent des disposi-
tions valables pour la présente Norme internationale. Au
moment de la publication, les éditions indiquées étaient en 3.1 pièce moulée; pièce de fonderie: Pièce obtenue par
solidification du métal fondu dans un moule.
vigueur. Toute norme est sujette à révision et les parties pre-
nantes des accords fondés sur la présente Norme internationale
sont invitées à rechercher la possibilité d’appliquer les éditions
3.2 pièce brute de fonderie: Pièce qui n’a pas été usinée ou
les plus récentes des normes indiquées ci-après. Les membres
n’est pas encore finie.
de la CEI et de I’ISO possèdent le registre des Normes interna-
tionales en vigueur à un moment donné.
ISO 2859-l : 1989, Règles d’échantillonnage pour les contrôles
4 Caractéristiques techniques
par attributs - Partie 7: Plans d’échantillonnage pour les con-
trôles lot par lot, indexés d’après le niveau de qualité acceptable
(NCW.
4.1 Configuration
ISO 3951 : 1989, Règles et tables d’échantillonnage pour les
La configuration doit être conforme aux indications des figures
contrôles par mesures des pourcentages de non conformes.
1 à 3. Seules les dimensions maximales d’enveloppe et les
dimensions affectant I’interchangeabilité sont imposées. Les
I SO 5922 : 1981, Fonte malléable.
dimensions minimales sont imposées par les conditions de
résistance.
ISO 6892 : 1984, Matériaux métalliques - Essai de traction.
1) Peut être obtenu auprès de:
Superintendent of documents, US-Government Printing Office, Washington, DC 20402.
2) Peut être obtenu auprès de:
Civil Aviation Authority, Printing and publication services, Greville House, 37 Gratton Road, Cheltenham, Glos. GL50 2BN, United Kingdom.
~so 9788 : 1990 0
Dimensions en millimètres
m
-c
1 2=i
(v
m
f
i i Il
ze9,25_- 2.5 max.
- 14 &7+0,~
Zone de l’amorce
B
A
de coulée
l-
-i
B-B
A-A
---_--
Tolérances: + 0,3 sauf indication contraire
Les angles doivent être cassés (R 0,5)
Angle de dépouiI/e: 2O +O 5’
Rayons : 1,5 sauf indicatio; contraire
Corps de ferrure à pion double
Figure 1 -
SO 9788 : 1990 (FI
Dimensions en millimètres
Q%
\
LS max. W-e
Tolérances: I!I 0,3 sauf indication contraire
Zone de l’amorce de coulée
Les angles doivent être cassés (R 0,5)
Angle de dépouille : 2O + O,5O
Rayons : 1,5 sauf indication
...












Questions, Comments and Discussion
Ask us and Technical Secretary will try to provide an answer. You can facilitate discussion about the standard in here.
Loading comments...